Запчасти Komatsu D21A-7 КОНДИЦ. ВОЗДУХА (БЛОК КОНДИЦИОНЕРА КРЕПЛЕНИЕ) (/) ЧАСТИ КОРПУСА

Схема запчастей Komatsu D21A-7 - КОНДИЦ. ВОЗДУХА (БЛОК КОНДИЦИОНЕРА КРЕПЛЕНИЕ) (/) ЧАСТИ КОРПУСА
FIT
1:1
100%

Артикул

Название

Примечание

Количество

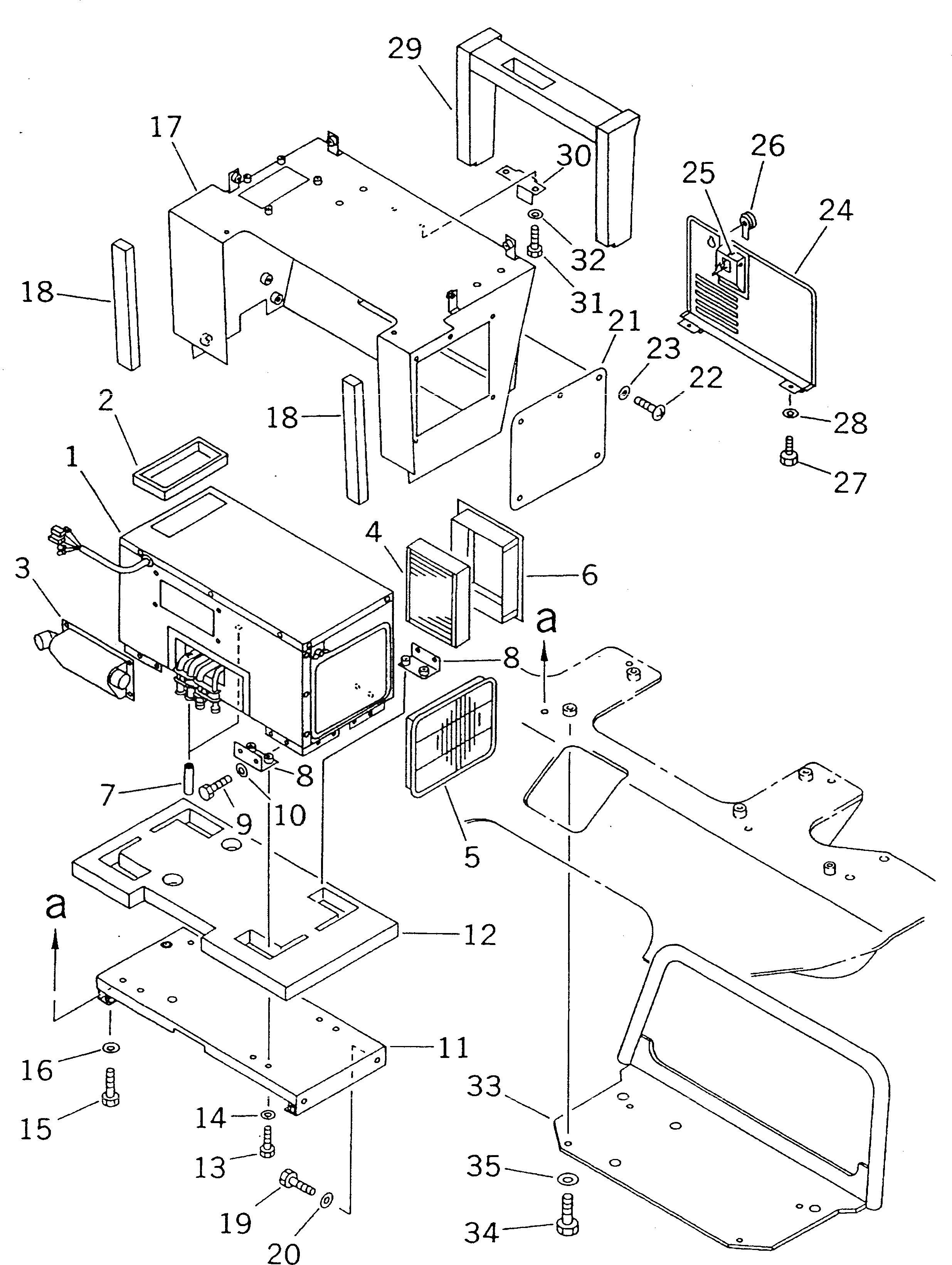
1

104-Y11-4310

AIR CONDITIONER UNIT

SN: 78604-UP

1шт.

|1

114-X11-3610

AIR CONDITIONER UNIT

SN: 75001-78603

1шт.

2

114-X11-3420

SEAL

SN: 75001-UP

1шт.

3

104-Y11-3170

DUCT

SN: 75001-UP

1шт.

4

114-X11-3840

FILTER

SN: 75001-UP

1шт.

5

114-X11-3850

FILTER

SN: 75001-UP

1шт.

6

114-X11-3860

CASE

SN: 75001-UP

1шт.

7

114-X11-3670

HOSE

SN: 75001-UP

2шт.

8

114-X11-3260

BRACKET

SN: 75001-UP

4шт.

9

01010-50816

BOLT

SN: 75001-UP

8шт.

10

01643-30823

WASHER

SN: 75001-UP

8шт.

11

114-X11-3250

FRAME

SN: 75001-UP

1шт.

12

114-X11-3410

SEAL

SN: 75001-UP

1шт.

13

01010-50816

BOLT

SN: 75001-UP

8шт.

14

01643-30823

WASHER

SN: 75001-UP

8шт.

15

01010-51030

BOLT

SN: 75001-UP

4шт.

16

01643-31032

WASHER

SN: 75001-UP

4шт.

17

114-X11-3241

COVER

SN: 78604-UP

1шт.

|17

114-X11-3240

COVER

SN: 75001-78603

1шт.

18

104-Y11-3140

SEAL

SN: 75001-UP

2шт.

19

01010-51020

BOLT

SN: 75001-UP

4шт.

20

01643-31032

WASHER

SN: 75001-UP

4шт.

21

114-X11-3820

COVER

SN: 75001-UP

1шт.

22

01220-40616

SCREW

SN: 75001-UP

5шт.

23

01641-20608

WASHER

SN: 75001-UP

5шт.

24

114-X11-3881

COVER

SN: 78604-UP

1шт.

|24

114-X11-3880

COVER

SN: 75001-78603

1шт.

25

09461-00020

LEVER ASS'Y (WELDED)

SN: 75001-UP

1шт.

26

205-60-71220

LOCK ASS'Y

SN: 75001-UP

1шт.

27

01010-50616

BOLT

SN: 75001-UP

2шт.

28

01643-30623

WASHER

SN: 75001-UP

2шт.

29

114-X11-3381

SEAL

SN: 78604-UP

1шт.

|29

114-X11-3380

SEAL

SN: 75001-78603

1шт.

30

114-X11-3830

PLATE

SN: 75001-UP

1шт.

31

01010-51020

BOLT

SN: 75001-UP

2шт.

32

01643-31032

WASHER

SN: 75001-UP

2шт.

33

114-X11-1350

BRACKET

SN: 75001-UP

1шт.

34

01010-51445

BOLT

SN: 75001-UP

4шт.

35

01643-31445

WASHER

SN: 75001-UP

4шт.

Выбрано товаров: 0