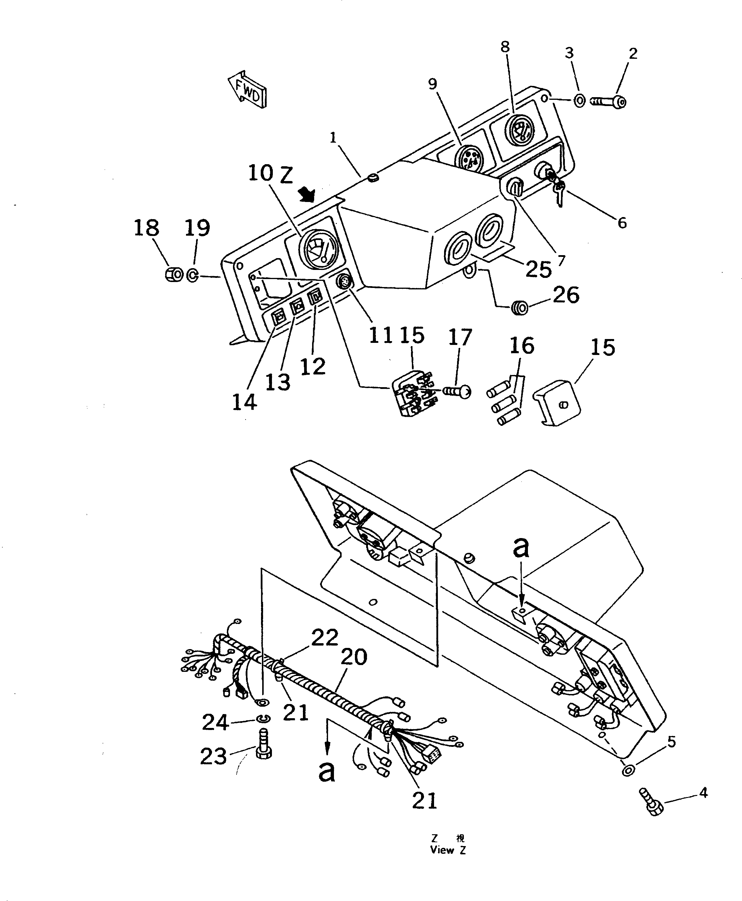
Запчасти Komatsu D21A-7 ПАНЕЛЬ ПРИБОРОВ (ДЛЯ TWO РЫЧАГИ РУЛЕВ. УПРАВЛЕНИЕ) КОМПОНЕНТЫ ДВИГАТЕЛЯ И ЭЛЕКТРИКА

Схема запчастей Komatsu D21A-7 - ПАНЕЛЬ ПРИБОРОВ (ДЛЯ TWO РЫЧАГИ РУЛЕВ. УПРАВЛЕНИЕ) КОМПОНЕНТЫ ДВИГАТЕЛЯ И ЭЛЕКТРИКА
FIT
1:1
100%

Артикул

Название

Примечание

Количество

1

104-06-32920

PANEL

SN: 75001-78603

1шт.

2

23S-06-14990

SCREW

SN: 75001-@

2шт.

3

362-06-21140

WASHER

SN: 75001-@

2шт.

4

01010-51035

BOLT

SN: 75001-@

3шт.

5

01643-31032

WASHER

SN: 75001-@

3шт.

6

08086-20000

SWITCH,STARTING

SN: 75001-@

1шт.

7

114-06-42310

SWITCH,LAMP

SN: 75001-@

1шт.

8

103-06-32280

GAUGE,WATER TEMPERATURE

SN: 75001-78603

1шт.

|8

08111-12430

BULB¤ 3W

SN: 75001-78603

1шт.

9

08687-22403

METER,SERVICE

SN: 75001-78603

1шт.

10

08652-10000

GAUGE,FUEL

SN: 78295-78603

1шт.

|10

0

GAUGE,FUEL

SN: 75001-78294

1шт.

|10

08111-12430

BULB¤ 3W

SN: 75001-78603

1шт.

11

600-815-1361

SIGNAL,GLOW

SN: 75001-78603

1шт.

12

120-06-42110

LAMP¤ INDICATOR,AIR CLEANER DUST

SN: 75001-78603

1шт.

|12

08111-12430

BULB¤ 3W

SN: 75001-78603

1шт.

13

103-06-32250

LAMP¤ INDICATOR,ENGINE OIL PRESSURE

SN: 75001-78603

1шт.

|13

08111-12430

BULB¤ 3W

SN: 75001-78603

1шт.

14

103-06-32240

LAMP¤ INDICATOR,CHARGE

SN: 75001-78603

1шт.

|14

08111-12430

BULB¤ 3W

SN: 75001-78603

1шт.

15

08043-14000

BOX,FUSE

SN: 78295-78603

1шт.

|15

08043-04000

BOX,FUSE

SN: 75001-78294

1шт.

16

08040-01000

FUSE¤ 10A

SN: 75001-78603

2шт.

|16

08040-02000

FUSE¤ 20A

SN: 75001-78603

1шт.

|16

08040-03000

FUSE¤ 30A

SN: 75001-78603

1шт.

17

01220-40520

SCREW

SN: 75001-78603

2шт.

18

01580-10504

NUT

SN: 75001-78603

2шт.

19

01601-20513

WASHER,SPRING

SN: 75001-78603

2шт.

20

104-06-32910

WIRE ASS'Y

SN: 75001-78603

1шт.

21

203-06-56510

CLIP

SN: 75001-@

2шт.

22

08034-00310

BAND

SN: 75001-@

2шт.

23

01010-51020

BOLT

SN: 75001-@

1шт.

24

01602-21030

WASHER,SPRING

SN: 75001-@

1шт.

25

130-54-61270

GUIDE

SN: 75001-@

2шт.

26

08037-01008

GROMMET

SN: 75001-@

1шт.

Выбрано товаров: 35