Запчасти Komatsu D21A-7T-M СИДЕНЬЕ ОПЕРАТОРА (С МАСЛ. ДЕМПФЕР) КАБИНА ОПЕРАТОРА И СИСТЕМА УПРАВЛЕНИЯ

Схема запчастей Komatsu D21A-7T-M - СИДЕНЬЕ ОПЕРАТОРА (С МАСЛ. ДЕМПФЕР) КАБИНА ОПЕРАТОРА И СИСТЕМА УПРАВЛЕНИЯ
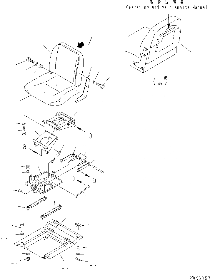
1
1
2
3
4
5
5
6
6
7
8
9
10
11
12
13
14
15
16
17
18
18
19
20
21
22
23
24
25
26
27
28
29
30
FIT
1:1
100%

Артикул

Название

Примечание

Количество

1

120-57-31252

CUSHION,BACK

SN: 78604-UP

1шт.

2

120-57-31461

PLATE

SN: 78604-UP

1шт.

3

120-57-31322

CUSHION,SEAT

SN: 78604-UP

1шт.

4

120-57-31241

SPACER

SN: 78604-UP

1шт.

5

01010-81020

BOLT

SN: 78604-UP

5шт.

6

01602-21030

WASHER

SN: 78604-UP

5шт.

|7

103-57-39130

SUSPENSION ASS'Y

SN: 78604-UP

1шт.

7

0

LINK

SN: 78604-UP

1шт.

8

0

GUIDE

SN: 78604-UP

2шт.

9

0

LINK

SN: 78604-UP

1шт.

10

0

BASE

SN: 78604-UP

1шт.

11

01580-11210

NUT

SN: 78604-UP

4шт.

12

01602-21236

WASHER,SPRING

SN: 78604-UP

4шт.

13

09304-00835

KNOB

SN: 78604-UP

1шт.

14

0

BRACKET

SN: 78604-UP

1шт.

15

0

BRACKET

SN: 78604-UP

1шт.

16

0

LINK

SN: 78604-UP

2шт.

17

120-57-31411

DAMPER,OIL

SN: 78604-UP

1шт.

18

155-57-12150

ADJUSTER

SN: 78604-UP

2шт.

19

01010-81020

BOLT

SN: 78604-UP

4шт.

20

01602-21030

WASHER

SN: 78604-UP

4шт.

21

103-57-31164

PLATE

SN: 78604-UP

1шт.

22

113-54-24190

HINGE (WELDED)

SN: 78604-UP

2шт.

23

09459-11033

LOCK

SN: 78604-UP

1шт.

24

09459-01614

SPRING

SN: 78604-UP

1шт.

25

01642-01016

WASHER

SN: 78604-UP

1шт.

26

04050-13015

PIN,COTTER

SN: 78604-UP

1шт.

27

01580-11210

NUT

SN: 78604-UP

4шт.

28

01643-31232

WASHER

SN: 78604-UP

4шт.

29

01010-81025

BOLT

SN: 78604-UP

4шт.

30

01643-31032

WASHER

SN: 78604-UP

4шт.

Выбрано товаров: 31