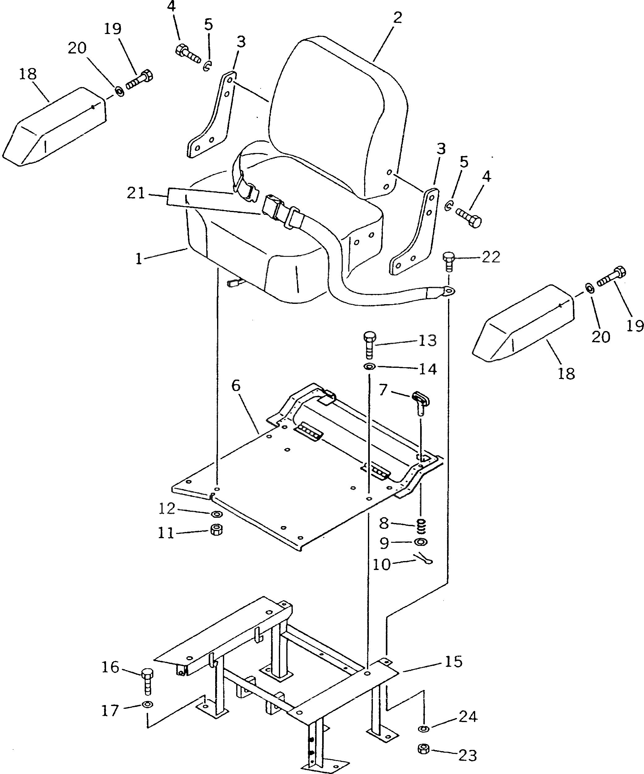
Запчасти Komatsu D21A-7T СИДЕНЬЕ ОПЕРАТОРА(№7-7) ЧАСТИ КОРПУСА

Схема запчастей Komatsu D21A-7T - СИДЕНЬЕ ОПЕРАТОРА(№7-7) ЧАСТИ КОРПУСА
FIT
1:1
100%

Артикул

Название

Примечание

Количество

1

103-57-31310

CUSHION,SEAT

SN: 75001-76515

1шт.

2

103-57-31320

CUSHION,BACK

SN: 75001-76515

1шт.

3

09403-00090

PLATE

SN: 75001-76515

2шт.

4

01010-51020

BOLT

SN: 75001-76515

8шт.

5

01602-21030

WASHER,SPRING

SN: 75001-76515

8шт.

6

103-57-31114

PLATE

SN: 75001-@

1шт.

6

113-54-24190

HINGE (WELDED)

SN: 75001-@

2шт.

7

09459-11033

LOCK

SN: 75001-@

1шт.

8

09459-01614

SPRING

SN: 75001-@

1шт.

9

01642-01016

WASHER

SN: 75001-@

1шт.

10

04050-13015

PIN,COTTER

SN: 75001-@

1шт.

11

01580-11210

NUT

SN: 75001-@

4шт.

12

01643-31232

WASHER

SN: 75001-76515

4шт.

13

01010-51025

BOLT

SN: 75001-@

4шт.

14

01643-31032

WASHER

SN: 75001-@

4шт.

15

104-57-38110

FRAME

SN: 75001-@

1шт.

16

01010-51440

BOLT

SN: 75001-@

4шт.

17

01643-31445

WASHER,SPRING

SN: 75001-@

4шт.

18

114-57-41140

REST,ARM

SN: 75001-@

2шт.

19

01010-51020

BOLT

SN: 75001-@

2шт.

20

01643-31032

WASHER

SN: 75001-@

2шт.

21

09409-10001

BELT, LAP

SN: 75001-@

1шт.

22

09409-00001

BOLT

SN: 75001-@

2шт.

23

09409-00003

NUT

SN: 75001-@

2шт.

24

09409-00002

WASHER,SPRING

SN: 75001-@

2шт.

Выбрано товаров: 0