Запчасти Komatsu D21A-7T РАДИАТОР GUARO И КАПОТ ЧАСТИ КОРПУСА

Схема запчастей Komatsu D21A-7T - РАДИАТОР GUARO И КАПОТ ЧАСТИ КОРПУСА
FIT
1:1
100%

Артикул

Название

Примечание

Количество

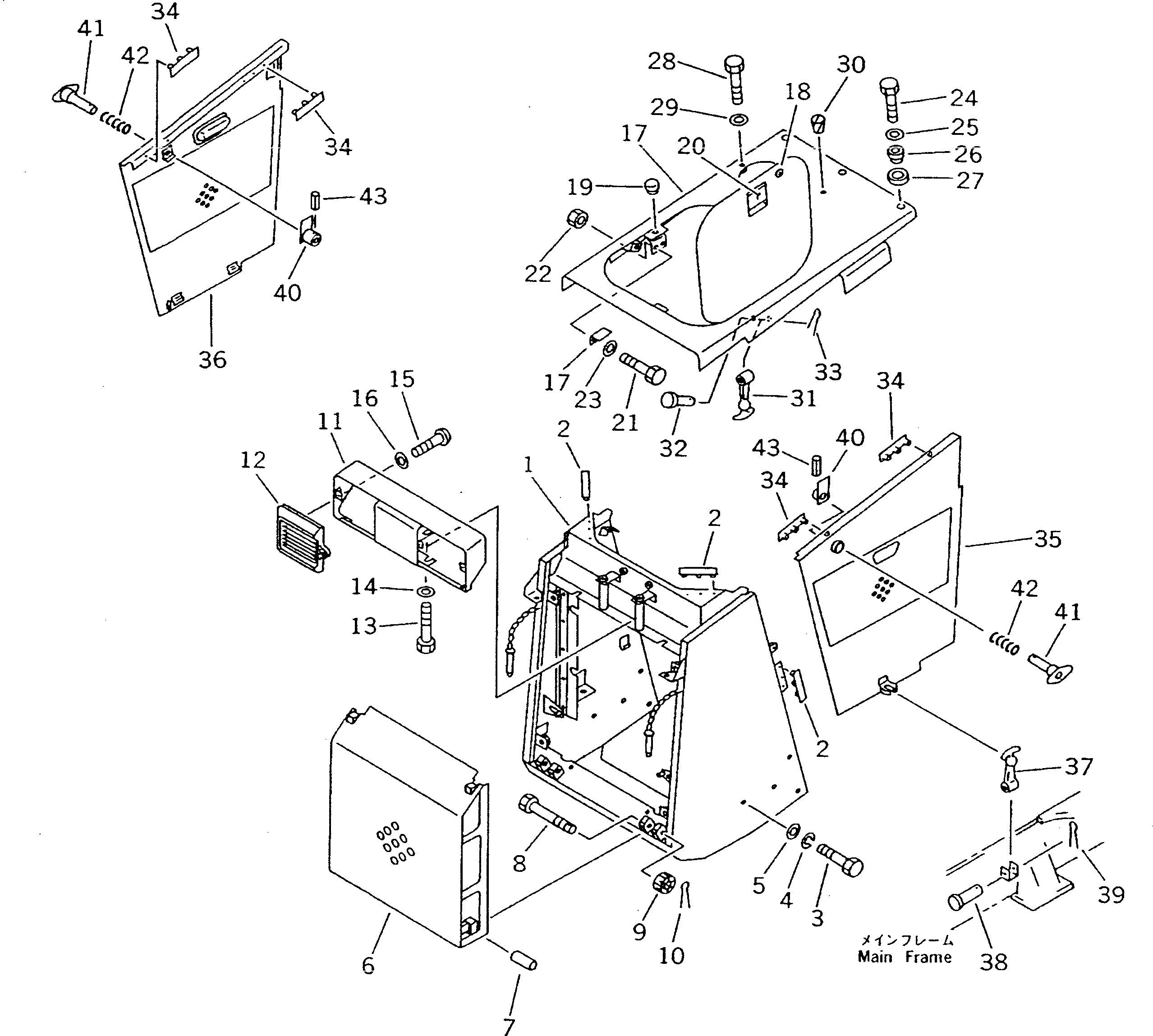
1

104-54-49130

GUARD,RADIATOR

SN: 78604-UP

1шт.

|1

104-54-39210

GUARD,RADIATOR

SN: 75001-78603

1шт.

2

114-54-41250

SHEET

SN: 75001-UP

4шт.

3

01010-51230

BOLT

SN: 75001-UP

8шт.

4

01602-21236

WASHER,SPRING

SN: 75001-UP

8шт.

5

01643-31232

WASHER

SN: 75001-UP

8шт.

6

101-Y16-3742

GRILLE,LOWER

SN: 75001-UP

1шт.

7

10G-Z16-3620

BUSH

SN: 75001-UP

2шт.

8

10G-Z16-3610

BOLT

SN: 75001-UP

2шт.

9

01590-31012

NUT

SN: 75001-UP

2шт.

10

04050-02018

PIN,COTTER

SN: 75001-UP

2шт.

11

104-54-31270

COVER

SN: 75001-UP

1шт.

12

114-54-41291

COVER

SN: 75001-UP

2шт.

13

01011-51020

BOLT

SN: 75001-UP

2шт.

14

01643-31032

WASHER

SN: 75001-UP

2шт.

15

01220-40616

SCREW

SN: 75001-UP

4шт.

16

01643-30623

WASHER

SN: 75001-UP

4шт.

17

104-Y16-4140

HOOD

SN: 78604-UP

1шт.

|17

10G-Y16-3420

HOOD

SN: 75001-78603

1шт.

18

205-60-71220

LOCK ASS'Y

SN: 75001-UP

1шт.

19

203-54-32260

STOPPER

SN: 75001-UP

1шт.

20

09461-00020

LEVER ASS'Y (WELDED)

SN: 75001-UP

1шт.

21

01010-51025

BOLT

SN: 75001-UP

2шт.

22

01580-01008

NUT

SN: 75001-UP

2шт.

23

01643-31032

WASHER

SN: 75001-UP

2шт.

24

01010-51025

BOLT

SN: 75001-UP

3шт.

25

01643-31032

WASHER

SN: 75001-UP

3шт.

26

113-54-31340

COLLAR

SN: 75001-UP

3шт.

27

113-54-31350

SEAT

SN: 75001-UP

3шт.

28

01010-51020

BOLT

SN: 75001-UP

4шт.

29

01643-31032

WASHER

SN: 75001-UP

4шт.

30

07049-01215

PLUG

SN: 78604-UP

2шт.

|30

07049-01025

PLUG

SN: 75001-78603

2шт.

31

09450-00000

CATCH

SN: 75001-UP

2шт.

32

09450-00002

PIN

SN: 75001-UP

2шт.

33

04050-11610

PIN,COTTER

SN: 75001-UP

2шт.

34

114-54-41250

SHEET

SN: 75001-UP

4шт.

35

10G-Y16-4230

COVER,L.H.

SN: 78604-UP

1шт.

|35

10G-Y16-3430

COVER ASS'Y,L.H.

SN: 75001-78603

1шт.

36

10G-Y16-4240

COVER ASS'Y,R.H.

SN: 78604-UP

1шт.

|36

10G-Y16-3440

COVER ASS'Y,R.H.

SN: 75001-78603

1шт.

37

09450-00000

CATCH

SN: 75001-UP

2шт.

38

09450-00002

PIN

SN: 75001-UP

2шт.

39

04050-11610

PIN,COTTER

SN: 75001-UP

2шт.

40

11G-Z16-3140

PLATE

SN: 75001-UP

2шт.

41

11G-Z16-3130

HANDLE

SN: 75001-UP

2шт.

42

144-854-1910

SPRING

SN: 75001-UP

2шт.

43

04025-00524

PIN

SN: 75001-UP

2шт.

Выбрано товаров: 48