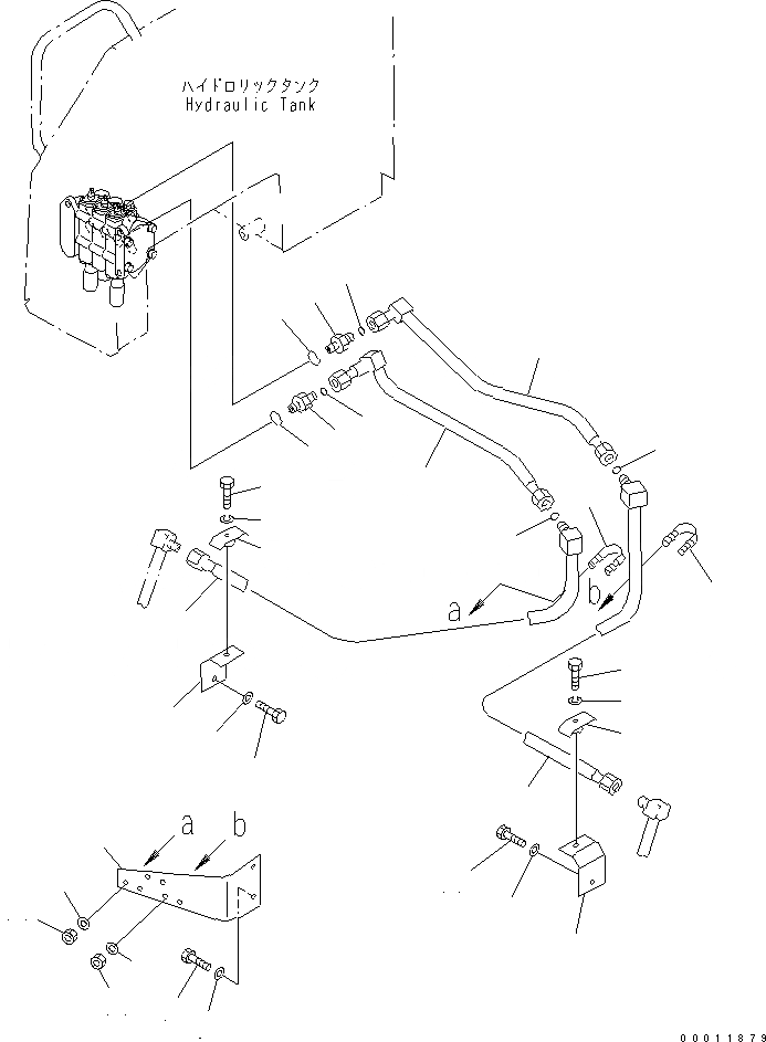
Запчасти Komatsu D21A-8 ГИДРОЛИНИЯ (ЦИЛИНДР ПЕРЕКОСА ЛИНИЯ) (ШАССИ) ГИДРАВЛИКА

Схема запчастей Komatsu D21A-8 - ГИДРОЛИНИЯ (ЦИЛИНДР ПЕРЕКОСА ЛИНИЯ) (ШАССИ) ГИДРАВЛИКА
1
1
2
2
3
3
4
5
6
7
8
9
10
11
12
13
13
14
14
15
15
16
16
17
17
18
18
19
19
20
20
21
21
FIT
1:1
100%

Артикул

Название

Примечание

Количество

1

02781-00420

UNION

SN: 83001-UP

2шт.

2

02896-11012

O-RING

SN: 83001-UP

2шт.

3

07002-11823

O-RING

SN: 83001-UP

2шт.

4

103-62-53111

TUBE

SN: 83001-UP

1шт.

5

103-62-53121

TUBE

SN: 83001-UP

1шт.

6

104-62-33250

BRACKET

SN: 83001-UP

1шт.

7

01010-81025

BOLT

SN: 83001-UP

2шт.

8

01643-31032

WASHER

SN: 83001-UP

2шт.

9

104-62-53111

TUBE

SN: 83164-UP

1шт.

9

104-62-53110

TUBE

SN: 83001-83163

1шт.

9

104-62-53111

TUBE,(FOR F3-R3 TRANSMISSION)

SN: 83001-UP

1шт.

10

02896-11012

O-RING

SN: 83001-UP

1шт.

11

104-62-53131

TUBE

SN: 83001-UP

1шт.

11

104-62-53330

TUBE,(FOR F3-R3 TRANSMISSION)

SN: 83001-UP

1шт.

12

02896-11012

O-RING

SN: 83001-UP

1шт.

13

07283-21529

CLIP

SN: 83001-UP

3шт.

14

01598-00809

NUT

SN: 83001-UP

6шт.

15

01643-30823

WASHER

SN: 83001-UP

6шт.

16

104-62-33171

CLAMP

SN: 83001-UP

2шт.

17

01010-81020

BOLT

SN: 83001-UP

2шт.

18

01643-31032

WASHER

SN: 83001-UP

2шт.

19

104-62-22350

CLAMP

SN: 83001-UP

2шт.

20

01010-81030

BOLT

SN: 83001-UP

2шт.

21

01602-21030

WASHER,SPRING

SN: 83001-UP

2шт.

Выбрано товаров: 24