Запчасти Komatsu D21A-8 БЛОК РУЛЕВ. УПРАВЛЕНИЯ ОСНОВН. РАМА И КОМПОНЕНТЫ

Схема запчастей Komatsu D21A-8 - БЛОК РУЛЕВ. УПРАВЛЕНИЯ ОСНОВН. РАМА И КОМПОНЕНТЫ
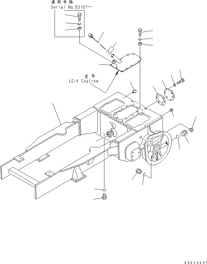
1
2
3
4
5
6
7
8
8
9
10
11
12
13
14
15
16
17
18
19
20
20
21
22
FIT
1:1
100%

Артикул

Название

Примечание

Количество

1

104-21-51100

CASE FRAME ASS'Y

SN: 83001-UP

1шт.

2

103-21-21181

BOSS (WELDED)

SN: 83001-UP

2шт.

3

104-21-31140

PLUG

SN: 83001-UP

18шт.

4

07049-01012

PLUG

SN: 83001-UP

4шт.

5

07043-01019

PLUG

SN: 83001-UP

2шт.

6

07044-12412

PLUG

SN: 83001-UP

3шт.

7

07040-12414

PLUG

SN: 83001-UP

2шт.

8

07002-02434

O-RING

SN: 83001-UP

5шт.

9

07040-13016

PLUG

SN: 83001-UP

2шт.

10

07002-03034

O-RING

SN: 83001-UP

2шт.

11

101-21-11170

PLATE

SN: 83001-UP

1шт.

12

101-21-11161

GASKET

SN: 83001-UP

1шт.

13

01010-81020

BOLT

SN: 83001-UP

6шт.

14

01643-31032

WASHER

SN: 83001-UP

6шт.

15

103-21-51210

COVER

SN: 83001-UP

1шт.

16

103-21-51230

GAUGE

SN: 83001-UP

1шт.

17

07002-02434

O-RING

SN: 83001-83192

2шт.

18

01010-81045

BOLT

SN: 83167-UP

6шт.

18

01010-81045

BOLT

SN: 83001-83166

7шт.

19

01010-81035

BOLT

SN: 83167-UP

1шт.

20

01602-21030

WASHER,SPRING

SN: 83001-UP

7шт.

21

103-21-31260

BOSS

SN: 83167-UP

6шт.

21

103-21-31260

BOSS

SN: 83001-83166

7шт.

22

103-21-21260

BOSS

SN: 83167-UP

1шт.

Выбрано товаров: 24