Запчасти Komatsu D21A-8T АККУМУЛЯТОР ЭЛЕКТРИКА

Схема запчастей Komatsu D21A-8T - АККУМУЛЯТОР ЭЛЕКТРИКА
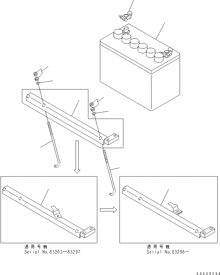
1
2
3
3
3
4
4
5
5
6
6
FIT
1:1
100%

Артикул

Название

Примечание

Количество

1

20Y-06-11110

BATTERY, WET(95D31R)

SN: 83001-UP

1шт.

1

203-06-51150

BATTERY, WET(130E41R,LARGE CAPACITY

SN: 83001-UP

1шт.

2

08000-00000

TERMINAL, (+)

SN: 83001-UP

1шт.

2

08000-00001

TERMINAL, (-)

SN: 83001-UP

1шт.

3

104-06-51241

HOLDER

SN: 83298-UP

1шт.

3

104-06-51240

HOLDER

SN: 83203-83297

1шт.

3

104-06-41242

HOLDER

SN: 83001-83202

1шт.

4

22W-54-16290

BOLT

SN: 83001-UP

2шт.

5

01580-10806

NUT

SN: 83001-UP

4шт.

6

01643-30823

WASHER

SN: 83001-UP

2шт.

Выбрано товаров: 10