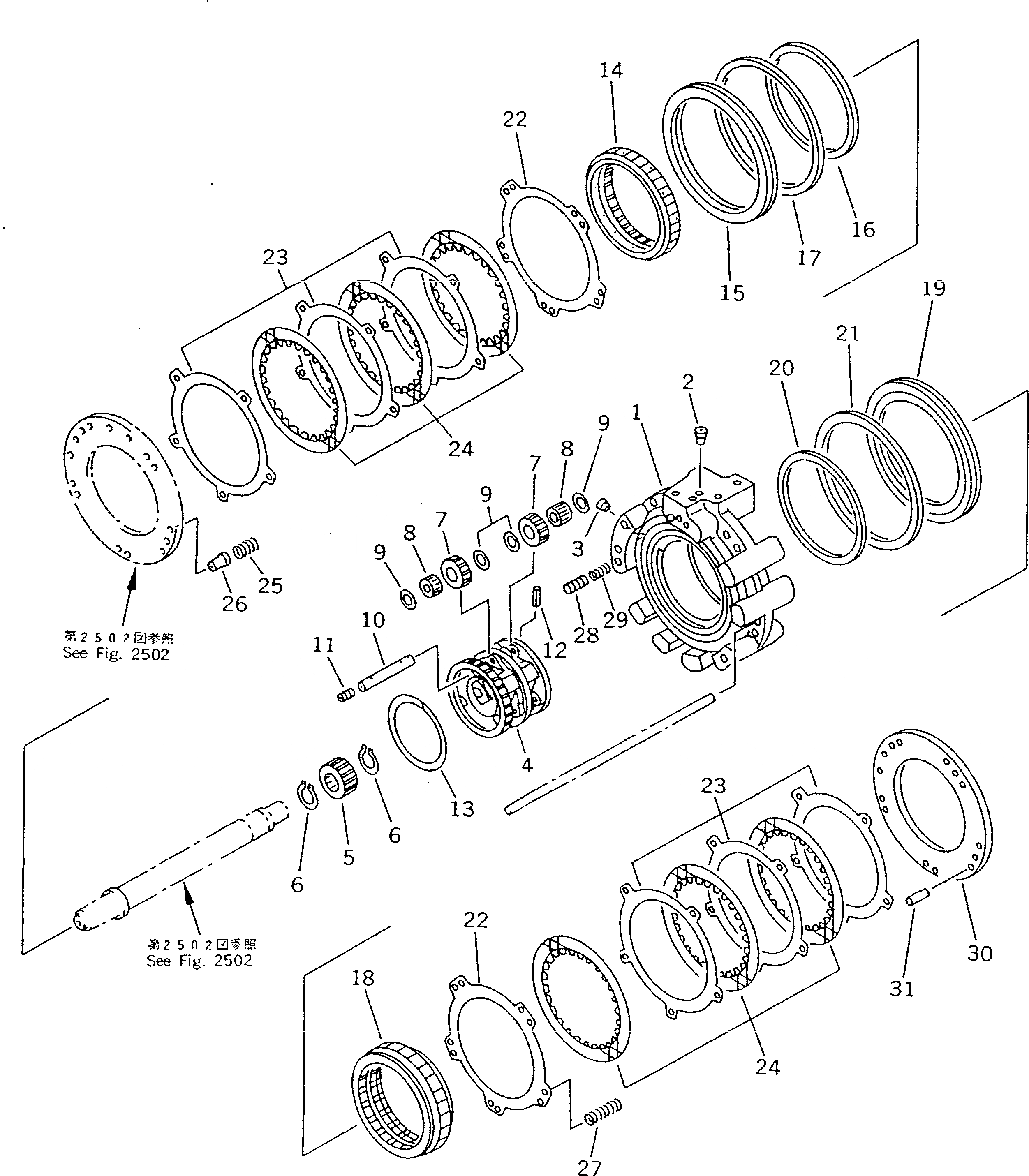
Запчасти Komatsu D21AG-7 ТРАНСМИССИЯ (F-R) (ПЕРЕД. И 2 КОЖУХ) (/) (ДЛЯ MONO РЫЧАГ РУЛЕВ. УПРАВЛЕНИЕ) ОСНОВН. МУФТА¤ ДЕМПФЕР¤ ТРАНСМИССИЯ¤ РУЛЕВ. УПРАВЛЕНИЕ И КОНЕЧНАЯ ПЕРЕДАЧА

Схема запчастей Komatsu D21AG-7 - ТРАНСМИССИЯ (F-R) (ПЕРЕД. И 2 КОЖУХ) (/)       (ДЛЯ MONO РЫЧАГ РУЛЕВ. УПРАВЛЕНИЕ) ОСНОВН. МУФТА¤ ДЕМПФЕР¤ ТРАНСМИССИЯ¤ РУЛЕВ. УПРАВЛЕНИЕ И КОНЕЧНАЯ ПЕРЕДАЧА
FIT
1:1
100%

Артикул

Название

Примечание

Количество

|$0

103-15-00602

TRANSMISSION ASS'Y

SN: 75001-UP

1шт.

|$$2

THIS ASSEMBLY CONSISTS OF ALL PARTS SHOWN IN FIGS.2501 TO 2508.

-1шт.

|$2

103-15-00612

TRANSMISSION ASS'Y

SN: 75001-UP

1шт.

|$$4

THIS ASSEMBLY CONSISTS OF ALL PARTS SHOWN IN FIGS.2501 TO 2504 AND 2506 TO 2508.

-1шт.

|$4

103-15-00640

HOUSING ASS'Y,FORWARD AND 2ND

SN: 75001-UP

1шт.

1

0

HOUSING

SN: 75001-UP

1шт.

2

07043-70108

PLUG

SN: 75001-UP

1шт.

3

113-15-21320

PLUG

SN: 75001-UP

1шт.

4

103-15-32321

CARRIER

SN: 75001-UP

1шт.

5

103-15-32221

GEAR

SN: 75001-UP

1шт.

6

103-15-39550

RING,SNAP

SN: 75001-UP

2шт.

7

103-15-32411

GEAR

SN: 75001-UP

6шт.

8

362-15-19410

BEARING

SN: 75001-UP

6шт.

9

113-15-32560

WASHER

SN: 75001-UP

12шт.

10

103-15-32521

SHAFT

SN: 75001-UP

3шт.

11

125-15-11230

PLUG

SN: 75001-UP

3шт.

12

04025-00312

PIN,SPRING

SN: 75001-UP

3шт.

13

362-15-19520

RING,SNAP

SN: 75001-UP

1шт.

14

103-15-32630

GEAR,RING

SN: 75001-UP

1шт.

15

362-15-12740

PISTON,FORWARD

SN: 75001-UP

1шт.

16

362-15-19220

RING,SEAL (K1)

SN: 75001-UP

1шт.

17

22W-75-15440

RING,SEAL (K1)

SN: 75001-UP

1шт.

18

103-15-32640

GEAR,RING

SN: 75001-UP

1шт.

19

362-15-12750

PISTON,2ND

SN: 75001-UP

1шт.

20

362-15-19220

RING,SEAL (K1)

SN: 75001-UP

1шт.

21

232-15-19270

RING,SEAL (K1)

SN: 75001-UP

1шт.

22

362-15-12720

PLATE

SN: 75001-UP

2шт.

23

362-15-12730

PLATE

SN: 75001-UP

6шт.

24

103-15-32711

DISC

SN: 75001-UP

6шт.

25

103-15-32910

SPRING

SN: 75001-UP

5шт.

26

103-15-32810

GUIDE

SN: 75001-UP

5шт.

27

145-14-12790

SPRING, (L= 59.0)

SN: 75001-UP

5шт.

28

287-15-15360

PISTON

SN: 75001-UP

1шт.

29

195-15-15261

SPRING

SN: 75001-UP

1шт.

30

103-15-31150

PLATE

SN: 75001-UP

1шт.

31

113-15-21290

PIN,DOWEL

SN: 75001-UP

2шт.

Выбрано товаров: 36