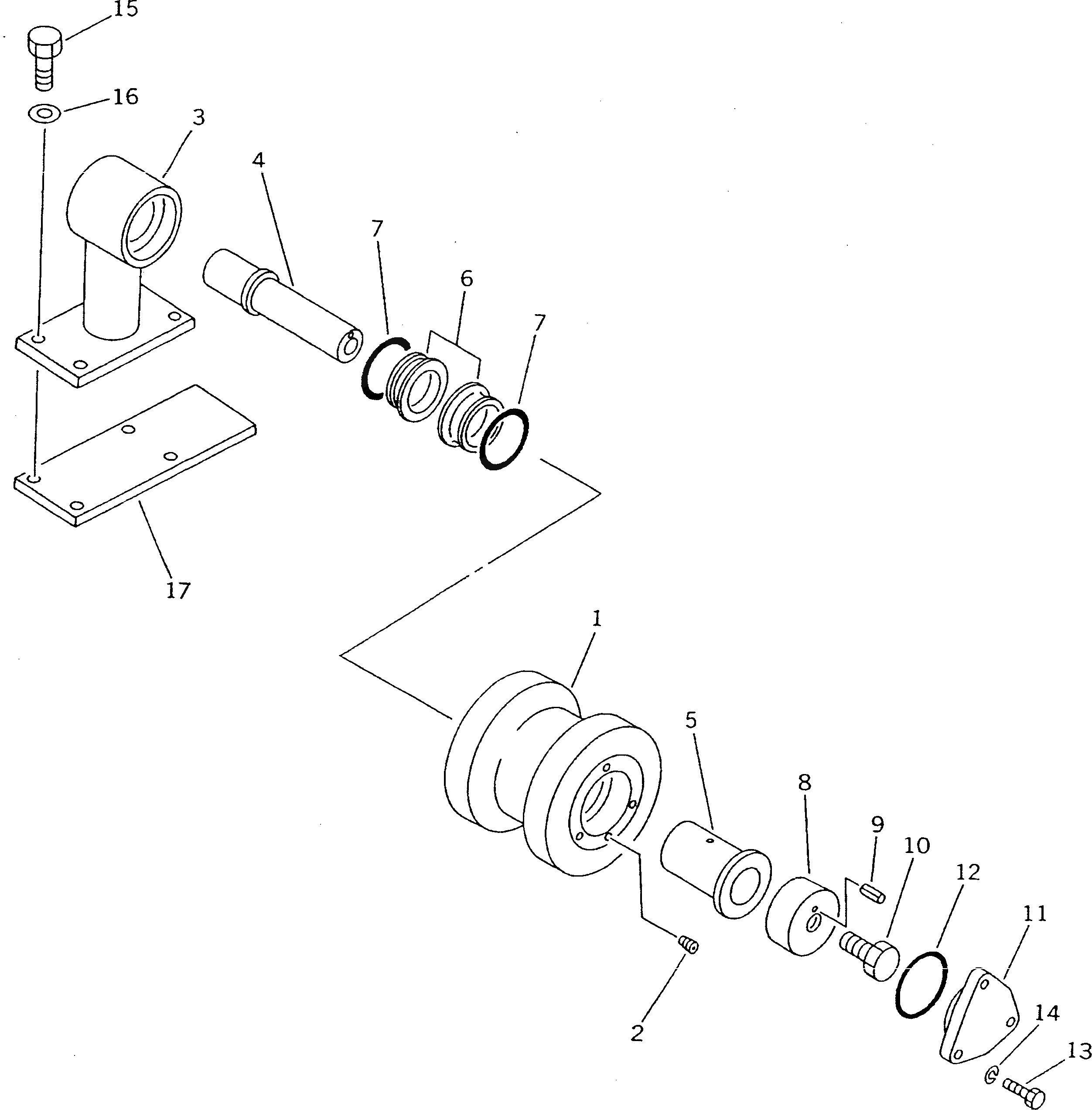
Запчасти Komatsu D21AG-7 ПОДДЕРЖИВАЮЩИЙ КАТОК (РЕЗИН. SHOE СПЕЦ-Я.)(№7-7) ГУСЕНИЦЫ

Схема запчастей Komatsu D21AG-7 - ПОДДЕРЖИВАЮЩИЙ КАТОК (РЕЗИН. SHOE СПЕЦ-Я.)(№7-7) ГУСЕНИЦЫ
FIT
1:1
100%

Артикул

Название

Примечание

Количество

|$0

10G-30-00070

CARRIER ROLLER ASS'Y

SN: 75001-76526

2шт.

1

10G-30-25310

ROLLER

SN: 75001-76526

1шт.

2

07043-50108

PLUG

SN: 75001-@

1шт.

3

10G-30-25330

SUPPORT

SN: 75001-76526

1шт.

4

103-30-35120

SHAFT

SN: 75001-@

1шт.

5

103-30-35131

BUSHING

SN: 75001-@

1шт.

|$6

110-30-00085

FLOATING SEAL ASS'Y

SN: 75001-@

1шт.

6

0

RING,SEAL

SN: 75001-@

2шт.

7

0

O-RING

SN: 75001-@

2шт.

8

10G-30-25320

PLATE

SN: 75001-76526

1шт.

9

04025-00312

PIN,SPRING

SN: 75001-@

1шт.

10

01010-31445

BOLT

SN: 75001-76526

1шт.

11

103-30-35150

COVER

SN: 75001-@

1шт.

12

07000-03050

O-RING

SN: 75001-@

1шт.

13

01010-50825

BOLT

SN: 75001-@

3шт.

14

01602-20825

WASHER,SPRING

SN: 75001-@

3шт.

15

01010-51240

BOLT

SN: 75001-76526

8шт.

16

01643-31232

WASHER

SN: 75001-76526

8шт.

17

10G-30-25340

PLATE

SN: 75001-76526

2шт.

Выбрано товаров: 19