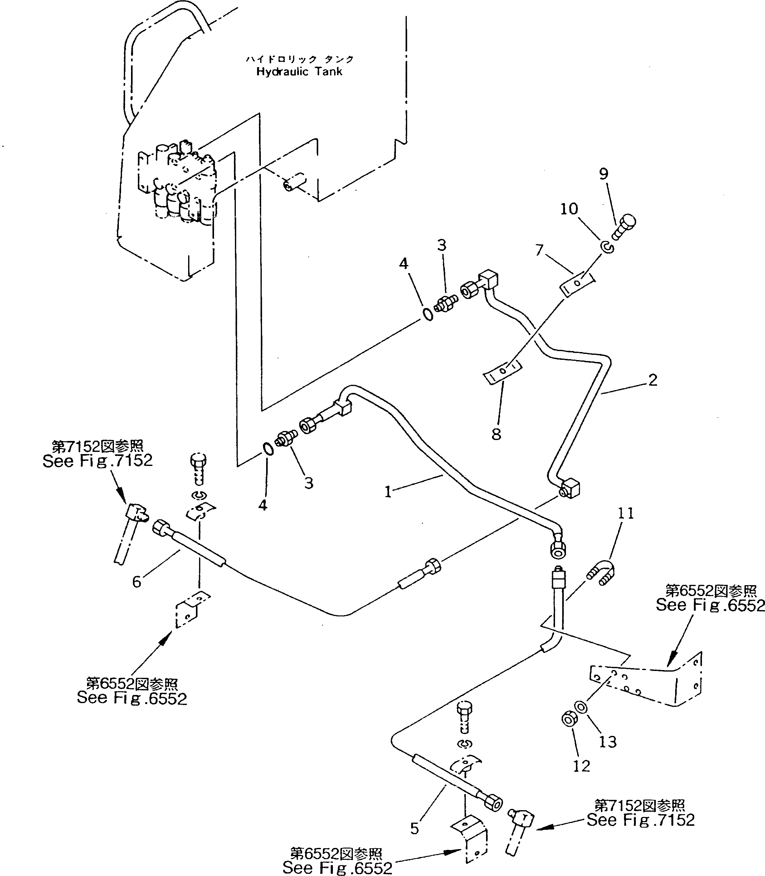
Запчасти Komatsu D21AG-7 ГИДРОЛИНИЯ (ЦИЛИНДР НАКЛОНА ЛИНИЯ) (ШАССИ) (ДЛЯ LIFT. НАКЛОН. РЫЧАГ + ANGLE РЫЧАГ) УПРАВЛ-Е РАБОЧИМ ОБОРУДОВАНИЕМ

Схема запчастей Komatsu D21AG-7 - ГИДРОЛИНИЯ (ЦИЛИНДР НАКЛОНА ЛИНИЯ) (ШАССИ) (ДЛЯ LIFT. НАКЛОН. РЫЧАГ + ANGLE РЫЧАГ) УПРАВЛ-Е РАБОЧИМ ОБОРУДОВАНИЕМ
FIT
1:1
100%

Артикул

Название

Примечание

Количество

1

104-62-35112

TUBE

SN: 78604-UP

1шт.

|1

104-62-35110

TUBE

SN: 75001-78603

1шт.

2

104-62-35152

TUBE

SN: 78604-UP

1шт.

|2

104-62-35150

TUBE

SN: 75001-78603

1шт.

3

20T-62-56710

UNION

SN: 78604-UP

2шт.

|3

07230-20315

UNION

SN: 75001-78603

2шт.

4

07002-11823

O-RING

SN: 78604-UP

2шт.

|4

07002-12034

O-RING

SN: 75001-78603

2шт.

5

104-62-35130

TUBE,(FOR D20)

SN: 75001-UP

1шт.

|5

104-62-35130

TUBE,(FOR F2-R2 TRANSMISSION)

SN: 75001-UP

1шт.

|5

104-62-35330

TUBE,(FOR F3-R3 TRANSMISSION)

SN: 75001-UP

1шт.

6

104-62-34620

TUBE

SN: 75001-UP

1шт.

7

103-62-22251

CLAMP

SN: 75001-UP

1шт.

8

103-62-22280

CLAMP

SN: 75001-UP

1шт.

9

01010-51035

BOLT

SN: 75001-UP

1шт.

10

01602-21030

WASHER,SPRING

SN: 75001-UP

1шт.

11

07283-21529

CLIP

SN: 75001-UP

1шт.

12

01598-00809

NUT

SN: 75001-UP

2шт.

13

01643-30823

WASHER

SN: 75001-UP

2шт.

Выбрано товаров: 19