Запчасти Komatsu D21AG-7 ПОВОРОТН. ОТВАЛ С ИЗМ. УГЛОМ ОТВАЛ (ROBAN SEISEI СПЕЦ-Я.) РАБОЧЕЕ ОБОРУДОВАНИЕ

Схема запчастей Komatsu D21AG-7 - ПОВОРОТН. ОТВАЛ С ИЗМ. УГЛОМ ОТВАЛ (ROBAN SEISEI СПЕЦ-Я.) РАБОЧЕЕ ОБОРУДОВАНИЕ
FIT
1:1
100%

Артикул

Название

Примечание

Количество

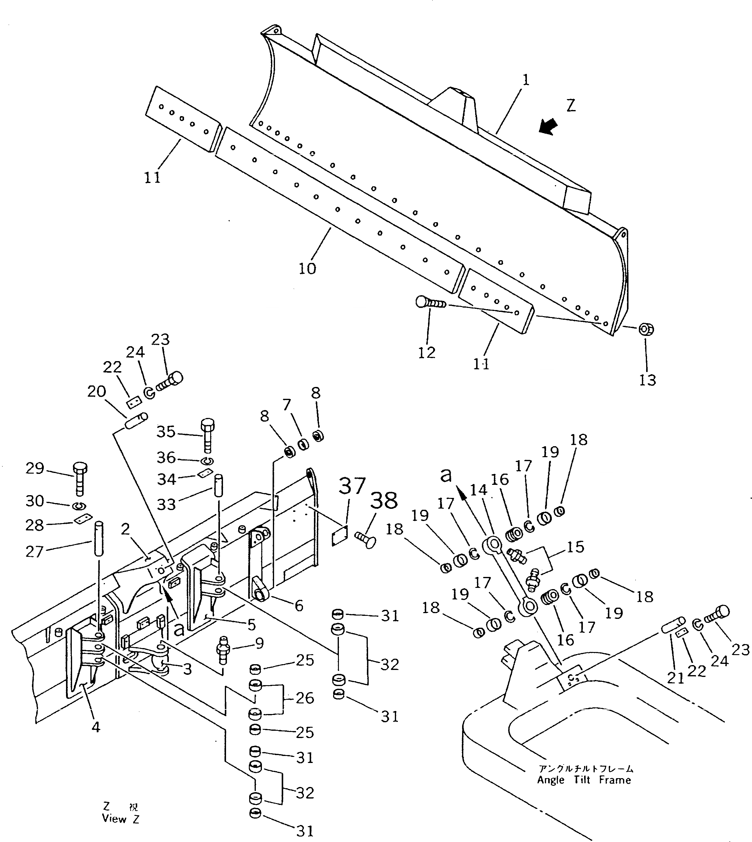
1

101-865-1110

BLADE

SN: 75001-UP

1шт.

|1

101-865-1150

BLADE,(WITH TILT GAUGE)

SN: 75001-UP

1шт.

2

104-72-32151

BRACKET (WELDED)

SN: 75001-UP

1шт.

3

104-72-32120

BRACKET (WELDED)

SN: 75001-UP

1шт.

4

104-72-32130

BRACKET (WELDED)

SN: 75001-UP

1шт.

5

104-72-32140

BRACKET (WELDED)

SN: 75001-UP

1шт.

6

101-865-1120

BRACKET (WELDED)

SN: 75001-UP

2шт.

7

07143-10302

BUSHING

SN: 75001-UP

2шт.

8

07145-00030

SEAL,DUST

SN: 75001-UP

4шт.

9

07020-00900

FITTING,GREASE

SN: 75001-UP

1шт.

10

10G-72-21260

EDGE,CUTTING

SN: 75001-UP

1шт.

11

10G-72-21270

BIT,END

SN: 75001-UP

2шт.

12

02090-10840

BOLT

SN: 75001-UP

21шт.

13

02290-10813

NUT

SN: 75001-UP

21шт.

14

104-72-41110

ROD

SN: 78604-UP

1шт.

|14

104-72-32471

ROD

SN: 75001-78603

1шт.

15

07020-00000

FITTING,GREASE

SN: 75001-UP

2шт.

16

104-72-21920

BEARING

SN: 75001-UP

2шт.

17

04067-00055

RING,SNAP

SN: 75001-UP

4шт.

18

104-72-21960

COLLAR

SN: 75001-UP

4шт.

19

104-72-21990

BUSHING

SN: 75001-UP

4шт.

20

104-72-32570

PIN

SN: 75001-UP

1шт.

21

104-72-32580

PIN

SN: 75001-UP

1шт.

22

04082-00110

LOCK

SN: 75001-UP

2шт.

23

01010-51020

BOLT

SN: 75001-UP

4шт.

24

01602-21030

WASHER,SPRING

SN: 75001-UP

4шт.

25

104-72-31960

COLLAR

SN: 75001-UP

2шт.

26

104-72-31990

BUSHING

SN: 75001-UP

2шт.

27

104-72-32510

PIN

SN: 75001-UP

1шт.

28

04082-00110

LOCK

SN: 75001-UP

1шт.

29

01010-51020

BOLT

SN: 75001-UP

2шт.

30

01602-21030

WASHER,SPRING

SN: 75001-UP

2шт.

31

104-72-21960

COLLAR

SN: 75001-UP

4шт.

32

104-72-21990

BUSHING

SN: 75001-UP

4шт.

33

104-72-32570

PIN

SN: 75001-UP

1шт.

34

04082-00110

LOCK

SN: 75001-UP

1шт.

35

01010-51020

BOLT

SN: 75001-UP

2шт.

36

01602-21030

WASHER,SPRING

SN: 75001-UP

2шт.

37

09601-00835

PLATE¤ NAME,(LIMITED SUPPLY)

SN: 75001-UP

1шт.

38

04418-13060

SCREW

SN: 75001-UP

4шт.

Выбрано товаров: 40