Запчасти Komatsu D21AG-7 ГИДРОЛИНИЯ (ЦИЛИНДР ПЕРЕКОСА ЛИНИЯ) (DOZER ) (ДЛЯ PAT) (ДЛЯ LIFT.НАКЛОН. РЫЧАГ + ANGLE РЫЧАГ) РАБОЧЕЕ ОБОРУДОВАНИЕ

Схема запчастей Komatsu D21AG-7 - ГИДРОЛИНИЯ (ЦИЛИНДР ПЕРЕКОСА ЛИНИЯ) (DOZER ) (ДЛЯ PAT) (ДЛЯ LIFT.НАКЛОН. РЫЧАГ + ANGLE РЫЧАГ) РАБОЧЕЕ ОБОРУДОВАНИЕ
FIT
1:1
100%

Артикул

Название

Примечание

Количество

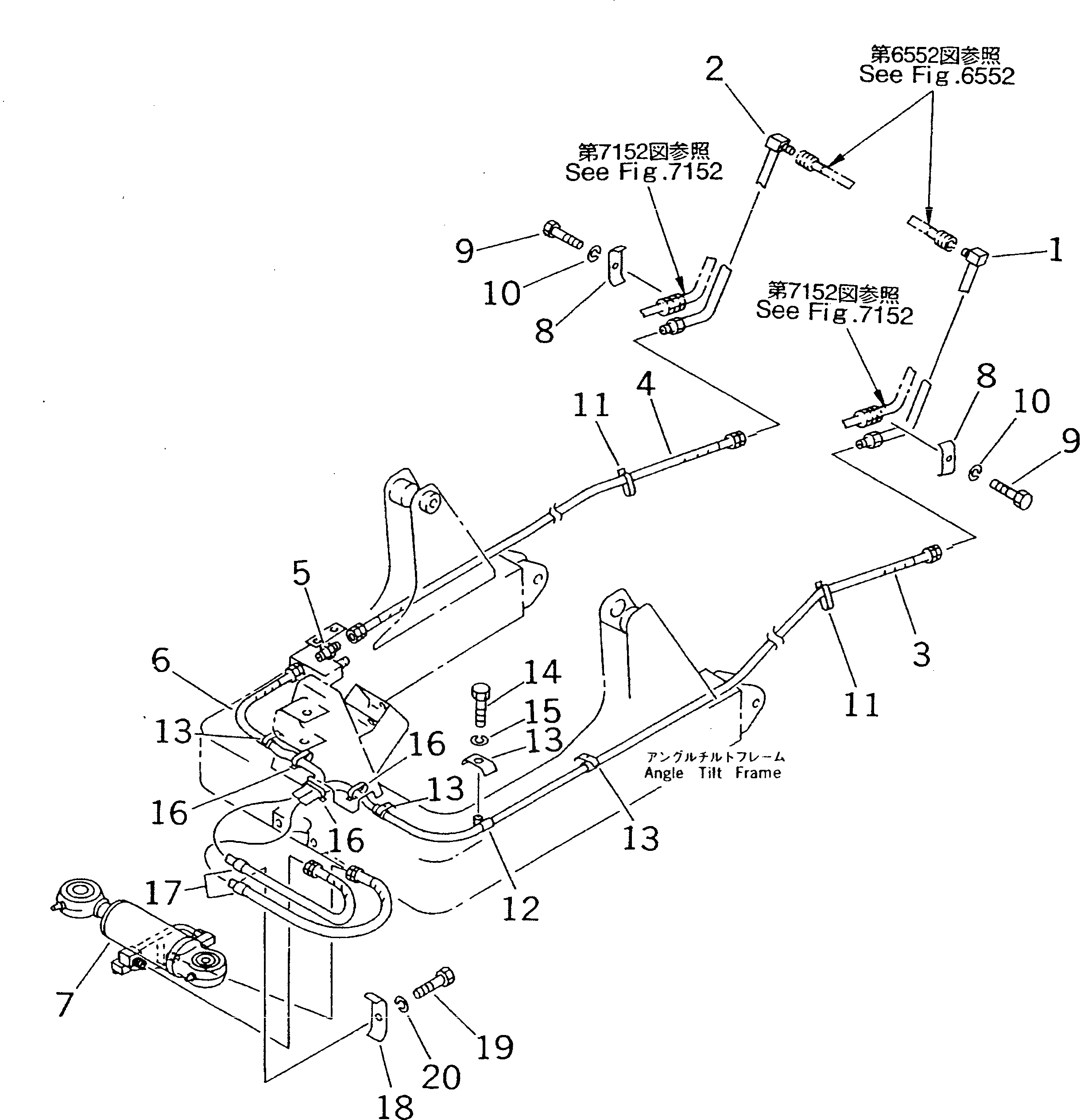
1

104-62-37280

TUBE,L.H.

SN: 75001-UP

1шт.

2

104-62-34610

TUBE,R.H.

SN: 75001-UP

1шт.

3

104-62-37211

HOSE

SN: 75001-UP

1шт.

4

104-62-37221

HOSE

SN: 75001-UP

1шт.

5

104-62-37450

NIPPLE

SN: 75001-UP

1шт.

6

104-62-37221

HOSE

SN: 78604-UP

1шт.

|6

104-62-37231

HOSE

SN: 75001-78603

1шт.

7

101-63-02041

CYLINDER ASS'Y,TILT

SN: 78604-UP

1шт.

|7

0

CYLINDER GROUP,TILT

SN: 75001-78603

1шт.

8

114-62-23150

CLIP

SN: 75001-UP

2шт.

9

01010-51035

BOLT

SN: 75001-UP

2шт.

10

01602-21030

WASHER,SPRING

SN: 75001-UP

2шт.

11

08034-00414

BAND

SN: 75001-UP

2шт.

12

113-06-23220

COVER

SN: 75001-UP

4шт.

13

104-62-37250

CLAMP

SN: 75001-UP

4шт.

14

01010-51020

BOLT

SN: 75001-UP

4шт.

15

01602-21030

WASHER,SPRING

SN: 75001-UP

4шт.

16

08034-00823

BAND

SN: 75001-UP

3шт.

17

113-06-23220

COVER

SN: 75001-UP

2шт.

18

104-62-33270

CLIP

SN: 75001-UP

1шт.

19

01010-50830

BOLT

SN: 75001-UP

1шт.

20

01602-20825

WASHER,SPRING

SN: 75001-UP

1шт.

Выбрано товаров: 22