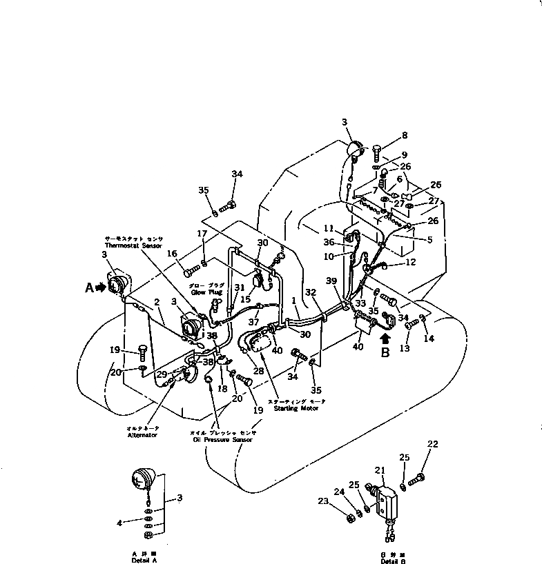
Запчасти Komatsu D21E-6 ЭЛЕКТРИКА (ДЛЯ A ГЕНЕРАТОР) КОМПОНЕНТЫ ДВИГАТЕЛЯ И ЭЛЕКТРИКА

Схема запчастей Komatsu D21E-6 - ЭЛЕКТРИКА (ДЛЯ A ГЕНЕРАТОР) КОМПОНЕНТЫ ДВИГАТЕЛЯ И ЭЛЕКТРИКА
FIT
1:1
100%

Артикул

Название

Примечание

Количество

1

104-06-33210

WIRE ASS'Y

SN: 60001-UP

1шт.

2

104-06-33110

WIRE ASS'Y

SN: 60001-UP

1шт.

3

08125-02400

LAMP ASS'Y

SN: 60001-UP

3шт.

3

08107-02460

BULB, 60W

SN: 60001-UP

1шт.

3

08125-00006

LENS

SN: 60001-UP

1шт.

4

01643-31232

WASHER

SN: 60001-UP

3шт.

5

103-06-33140

WIRE

SN: 60001-UP

1шт.

6

103-06-31170

WIRE

SN: 60001-UP

1шт.

7

100-06-13150

WIRE

SN: 60001-UP

1шт.

8

01010-51020

BOLT

SN: 60001-UP

1шт.

9

01602-21030

WASHER,SPRING

SN: 60001-UP

1шт.

10

103-06-33130

WIRE ASS'Y

SN: 60001-UP

1шт.

11

08064-10000

HORN SWITCH,HORN

SN: 60001-UP

1шт.

12

103-06-33150

SENSOR,FUEL LEVEL

SN: 60001-UP

1шт.

13

01220-40410

SCREW

SN: 60001-UP

5шт.

14

01601-20410

WASHER,SPRING

SN: 60001-UP

5шт.

15

08160-22400

HORN

SN: 60001-UP

1шт.

16

01010-50820

BOLT

SN: 60001-UP

2шт.

17

01602-20825

WASHER,SPRING

SN: 60001-UP

2шт.

18

103-06-33190

WIRE

SN: 60001-UP

1шт.

19

01010-51016

BOLT

SN: 60001-UP

2шт.

20

01602-21030

WASHER,SPRING

SN: 60001-UP

2шт.

21

113-06-23250

SWITCH,SAFETY

SN: 60001-UP

1шт.

22

01220-40435

SCREW

SN: 60001-UP

2шт.

23

01580-10403

NUT

SN: 60001-UP

2шт.

24

01601-20410

WASHER,SPRING

SN: 60001-UP

2шт.

25

134-06-22130

WASHER

SN: 60001-UP

4шт.

26

08038-04030

CAP

SN: 60001-UP

3шт.

27

01640-20816

WASHER

SN: 60001-UP

4шт.

28

08038-06031

CAP

SN: 60001-UP

1шт.

29

08038-00519

CAP

SN: 60001-UP

1шт.

30

08036-01814

CLIP

SN: 60001-UP

4шт.

31

08036-01214

CLIP

SN: 60001-UP

1шт.

32

140-06-18440

CLIP

SN: 60001-UP

1шт.

33

08036-01414

CLIP

SN: 60001-UP

2шт.

34

01010-51016

BOLT

SN: 60001-UP

8шт.

35

01602-21030

WASHER,SPRING

SN: 60001-UP

8шт.

36

203-06-21150

CLIP

SN: 60001-UP

1шт.

37

08036-10614

CLIP

SN: 60001-UP

2шт.

38

08036-00814

CLIP

SN: 60001-UP

2шт.

39

08035-01508

CLIP

SN: 60001-UP

1шт.

40

08034-00414

BAND

SN: 60001-UP

3шт.

Выбрано товаров: 42