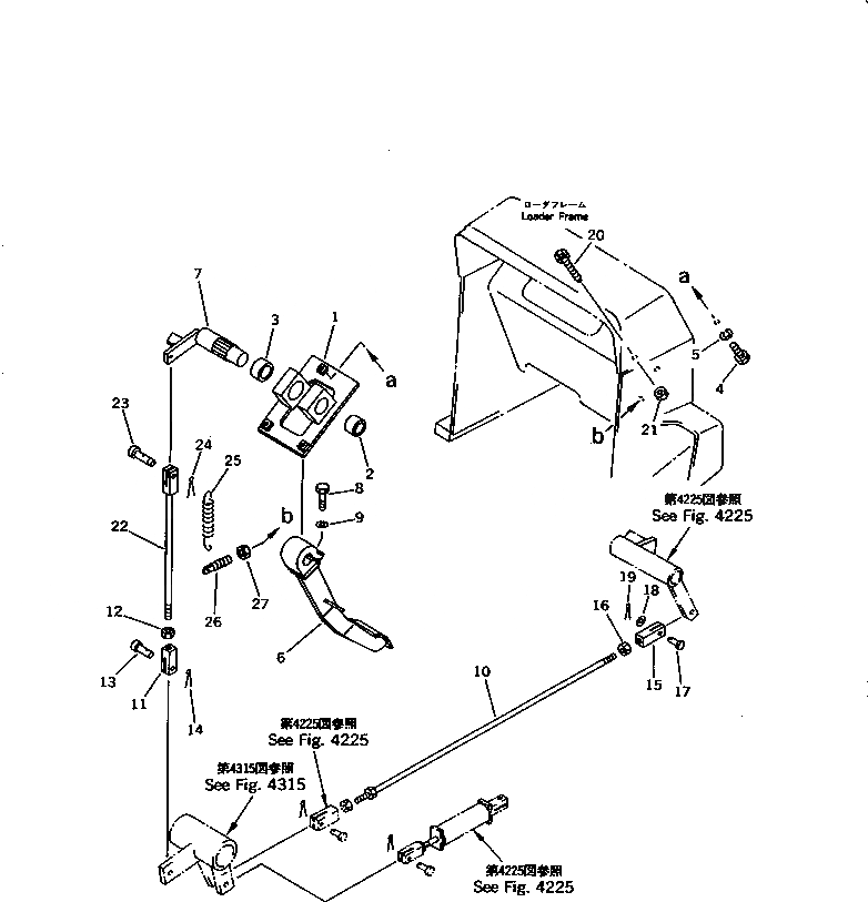
Запчасти Komatsu D21E-6 ПЕДАЛЬ ТОЛЧКОВОГО РЕГУЛИР-Я (ДЛЯ ПЕДАЛЬ РУЛЕВ. УПРАВЛЕНИЕ) (С ПЕДАЛЬ ЗАМЕДЛИТЕЛЯ ОБОРОТОВ) СИСТЕМА УПРАВЛЕНИЯ

Схема запчастей Komatsu D21E-6 - ПЕДАЛЬ ТОЛЧКОВОГО РЕГУЛИР-Я (ДЛЯ ПЕДАЛЬ РУЛЕВ. УПРАВЛЕНИЕ) (С ПЕДАЛЬ ЗАМЕДЛИТЕЛЯ ОБОРОТОВ) СИСТЕМА УПРАВЛЕНИЯ
FIT
1:1
100%

Артикул

Название

Примечание

Количество

|$0

103-43-00330

BRACKET ASS'Y

SN: 60001-UP

1шт.

1

0

BRACKET

SN: 60001-UP

1шт.

2

09350-02520

BUSHING

SN: 60001-UP

1шт.

3

09350-03020

BUSHING

SN: 60001-UP

1шт.

4

01010-51030

BOLT

SN: 60001-UP

2шт.

5

01602-21030

WASHER,SPRING

SN: 60001-UP

2шт.

6

103-43-33240

PEDAL

SN: 60001-UP

1шт.

7

103-43-33410

LEVER

SN: 60001-UP

1шт.

8

01010-51030

BOLT

SN: 60001-UP

1шт.

9

01602-21030

WASHER,SPRING

SN: 60001-UP

1шт.

10

102-43-48150

ROD

SN: 60001-UP

1шт.

11

04210-21040

YOKE

SN: 60001-UP

1шт.

12

01582-11008

NUT

SN: 60001-UP

1шт.

13

04205-11028

PIN

SN: 60001-UP

1шт.

14

04050-13020

PIN,COTTER

SN: 60001-UP

1шт.

15

103-43-31630

YOKE,L.H. THREAD

SN: 60001-UP

1шт.

16

01508-21006

NUT,L.H. THREAD

SN: 60001-UP

1шт.

17

04205-11030

PIN

SN: 60001-UP

1шт.

18

01641-21016

WASHER

SN: 60001-UP

1шт.

19

04050-13020

PIN,COTTER

SN: 60001-UP

1шт.

20

113-43-21340

BUMPER

SN: 60001-UP

1шт.

21

01580-11008

NUT

SN: 60001-UP

1шт.

22

04244-41031

ROD

SN: 60001-UP

1шт.

23

103-43-21170

PIN

SN: 60001-UP

1шт.

24

04050-13020

PIN,COTTER

SN: 60001-UP

1шт.

25

113-890-6170

SPRING

SN: 60001-UP

1шт.

26

103-43-21260

BOLT

SN: 60001-UP

1шт.

27

01580-11008

NUT

SN: 60001-UP

1шт.

Выбрано товаров: 28