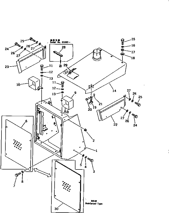
Запчасти Komatsu D21E-6 ЗАЩИТА РАДИАТОРА AND КАПОТ ЧАСТИ КОРПУСА

Схема запчастей Komatsu D21E-6 - ЗАЩИТА РАДИАТОРА AND КАПОТ ЧАСТИ КОРПУСА
FIT
1:1
100%

Артикул

Название

Примечание

Количество

1

103-54-31120

GUARD,RADIATOR

SN: 60001-UP

1шт.

1

09450-00013

BRACKET,ENGINE HOOD CATCH (WELDED)

SN: 60001-UP

2шт.

2

08037-01008

GROMMET

SN: 60001-UP

2шт.

3

01010-51230

BOLT

SN: 60001-UP

8шт.

4

01602-21236

WASHER,SPRING

SN: 60001-UP

8шт.

5

01643-31232

WASHER

SN: 60001-UP

8шт.

6

103-54-31220

GRILLE

SN: 60001-UP

1шт.

7

01010-51430

BOLT

SN: 60001-UP

4шт.

8

01602-21442

WASHER,SPRING

SN: 60001-UP

4шт.

9

104-54-31120

COVER,L.H.

SN: 60001-UP

1шт.

10

104-54-31130

COVER,R.H.

SN: 60001-UP

1шт.

11

01010-51025

BOLT

SN: 60001-UP

4шт.

12

01602-21030

WASHER,SPRING

SN: 60001-UP

4шт.

13

01643-31032

WASHER

SN: 60001-UP

4шт.

14

103-54-31250

HOOD

SN: 60001-UP

1шт.

14

09450-00001

PLATE,ENGINE HOOD CATCH (WELDED)

SN: 60001-UP

2шт.

15

01010-51025

BOLT

SN: 60001-UP

3шт.

16

01602-21030

WASHER,SPRING

SN: 60001-UP

3шт.

17

113-54-31340

COLLAR

SN: 60001-UP

3шт.

18

113-54-31350

SEAT

SN: 60001-UP

3шт.

19

09450-00000

CATCH

SN: 60001-UP

2шт.

20

09450-00002

PIN

SN: 60001-UP

2шт.

21

04050-11610

PIN,COTTER

SN: 60001-UP

2шт.

22

103-54-31270

COVER,L.H.

SN: 60001-UP

1шт.

23

103-54-31280

COVER,R.H.

SN: 60001-UP

1шт.

24

01010-51025

BOLT

SN: 60001-UP

4шт.

25

01010-51035

BOLT

SN: 60001-UP

2шт.

26

01602-21030

WASHER,SPRING

SN: 60001-UP

6шт.

27

01643-31032

WASHER

SN: 60001-UP

6шт.

28

201-54-22971

SEAT

SN: 61692-UP

2шт.

29

09460-00004

LOCK

SN: 60001-UP

1шт.

30

103-54-31231

GRILLE,(REINFORCED TYPE)

SN: 65861-UP

1шт.

30

103-54-31230

GRILLE,(REINFORCED TYPE)

SN: 60001-65860

1шт.

Выбрано товаров: 33