Запчасти Komatsu D21E-6 ПОГРУЗ. РАМА И ПОЛ КАБИНЫ (ДЛЯ ПЕДАЛЬ РУЛЕВ. УПРАВЛЕНИЕ)(БЕЗ ПЕДАЛЬ ЗАМЕДЛИТЕЛЯ ОБОРОТОВ) ЧАСТИ КОРПУСА

Схема запчастей Komatsu D21E-6 - ПОГРУЗ. РАМА И ПОЛ КАБИНЫ (ДЛЯ ПЕДАЛЬ РУЛЕВ. УПРАВЛЕНИЕ)        (БЕЗ ПЕДАЛЬ ЗАМЕДЛИТЕЛЯ ОБОРОТОВ) ЧАСТИ КОРПУСА
FIT
1:1
100%

Артикул

Название

Примечание

Количество

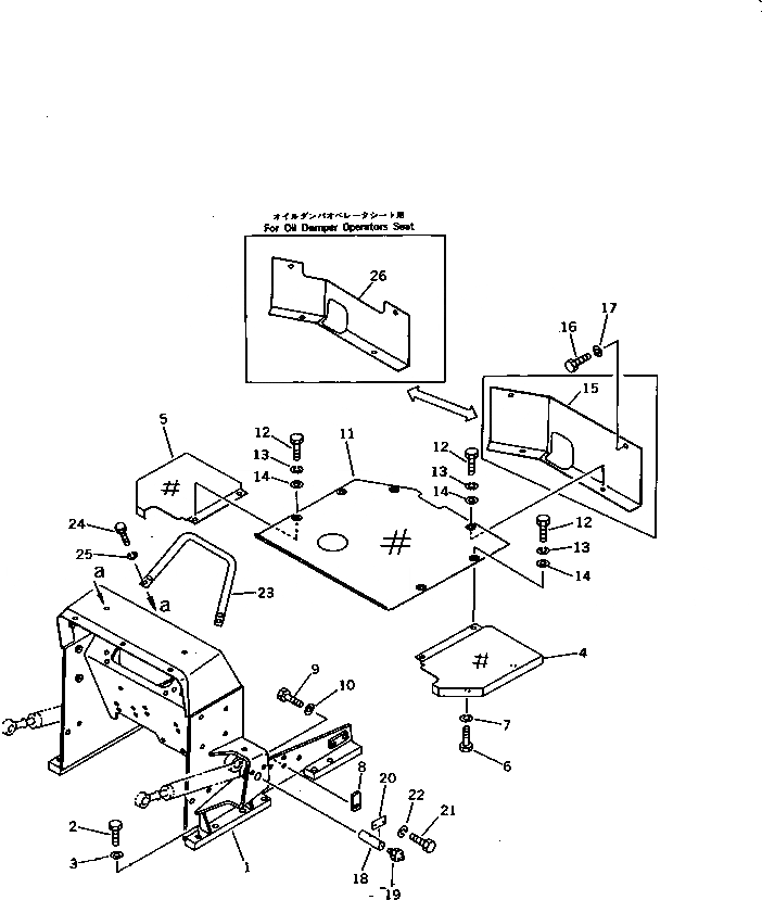
1

104-54-32111

FRAME,LOADER

SN: 63637-UP

1шт.

1

104-54-39120

FRAME,LOADER

SN: 60001-63636

1шт.

2

01010-51655

BOLT

SN: 60001-UP

12шт.

3

01643-31645

WASHER

SN: 60001-UP

12шт.

4

103-54-33120

FENDER,L.H.

SN: 60001-UP

1шт.

5

103-54-33130

FENDER,R.H.

SN: 60001-UP

1шт.

6

01010-51025

BOLT

SN: 60001-UP

4шт.

7

01602-21030

WASHER,SPRING

SN: 60001-UP

4шт.

8

103-54-23160

PLATE

SN: 60001-UP

2шт.

9

01010-51030

BOLT

SN: 60001-UP

2шт.

10

01643-31032

WASHER

SN: 60001-UP

2шт.

11

103-54-33110

PLATE,FLOOR

SN: 60001-UP

1шт.

12

01010-51025

BOLT

SN: 60001-UP

6шт.

13

01602-21030

WASHER,SPRING

SN: 60001-UP

6шт.

14

01643-31032

WASHER

SN: 60001-UP

6шт.

15

103-54-34130

COVER

SN: 60001-UP

1шт.

16

01010-51025

BOLT

SN: 60001-UP

2шт.

17

01602-21030

WASHER,SPRING

SN: 60001-UP

2шт.

18

104-72-31890

PIN

SN: 60001-UP

2шт.

19

07020-00000

FITTING,GREASE

SN: 60001-UP

2шт.

20

113-70-21280

LOCK

SN: 60001-UP

2шт.

21

01010-51025

BOLT

SN: 60001-UP

4шт.

22

01602-21030

WASHER,SPRING

SN: 60001-UP

4шт.

23

104-54-31310

HANDLE

SN: 60001-UP

1шт.

24

01010-51435

BOLT

SN: 60001-UP

2шт.

25

01602-21442

WASHER,SPRING

SN: 60001-UP

2шт.

26

103-54-34210

COVER,(FOR OIL DAMPER SEAT)

SN: 60001-UP

1шт.

Выбрано товаров: 27