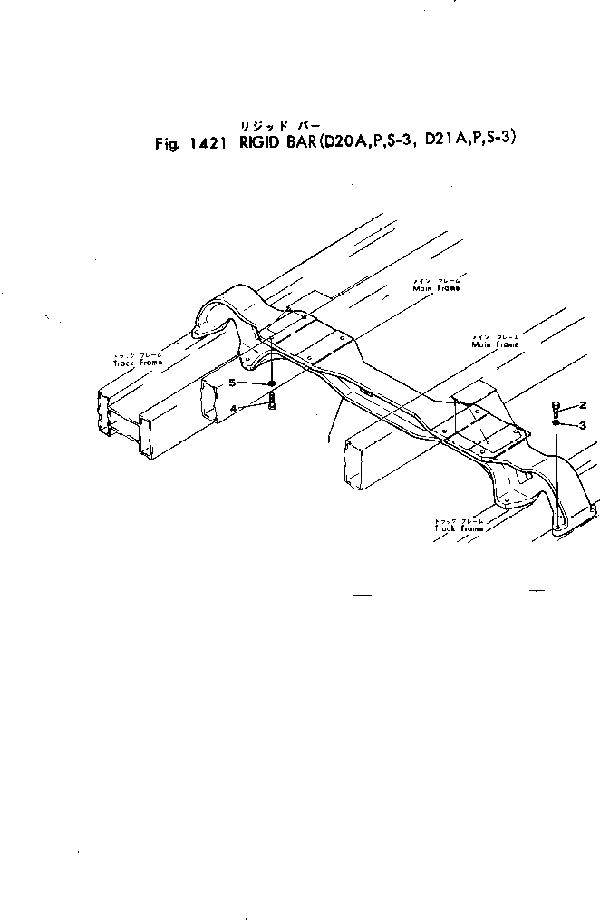
Запчасти Komatsu D21P-3 RIGID BAR ГУСЕНИЦЫ И ЧАСТИ КОРПУСА

Схема запчастей Komatsu D21P-3 - RIGID BAR ГУСЕНИЦЫ И ЧАСТИ КОРПУСА
FIT
1:1
100%

Артикул

Название

Примечание

Количество

|$0

101-812-0011

RIGID BAR ASS'Y

SN: 20011-UP

1шт.

1

101-812-2111

BAR,RIGID

SN: 30133-UP

1шт.

1

101-812-2110

BAR,RIGID

SN: 20011-30132

1шт.

2

01010-31640

BOLT

SN: 20007-UP

8шт.

3

01602-01648

WASHER,SPRING

SN: 20007-UP

8шт.

4

01010-31440

BOLT

SN: 20007-UP

8шт.

5

01602-01442

WASHER,SPRING

SN: 20007-UP

8шт.

Выбрано товаров: 7