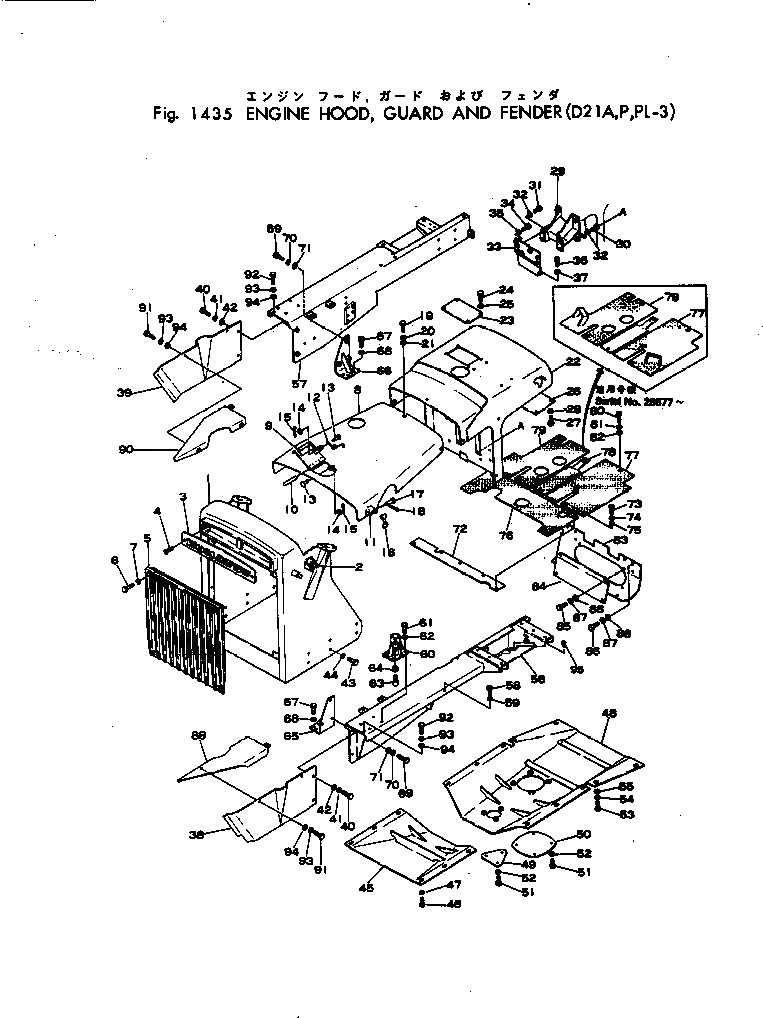
Запчасти Komatsu D21P-3 КАПОТ¤ ЧАСТИ КОРПУСА И КРЫЛО ГУСЕНИЦЫ И ЧАСТИ КОРПУСА

Схема запчастей Komatsu D21P-3 - КАПОТ¤ ЧАСТИ КОРПУСА И КРЫЛО ГУСЕНИЦЫ И ЧАСТИ КОРПУСА
FIT
1:1
100%

Артикул

Название

Примечание

Количество

1

101-54-31113

GUARD,RADIATOR

SN: 30133-UP

1шт.

1

104-54-11111

GUARD,RADIATOR

SN: 30029-30132

1шт.

1

104-54-11110

GUARD,RADIATOR

SN: 20013-30028

1шт.

2

09450-00003

BRACKET

SN: 20013-UP

2шт.

3

101-54-31431

PLATE, MARK

SN: .-UP

1шт.

3

101-54-31430

PLATE, MARK

SN: 28877-.

1шт.

3

0

PLATE, MARK

SN: 20013-28876

1шт.

4

01220-40820

SCREW

SN: .-UP

3шт.

4

01225-40816

SCREW

SN: 28877-.

2шт.

4

01225-30825

SCREW

SN: 20013-28876

2шт.

5

101-54-11531

GRILLE,RADIATOR

SN: 20013-UP

1шт.

6

01010-30816

BOLT

SN: 20013-UP

4шт.

7

01602-00825

WASHER,SPRING

SN: 20013-UP

4шт.

|$13

101-54-00024

HOOD ASS'Y

SN: 20013-UP

1шт.

8

101-54-31171

HOOD,ENGINE

SN: 20013-UP

1шт.

9

102-54-11270

COVER

SN: 20013-UP

1шт.

10

102-54-11280

PIN

SN: 20013-UP

1шт.

11

09450-00001

PLATE

SN: 20013-UP

2шт.

12

131-54-11150

SPRING

SN: 20013-UP

1шт.

13

04205-00516

PIN

SN: 20013-UP

2шт.

14

01641-00508

WASHER

SN: 20013-UP

2шт.

15

04050-01208

PIN,COTTER

SN: 20013-UP

2шт.

16

09450-00000

CATCH

SN: 20013-UP

2шт.

17

09450-00002

PIN

SN: 20013-UP

2шт.

18

04050-01610

PIN,COTTER

SN: 20013-UP

2шт.

19

01010-31016

BOLT

SN: 20013-UP

3шт.

20

01602-01030

WASHER,SPRING

SN: 20013-UP

3шт.

21

01643-01032

WASHER

SN: 20013-UP

3шт.

22

101-54-31186

DASHBOARD

SN: 30342-UP

1шт.

22

101-54-31185

DASHBOARD

SN: 30133-30341

1шт.

22

101-54-31184

DASHBOARD

SN: 27882-30132

1шт.

22

101-54-31183

DASHBOARD

SN: 20013-27881

1шт.

23

101-54-31351

COVER

SN: 20013-UP

1шт.

24

01010-30816

BOLT

SN: 20013-UP

4шт.

25

01602-00825

WASHER,SPRING

SN: 20013-UP

4шт.

26

102-54-11480

COVER

SN: 20013-UP

1шт.

27

01010-30816

BOLT

SN: 20013-UP

6шт.

28

01602-00825

WASHER,SPRING

SN: 20013-UP

6шт.

29

101-54-31346

BRACKET

SN: 30133-UP

1шт.

29

0

BRACKET

SN: 20013-30132

1шт.

30

01010-31025

BOLT

SN: 20013-UP

4шт.

31

01010-31035

BOLT

SN: 20013-UP

4шт.

32

01602-01030

WASHER,SPRING

SN: 20013-UP

8шт.

33

6141-21-9111

BRACKET

SN: 20013-30132

1шт.

34

01010-31045

BOLT

SN: 30133-UP

3шт.

34

01010-31030

BOLT

SN: 20013-30132

3шт.

35

01602-01030

WASHER,SPRING

SN: 20013-UP

3шт.

36

01010-31025

BOLT

SN: 20013-UP

2шт.

37

01602-01030

WASHER,SPRING

SN: 20013-UP

2шт.

38

101-54-31211

COVER,L.H.

SN: 20013-UP

1шт.

39

101-54-31221

COVER,R.H.

SN: 20013-UP

1шт.

40

01010-31025

BOLT

SN: 20013-UP

4шт.

41

01602-01030

WASHER,SPRING

SN: 20013-UP

4шт.

42

01643-01032

WASHER

SN: 20013-UP

4шт.

43

01010-31840

BOLT

SN: 30029-UP

12шт.

43

01010-31435

BOLT

SN: 20013-30028

12шт.

44

01602-01854

WASHER,SPRING

SN: 30029-UP

12шт.

44

01602-01442

WASHER,SPRING

SN: 20013-30028

12шт.

44A

01643-01845

WASHER

SN: 30029-UP

12шт.

45

101-54-31231

COVER,BOTTOM, FRONT

SN: 30133-UP

1шт.

45

101-54-31230

COVER,BOTTOM, FRONT

SN: 20013-30132

1шт.

46

01010-31420

BOLT

SN: 20013-UP

6шт.

47

01602-01442

WASHER,SPRING

SN: 20013-UP

6шт.

|$63

103-54-00011

COVER ASS'Y,UNDER, REAR

SN: 30133-UP

1шт.

|$64

103-54-00010

COVER ASS'Y,UNDER, REAR

SN: 20013-30132

1шт.

48

103-54-11121

GUARD

SN: 30133-UP

1шт.

48

103-54-11120

GUARD

SN: 20013-30132

1шт.

49

101-54-11190

COVER

SN: 20013-UP

1шт.

50

103-54-11130

COVER

SN: 20013-UP

1шт.

51

01010-31020

BOLT

SN: 20013-UP

7шт.

52

01602-01030

WASHER,SPRING

SN: 20013-UP

7шт.

53

01010-31425

BOLT

SN: 20013-UP

10шт.

54

01602-01442

WASHER,SPRING

SN: 20013-UP

10шт.

55

01643-01432

WASHER

SN: 20013-UP

10шт.

56

104-54-11123

FENDER,L.H.

SN: 30749-UP

1шт.

56

104-54-11122

FENDER,L.H.

SN: 30133-30748

1шт.

56

104-54-11121

FENDER,L.H.

SN: 20013-30132

1шт.

57

104-54-11133

FENDER,R.H.

SN: 30749-UP

1шт.

57

104-54-11132

FENDER,R.H.

SN: 28877-30748

1шт.

57

0

FENDER,R.H.

SN: 20013-28876

1шт.

|$$81

(104-54-11132,101-60-33112,

-1шт.

|$$82

01010-31430(3),01602-01442(3))

-1шт.

58

01010-31440

BOLT

SN: 30749-UP

8шт.

58

01010-31430

BOLT

SN: 20013-30748

8шт.

59

01602-01442

WASHER,SPRING

SN: 20013-UP

8шт.

60

09470-04411

BRACKET

SN: 20013-UP

2шт.

61

01010-31025

BOLT

SN: 20013-UP

8шт.

62

01602-01030

WASHER,SPRING

SN: 20013-UP

8шт.

63

01016-31235

BOLT

SN: 20013-UP

4шт.

64

01580-11210

NUT

SN: 20013-UP

4шт.

65

101-54-31320

BRACKET,FENDER, L.H.

SN: 20013-UP

1шт.

66

101-54-31330

BRACKET,FENDER, R.H.

SN: 20013-UP

1шт.

67

01010-31230

BOLT

SN: 20013-UP

8шт.

68

01602-01236

WASHER,SPRING

SN: 20013-UP

8шт.

69

01010-31030

BOLT

SN: 20013-UP

6шт.

70

01602-01030

WASHER,SPRING

SN: 20013-UP

6шт.

71

01643-01032

WASHER

SN: 20013-UP

6шт.

72

104-54-11150

FRAME

SN: 20013-UP

1шт.

73

01010-31025

BOLT

SN: 20013-UP

2шт.

74

01602-01030

WASHER,SPRING

SN: 20013-UP

2шт.

75

01643-01032

WASHER

SN: 20013-UP

2шт.

76

104-54-11160

PLATE,FLOOR

SN: 20013-UP

1шт.

77

104-54-11210

PLATE,FLOOR

SN: 28877-UP

1шт.

77

0

PLATE,FLOOR

SN: 20013-28876

1шт.

78

103-54-11170

PLATE,FLOOR

SN: 20013-UP

1шт.

79

104-54-11190

PLATE,FLOOR

SN: 28877-UP

1шт.

79

0

PLATE,FLOOR

SN: 20013-28876

1шт.

80

01010-31020

BOLT

SN: 20013-UP

8шт.

81

01602-01030

WASHER,SPRING

SN: 20013-UP

8шт.

82

01643-01032

WASHER

SN: 20013-UP

8шт.

83

104-54-11141

PLATE

SN: .-UP

1шт.

83

104-54-11140

PLATE

SN: 20013-.

1шт.

84

103-54-11250

PLATE

SN: 20013-.

1шт.

85

01010-31020

BOLT

SN: 20013-UP

4шт.

86

01010-31030

BOLT

SN: 20013-UP

6шт.

87

01602-01030

WASHER

SN: 20013-UP

10шт.

88

01643-01032

WASHER

SN: 20013-UP

6шт.

89

101-811-2121

COVER

SN: 20017-UP

1шт.

90

101-811-2131

COVER

SN: 20017-UP

1шт.

91

01010-31020

BOLT

SN: 20017-UP

4шт.

92

01010-31025

BOLT

SN: 20017-UP

2шт.

93

01602-01030

WASHER,SPRING

SN: 20017-UP

6шт.

94

01643-01032

WASHER

SN: 20017-UP

6шт.

95

07049-01620

PLUG

SN: 30773-UP

12шт.

Выбрано товаров: 124