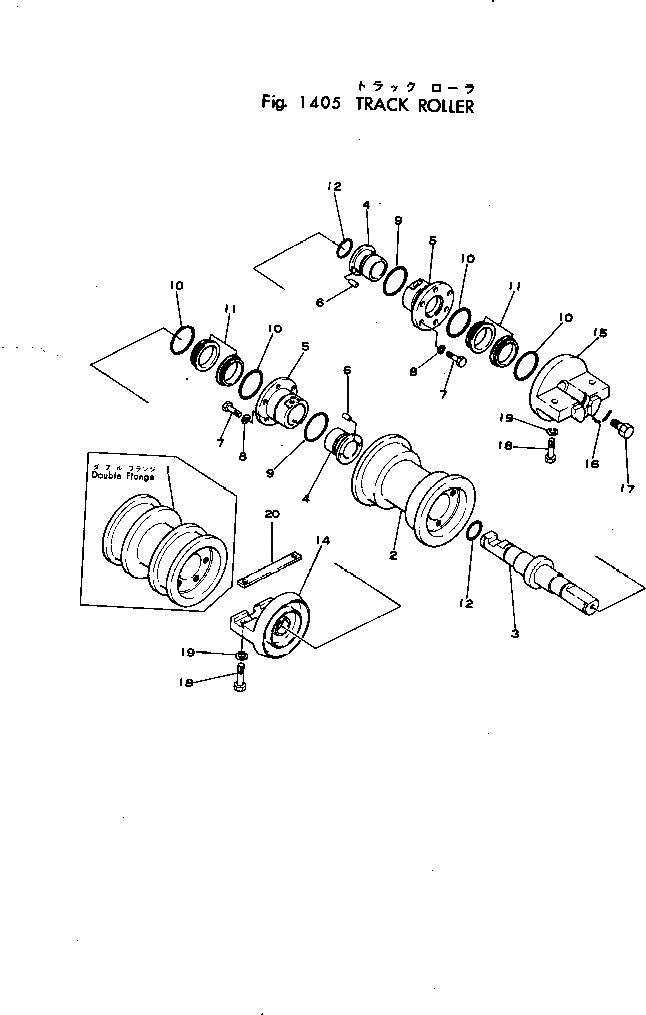
Запчасти Komatsu D21P-3 ОПОРНЫЙ КАТОК ГУСЕНИЦЫ И ЧАСТИ КОРПУСА

Схема запчастей Komatsu D21P-3 - ОПОРНЫЙ КАТОК ГУСЕНИЦЫ И ЧАСТИ КОРПУСА
FIT
1:1
100%

Артикул

Название

Примечание

Количество

|1

101-30-00042

TRACK ROLLER ASS'Y,SINGLE FLANGE

SN: 30133-UP

10шт.

|1

101-30-00032

TRACK ROLLER ASS'Y,DOUBLE FLANGE

SN: 20007-30132

4шт.

|1

101-30-00042

TRACK ROLLER ASS'Y,SINGLE FLANGE

SN: 20007-30132

6шт.

1

101-30-15220

ROLLER,TRACK¤ DOUBLE FLANGE

SN: 20007-30132

1шт.

2

101-30-15210

ROLLER,TRACK¤ SINGLE FLANGE

SN: 20007-UP

1шт.

3

100-30-15110

SHAFT,TRACK ROLLER

SN: 20007-UP

1шт.

|4

101-30-00091

BUSHING ASS'Y

SN: 20007-UP

2шт.

4

100-30-15120

BUSHING

SN: 20007-UP

1шт.

5

100-30-15130

BUSHING

SN: 20007-UP

1шт.

6

100-30-13150

PIN,DOWEL

SN: 20007-UP

2шт.

7

01010-30820

BOLT

SN: 20007-UP

12шт.

8

01602-00825

WASHER,SPRING

SN: 20007-UP

12шт.

9

07000-03062

O-RING (KIT)

SN: 20007-UP

2шт.

|10

110-30-00045

FLOATING SEAL ASS'Y

SN: 20007-UP

2шт.

10

0

O-RING

SN: 20007-UP

2шт.

11

0

RING,SEAL

SN: 20007-UP

2шт.

12

100-30-15140

O-RING (KIT)

SN: 20007-UP

2шт.

14

101-30-15170

COLLAR,INSIDE

SN: 20007-UP

1шт.

15

101-30-15160

COLLAR,OUTSIDE

SN: 20007-UP

1шт.

16

100-30-15180

RING,SNAP

SN: 20007-UP

2шт.

17

101-30-11430

BOLT,SEAL

SN: 20007-UP

1шт.

18

01010-31445

BOLT

SN: 20007-UP

40шт.

19

01602-01442

WASHER,SPRING

SN: 20007-UP

40шт.

20

100-30-15150

PLATE

SN: 20007-UP

10шт.

Выбрано товаров: 24