Запчасти Komatsu 4D92-1B - -

Схема запчастей Komatsu 4D92-1B - - -
FIT
1:1
100%

Артикул

Название

Примечание

Количество

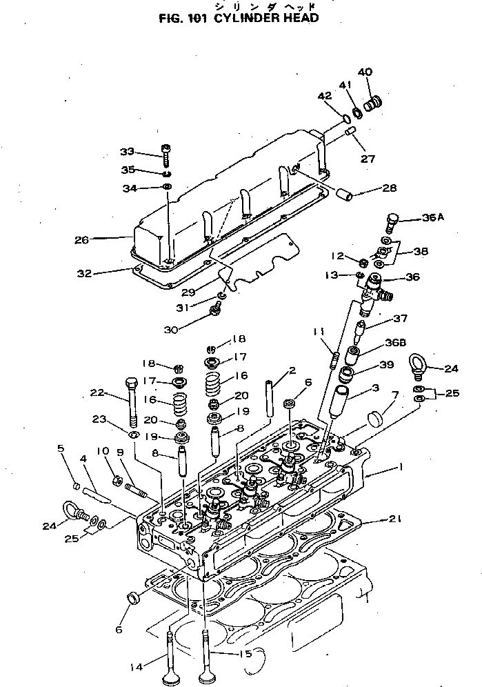
|1

6141-11-1010

SN: 11008-UP

1шт.

|1

6141-11-1103

SN: 19925-UP

1шт.

|1

0

SN: 13899-19924

1шт.

|1

0

SN: 11008-13898

1шт.

1

0

SN: 19925-UP

1шт.

|1

0

SN: 11008-19924

1шт.

2

6140-11-1123

SN: 13943-UP

1шт.

|2

0

SN: (13943-23742)

1шт.

|2

0

SN: 11008-13942

1шт.

3

6140-11-1132

SN: 19281-UP

4шт.

|3

0

SN: 11008-19280

4шт.

4

6140-11-1140

SN: 11008-UP

4шт.

5

6140-11-1150

SN: 11008-UP

4шт.

6

6140-11-1160

SN: 11008-UP

15шт.

7

6140-11-1170

SN: 11008-UP

1шт.

8

6140-19-1310

SN: 11008-UP

8шт.

9

01140-61045

SN: 11008-UP

8шт.

10

6110-11-1190

SN: 11008-UP

8шт.

11

01100-30845

SN: 11008-UP

8шт.

12

01580-00806

SN: 11008-UP

8шт.

13

01602-00825

SN: 11008-UP

8шт.

14

6140-41-4111

SN: 19925-UP

4шт.

|14

0

SN: 11008-19924

4шт.

15

6140-41-4211

SN: 19925-UP

4шт.

|15

0

SN: 11008-19924

4шт.

16

6140-41-4410

SN: 11008-UP

8шт.

17

6140-41-4511

SN: 11008-UP

8шт.

18

6140-41-4520

SN: 11008-UP

16шт.

19

6140-41-4530

SN: 11008-UP

8шт.

20

6140-41-4540

SN: 11008-UP

8шт.

21

6141-11-1813

SN: .-UP

1шт.

|21

0

SN: 11008-.

1шт.

22

6142-11-1610

SN: 55593-UP

17шт.

|22

0

SN: 13943-55592

17шт.

|22

0

SN: 11008-13942

17шт.

23

6140-11-1620

SN: 11008-55592

17шт.

24

04530-01222

SN: 11008-UP

2шт.

25

6140-11-1510

SN: 11008-UP

4шт.

|26

6141-11-8107

SN: .-UP

1шт.

|26

0

SN: 38497-.

1шт.

|26

0

SN: 16352-38496

1шт.

|26

0

SN: 14168-16351

1шт.

|26

0

SN: 11008-14167

1шт.

26

0

SN: 16352-UP

1шт.

|26

0

SN: 11008-16351

1шт.

27

04020-00820

SN: 11008-UP

1шт.

28

6141-11-8213

SN: .-UP

1шт.

|28

0

SN: 38497-.

1шт.

|28

0

SN: 16352-38496

1шт.

|28

6141-11-8210

SN: 14168-16351

1шт.

|28

0

SN: 11008-14167

1шт.

29

6141-11-8221

SN: 16352-UP

1шт.

|29

6141-11-8220

SN: 11008-16351

1шт.

30

01010-30614

SN: 11008-UP

2шт.

31

01602-00619

SN: 11008-UP

2шт.

32

6141-11-8811

SN: 11008-UP

1шт.

33

01252-30835

SN: 11008-UP

10шт.

34

01641-20812

SN: 11008-UP

10шт.

35

01602-00825

SN: 11008-UP

10шт.

|36

6140-11-3103

SN: 11008-UP

4шт.

36

6140-11-3112

SN: 11008-UP

1шт.

36A

6140-11-3150

SN: 11008-UP

1шт.

36B

DK150639-4200

SN: 11008-UP

1шт.

37

6140-11-3132

SN: 11008-UP

1шт.

38

6127-11-3160

SN: 11008-UP

2шт.

39

6140-11-3240

SN: 11008-UP

4шт.

|1

6141-11-1010

SN: 11008-UP

1шт.

|1

6141-11-1103

SN: 19925-UP

1шт.

|1

0

SN: 13899-19924

1шт.

|1

0

SN: 11008-13898

1шт.

1

0

SN: 19925-UP

1шт.

|1

0

SN: 11008-19924

1шт.

2

6140-11-1123

SN: 13943-UP

1шт.

|2

0

SN: (13943-23742)

1шт.

|2

0

SN: 11008-13942

1шт.

3

6140-11-1132

SN: 19281-UP

4шт.

|3

0

SN: 11008-19280

4шт.

4

6140-11-1140

SN: 11008-UP

4шт.

5

6140-11-1150

SN: 11008-UP

4шт.

6

6140-11-1160

SN: 11008-UP

15шт.

7

6140-11-1170

SN: 11008-UP

1шт.

8

6140-19-1310

SN: 11008-UP

8шт.

9

01140-61045

SN: 11008-UP

8шт.

10

6110-11-1190

SN: 11008-UP

8шт.

11

01100-30845

SN: 11008-UP

8шт.

12

01580-00806

SN: 11008-UP

8шт.

13

01602-00825

SN: 11008-UP

8шт.

14

6140-41-4111

SN: 19925-UP

4шт.

|14

0

SN: 11008-19924

4шт.

15

6140-41-4211

SN: 19925-UP

4шт.

|15

0

SN: 11008-19924

4шт.

16

6140-41-4410

SN: 11008-UP

8шт.

17

6140-41-4511

SN: 11008-UP

8шт.

18

6140-41-4520

SN: 11008-UP

16шт.

19

6140-41-4530

SN: 11008-UP

8шт.

20

6140-41-4540

SN: 11008-UP

8шт.

21

6141-11-1813

SN: .-UP

1шт.

|21

0

SN: 11008-.

1шт.

22

6142-11-1610

SN: 55593-UP

17шт.

|22

0

SN: 13943-55592

17шт.

|22

0

SN: 11008-13942

17шт.

23

6140-11-1620

SN: 11008-55592

17шт.

24

04530-01222

SN: 11008-UP

2шт.

25

6140-11-1510

SN: 11008-UP

4шт.

|26

6141-11-8107

SN: .-UP

1шт.

|26

0

SN: 38497-.

1шт.

|26

0

SN: 16352-38496

1шт.

|26

0

SN: 14168-16351

1шт.

|26

0

SN: 11008-14167

1шт.

26

0

SN: 16352-UP

1шт.

|26

0

SN: 11008-16351

1шт.

27

04020-00820

SN: 11008-UP

1шт.

28

6141-11-8213

SN: .-UP

1шт.

|28

0

SN: 38497-.

1шт.

|28

0

SN: 16352-38496

1шт.

|28

6141-11-8210

SN: 14168-16351

1шт.

|28

0

SN: 11008-14167

1шт.

29

6141-11-8221

SN: 16352-UP

1шт.

|29

6141-11-8220

SN: 11008-16351

1шт.

30

01010-30614

SN: 11008-UP

2шт.

31

01602-00619

SN: 11008-UP

2шт.

32

6141-11-8811

SN: 11008-UP

1шт.

33

01252-30835

SN: 11008-UP

10шт.

34

01641-20812

SN: 11008-UP

10шт.

35

01602-00825

SN: 11008-UP

10шт.

|36

6140-11-3103

SN: 11008-UP

4шт.

36

6140-11-3112

SN: 11008-UP

1шт.

36A

6140-11-3150

SN: 11008-UP

1шт.

36B

DK150639-4200

SN: 11008-UP

1шт.

37

6140-11-3132

SN: 11008-UP

1шт.

38

6127-11-3160

SN: 11008-UP

2шт.

39

6140-11-3240

SN: 11008-UP

4шт.

Выбрано товаров: 132