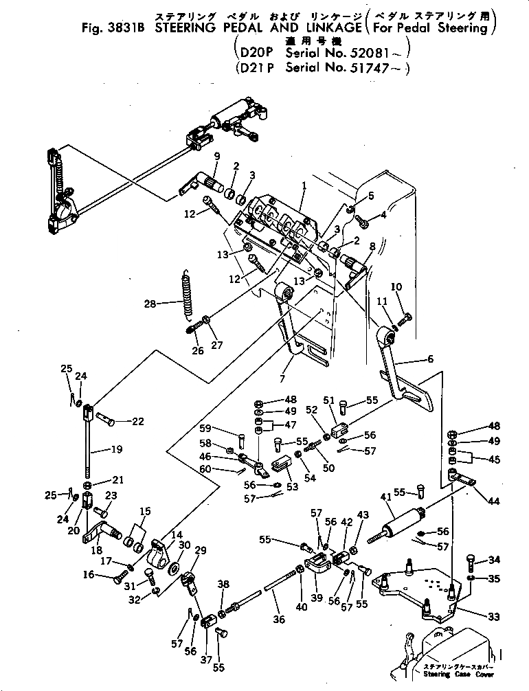
Запчасти Komatsu D21P-5A РУЛЕВ. УПРАВЛЕНИЕ ПЕДАЛЬ И МЕХАНИЗМ (ДЛЯ ПЕДАЛЬ РУЛЕВ. УПРАВЛЕНИЕ)(№77-) ОПЦИОННЫЕ КОМПОНЕНТЫ

Схема запчастей Komatsu D21P-5A - РУЛЕВ. УПРАВЛЕНИЕ ПЕДАЛЬ И МЕХАНИЗМ (ДЛЯ ПЕДАЛЬ РУЛЕВ. УПРАВЛЕНИЕ)(№77-) ОПЦИОННЫЕ КОМПОНЕНТЫ
FIT
1:1
100%

Артикул

Название

Примечание

Количество

|$0

103-43-00010

BRACKET ASS'Y

SN: 50001-UP

1шт.

1

0

BRACKET

SN: 50001-UP

1шт.

2

09350-03020

BUSHING

SN: 50001-UP

2шт.

3

09350-02520

BUSHING

SN: 50001-UP

2шт.

4

01010-31030

BOLT

SN: 45003-UP

2шт.

5

01602-01030

WASHER,SPRING

SN: 45003-UP

2шт.

6

103-43-21121

PEDAL,L.H.

SN: 50001-UP

1шт.

7

103-43-21131

PEDAL,R.H.

SN: 50001-UP

1шт.

8

103-43-21141

LEVER,L.H.

SN: 50001-UP

1шт.

9

103-43-21151

LEVER,R.H.

SN: 50001-UP

1шт.

10

01010-31030

BOLT

SN: 50001-UP

2шт.

11

01602-01030

WASHER,SPRING

SN: 50001-UP

2шт.

12

113-43-21340

BUMPER

SN: 45003-UP

2шт.

13

01580-01008

NUT

SN: 45003-UP

2шт.

|$14

103-43-00020

BRACKET ASS'Y

SN: 50001-UP

2шт.

14

0

BRACKET

SN: 50001-UP

1шт.

15

09350-02520

BUSHING

SN: 50001-UP

2шт.

16

01010-31020

BOLT

SN: 50001-UP

6шт.

17

01602-01030

WASHER,SPRING

SN: 50001-UP

6шт.

18

103-43-21190

LEVER

SN: 45003-UP

2шт.

19

04244-41030

ROD

SN: 50001-UP

2шт.

20

04210-21040

YOKE

SN: 50001-UP

2шт.

21

01582-01008

NUT

SN: 50001-UP

2шт.

22

103-43-21170

PIN

SN: 50001-UP

2шт.

23

04205-01030

PIN

SN: 50001-UP

2шт.

24

01641-21016

WASHER

SN: 50001-UP

4шт.

25

04050-03015

PIN,COTTER

SN: 50001-UP

4шт.

26

103-43-21260

BOLT

SN: 50001-UP

2шт.

27

01580-01008

NUT

SN: 50001-UP

2шт.

28

113-890-6170

SPRING

SN: 50001-UP

2шт.

29

103-43-21210

LEVER

SN: 50001-UP

2шт.

30

01640-22032

WASHER

SN: 50001-UP

2шт.

31

01010-30830

BOLT

SN: 50001-UP

2шт.

32

01602-00825

WASHER,SPRING

SN: 50001-UP

2шт.

33

103-43-21320

BRACKET

SN: 52081-UP

1шт.

34

01010-31030

BOLT

SN: 52081-UP

4шт.

35

01602-01030

WASHER,SPRING

SN: 45003-UP

4шт.

36

04248-31062

ROD

SN: 50001-UP

2шт.

37

04210-21040

YOKE

SN: 50001-UP

2шт.

38

01582-01008

NUT

SN: 50001-UP

2шт.

39

103-43-21223

YOKE

SN: 50001-UP

2шт.

40

01508-11006

NUT, L.H. THREAD,L.H. THREAD

SN: 50001-UP

2шт.

41

103-43-21311

SPRING,LOOSE

SN: 52356-UP

2шт.

41

0

SPRING,LOOSE

SN: 51747-52355

2шт.

42

04210-21040

YOKE

SN: 45003-UP

2шт.

43

01582-01008

NUT

SN: 45003-UP

2шт.

43

103-43-00220

LEVER ASS'Y

SN: 51747-UP

2шт.

44

0

LEVER

SN: 51747-UP

1шт.

45

09350-01415

BUSHING

SN: 51747-UP

2шт.

|$49

103-43-00231

LEVER ASS'Y,L.H.

SN: 52356-UP

1шт.

|$50

0

LEVER ASS'Y,L.H.

SN: 51747-52355

1шт.

|$$52

(103-43-00231,103-43-00241,

-1шт.

|$$53

103-43-21380,103-43-21390,

-1шт.

|$$54

04050-11610)

-1шт.

|$54

103-43-00241

LEVER ASS'Y,R.H.

SN: 52356-UP

1шт.

|$55

103-43-00240

LEVER ASS'Y,R.H.

SN: 51747-52355

1шт.

|$$57

(103-43-00231,103-43-00241,

-1шт.

|$$58

103-43-21380,103-43-21390,

-1шт.

|$$59

04050-11610)

-1шт.

46

0

LEVER,L.H.

SN: 52356-UP

1шт.

46

0

LEVER,L.H.

SN: 52081-52355

1шт.

46

0

LEVER,R.H.

SN: 52356-UP

1шт.

46

0

LEVER,R.H.

SN: 51747-52355

1шт.

47

09350-01415

BUSHING

SN: 51747-UP

2шт.

48

01598-00809

NUT

SN: 51747-UP

4шт.

49

113-43-23230

WASHER

SN: 51747-UP

4шт.

50

101-40-11571

ROD

SN: 51747-UP

2шт.

51

04220-21040

YOKE,L.H. THREAD

SN: 51747-UP

2шт.

52

01580-21006

NUT,L.H. THREAD

SN: 51747-UP

2шт.

53

04211-21055

YOKE

SN: 51747-UP

2шт.

54

01582-11008

NUT

SN: 51747-UP

2шт.

55

04205-01030

PIN

SN: 51747-UP

12шт.

56

01641-21016

WASHER

SN: 51747-UP

12шт.

57

04050-03015

PIN,COTTER

SN: 51747-UP

12шт.

58

103-43-21380

ROLLER

SN: 51747-UP

2шт.

59

103-43-21390

PIN

SN: 51747-UP

2шт.

60

04050-01610

PIN,COTTER

SN: 51747-UP

2шт.

Выбрано товаров: 77