Запчасти Komatsu D21P-6 ТРАНСМИССИЯ (F-R) (/7) (1 КОЖУХ) ОСНОВН. МУФТА¤ТРАНСМИССИЯ¤ РУЛЕВ. УПРАВЛЕНИЕ И КОНЕЧНАЯ ПЕРЕДАЧА

Схема запчастей Komatsu D21P-6 - ТРАНСМИССИЯ (F-R) (/7) (1 КОЖУХ) ОСНОВН. МУФТА¤ТРАНСМИССИЯ¤ РУЛЕВ. УПРАВЛЕНИЕ И КОНЕЧНАЯ ПЕРЕДАЧА
FIT
1:1
100%

Артикул

Название

Примечание

Количество

|$0

104-15-00080

TRANSMISSION ASS'Y

SN: 64856-UP

1шт.

|$1

0

TRANSMISSION ASS'Y

SN: 60001-64855

1шт.

|$$3

THESE ASSEMBLIES CONSIST OF ALL PARTS SHOWN IN FIGS.2511 TO 2517 AND 2553, 2563.

-1шт.

|$3

104-15-00510

TRANSMISSION ASS'Y

SN: 64856-UP

1шт.

|$4

0

TRANSMISSION ASS'Y

SN: 60001-64855

1шт.

|$$6

THESE ASSEMBLIES CONSIST OF ALL PARTS SHOWN IN FIGS.2511 TO 2515 AND 2517.

-1шт.

|$6

104-15-00540

HOUSING ASS'Y,1ST

SN: 64856-UP

1шт.

|$7

0

HOUSING ASS'Y,1ST

SN: 60001-64855

1шт.

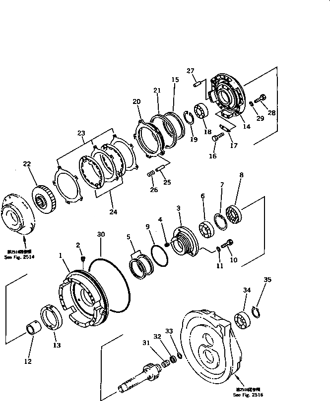
1

0

HOUSING

SN: 64856-UP

1шт.

1

0

HOUSING

SN: 60001-64855

1шт.

2

07043-00108

PLUG

SN: 60001-UP

2шт.

3

104-15-31210

CASE

SN: 64856-UP

1шт.

3

104-15-21211

CASE

SN: 60001-64855

1шт.

4

175-15-11230

PLUG

SN: 60001-UP

1шт.

5

07018-20954

RING,SEAL

SN: 60001-UP

2шт.

6

06000-06009

BEARING

SN: 60001-UP

1шт.

7

04065-07525

RING,SNAP

SN: 60001-UP

1шт.

8

07011-10058

SEAL,OIL

SN: 60001-UP

1шт.

9

07000-02105

O-RING

SN: 60001-UP

1шт.

10

01010-51020

BOLT

SN: 64856-UP

4шт.

10

01010-51025

BOLT

SN: 60001-64855

4шт.

11

01602-21030

WASHER,SPRING

SN: 60001-UP

4шт.

12

104-15-32160

SPACER

SN: 64856-UP

1шт.

12

104-15-22161

SPACER

SN: 60001-64855

1шт.

13

113-15-22390

COLLAR

SN: 60001-UP

1шт.

14

104-15-32340

HOUSING

SN: 64856-UP

1шт.

14

104-15-22340

HOUSING

SN: 60001-64855

1шт.

15

568-15-12860

SEAL,RING

SN: 60001-UP

1шт.

16

01010-50820

BOLT

SN: 60001-UP

4шт.

17

113-15-22370

LOCK

SN: 60001-UP

2шт.

18

06000-06008

BEARING

SN: 60001-UP

1шт.

19

04065-06825

RING,SNAP

SN: 60001-UP

1шт.

20

113-15-22780

PISTON,1ST

SN: 60001-UP

1шт.

21

287-15-19210

RING,SEAL

SN: 60001-UP

1шт.

22

104-15-32270

HUB

SN: 64856-UP

1шт.

22

104-15-22270

HUB

SN: 60001-64855

1шт.

23

113-15-22750

PLATE

SN: 60001-UP

3шт.

24

103-15-32711

DISC

SN: 62960-UP

2шт.

24

103-15-32710

DISC

SN: 60001-62959

2шт.

25

104-15-21280

PIN

SN: 60001-UP

10шт.

26

104-15-22930

SPRING

SN: 60001-UP

5шт.

27

04020-01024

PIN,DOWEL

SN: 60001-UP

2шт.

28

01010-80845

BOLT

SN: 60001-UP

10шт.

29

01602-20825

WASHER,SPRING

SN: 60001-UP

10шт.

30

07000-05270

O-RING

SN: 60001-UP

1шт.

31

113-15-29440

BEARING,NEEDLE

SN: 60001-UP

1шт.

32

113-15-39120

SEAL,DUST

SN: 60001-UP

1шт.

33

113-15-29520

RING,SNAP

SN: 60001-UP

1шт.

34

06042-00208

BEARING

SN: 60001-UP

1шт.

35

103-15-29510

RING,SNAP

SN: 60001-UP

1шт.

Выбрано товаров: 50