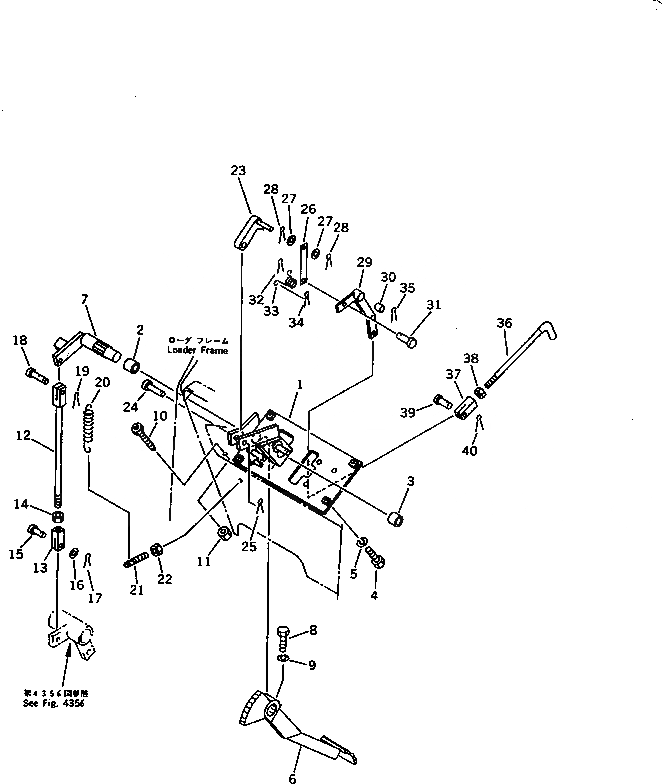
Запчасти Komatsu D21P-6 ПЕДАЛЬ ТОРМОЗА (ДЛЯ РЫЧАГ РУЛЕВ. УПРАВЛЕНИЕ) СИСТЕМА УПРАВЛЕНИЯ

Схема запчастей Komatsu D21P-6 - ПЕДАЛЬ ТОРМОЗА (ДЛЯ РЫЧАГ РУЛЕВ. УПРАВЛЕНИЕ) СИСТЕМА УПРАВЛЕНИЯ
FIT
1:1
100%

Артикул

Название

Примечание

Количество

|$0

103-43-00460

BRACKET ASS'Y

SN: 60001-UP

1шт.

1

0

BRACKET

SN: 60001-UP

1шт.

2

09350-03020

BUSHING

SN: 60001-UP

1шт.

3

09350-02520

BUSHING

SN: 60001-UP

1шт.

4

01010-51030

BOLT

SN: 60001-UP

2шт.

5

01602-21030

WASHER,SPRING

SN: 60001-UP

2шт.

6

103-43-31213

PEDAL

SN: 64784-UP

1шт.

6

103-43-31212

PEDAL

SN: 61845-64783

1шт.

6

103-43-31211

PEDAL

SN: 60001-61844

1шт.

7

103-43-33210

LEVER \

SN: 60001-UP

1шт.

8

01010-51030

BOLT

SN: 60001-UP

1шт.

9

01602-21030

WASHER,SPRING

SN: 60001-UP

1шт.

10

113-43-21340

BUMPER

SN: 60001-UP

1шт.

11

01580-11008

NUT

SN: 60001-UP

1шт.

12

04244-41031

ROD

SN: 60001-UP

1шт.

13

04210-21040

YOKE

SN: 60001-UP

1шт.

14

01582-11008

NUT

SN: 60001-UP

1шт.

15

04205-11028

PIN

SN: 60001-UP

1шт.

16

01641-21016

WASHER

SN: 60001-UP

1шт.

17

04050-13020

PIN,COTTER

SN: 60001-UP

1шт.

18

103-43-21170

PIN

SN: 60001-UP

1шт.

19

04050-13020

PIN,COTTER

SN: 60001-UP

1шт.

20

113-890-6170

SPRING

SN: 60001-UP

1шт.

21

103-43-21260

BOLT

SN: 60001-UP

1шт.

22

01580-11008

NUT

SN: 60001-UP

1шт.

23

103-43-32310

PLATE \

SN: 60001-UP

1шт.

24

04205-11445

PIN

SN: 60001-UP

1шт.

25

04050-14028

PIN,COTTER

SN: 60001-UP

1шт.

26

103-43-32320

PLATE

SN: 60001-UP

1шт.

27

01643-50823

WASHER

SN: 60001-UP

2шт.

28

04050-13015

PIN,COTTER

SN: 60001-UP

2шт.

|$31

103-43-00470

LEVER ASS'Y

SN: 60001-UP

1шт.

29

0

LEVER

SN: 60001-UP

1шт.

30

09350-01420

BUSHING

SN: 60001-UP

1шт.

31

04205-10622

PIN

SN: 60001-UP

1шт.

32

04050-11612

PIN,COTTER

SN: 60001-UP

1шт.

33

09463-00006

SPRING

SN: 60001-UP

1шт.

34

04050-11610

PIN,COTTER

SN: 60001-UP

1шт.

35

04050-14028

PIN,COTTER

SN: 60001-UP

1шт.

36

103-43-32350

HANDLE

SN: 60001-UP

1шт.

37

04210-20832

YOKE

SN: 60001-UP

1шт.

38

01580-10806

NUT

SN: 60001-UP

1шт.

39

04205-10822

PIN

SN: 60001-UP

1шт.

40

04050-12015

PIN,COTTER

SN: 60001-UP

1шт.

Выбрано товаров: 44