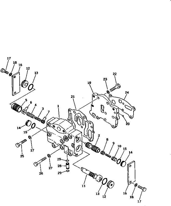
Запчасти Komatsu D21P-6 ТРАНСМИССИЯ (F-R) (MODULATION) ОСНОВН. МУФТА¤ТРАНСМИССИЯ¤ РУЛЕВ. УПРАВЛЕНИЕ И КОНЕЧНАЯ ПЕРЕДАЧА

Схема запчастей Komatsu D21P-6 - ТРАНСМИССИЯ (F-R) (MODULATION) ОСНОВН. МУФТА¤ТРАНСМИССИЯ¤ РУЛЕВ. УПРАВЛЕНИЕ И КОНЕЧНАЯ ПЕРЕДАЧА
FIT
1:1
100%

Артикул

Название

Примечание

Количество

|1

103-15-00601

TRANSMISSION ASS'Y

SN: 62806-UP

1шт.

|1

0

TRANSMISSION ASS'Y

SN: 60001-62805

1шт.

|$$3

THESE ASSEMBLIES CONSIST OF ALL PARTS SHOWN IN FIGS.2501 TO 2506 AND 2551¤ 2561.

-1шт.

|1

103-15-00710

VALVE ASS'Y,MODULATION

SN: 60001-UP

1шт.

1

104-15-25110

BODY

SN: 60001-UP

1шт.

2

104-15-25210

SPOOL,MODULATING

SN: 60001-UP

1шт.

3

103-15-35250

SPRING

SN: 60001-UP

1шт.

4

103-15-35260

SPRING

SN: 60001-UP

1шт.

5

103-15-35220

VALVE

SN: 60001-UP

1шт.

6

113-15-25270

SHIM¤ 0.2MM

SN: 60001-UP

2шт.

|6

113-15-25260

SHIM¤ 0.5MM

SN: 60001-UP

3шт.

7

103-15-35270

SHIM¤ 0.5MM

SN: 60001-UP

3шт.

8

104-15-25490

VALVE

SN: 60001-UP

1шт.

9

125-15-15290

SPRING

SN: 60001-UP

1шт.

10

104-15-25480

VALVE

SN: 60001-UP

1шт.

11

361-15-15320

SPOOL,QUICK RETURN

SN: 60001-UP

1шт.

12

104-15-25330

STOPPER

SN: 60001-UP

2шт.

13

07000-73025

O-RING

SN: 60001-UP

2шт.

14

104-15-25340

STOPPER

SN: 60001-UP

2шт.

15

07000-72020

O-RING

SN: 60001-UP

2шт.

16

103-15-25350

PLATE

SN: 60001-UP

2шт.

17

01010-50820

BOLT

SN: 60001-UP

4шт.

18

01643-30823

WASHER

SN: 60001-UP

4шт.

|19

103-15-00740

SEAT ASS'Y

SN: 60001-UP

1шт.

19

0

SEAT

SN: 60001-UP

1шт.

20

04260-00635

BALL

SN: 60001-UP

1шт.

21

103-15-35140

GASKET

SN: 60001-UP

1шт.

22

01010-51025

BOLT

SN: 60001-UP

2шт.

23

01643-31032

WASHER

SN: 60001-UP

2шт.

24

103-15-35910

GASKET

SN: 60001-UP

1шт.

25

01010-50860

BOLT

SN: 60001-UP

2шт.

26

01010-50870

BOLT

SN: 60001-UP

6шт.

27

01643-30823

WASHER

SN: 60001-UP

8шт.

28

103-15-31770

SLEEVE

SN: 60001-UP

1шт.

29

07000-72014

O-RING

SN: 60001-UP

2шт.

Выбрано товаров: 35