Запчасти Komatsu D21P-6 ГУСЕНИЧНАЯ РАМА (ДЛЯ -ОПОРНЫЙ КАТОК) ГУСЕНИЦЫ

Схема запчастей Komatsu D21P-6 - ГУСЕНИЧНАЯ РАМА (ДЛЯ -ОПОРНЫЙ КАТОК) ГУСЕНИЦЫ
FIT
1:1
100%

Артикул

Название

Примечание

Количество

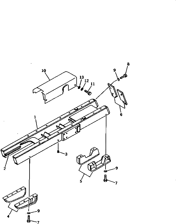
1

10G-30-21130

FRAME,TRACK¤ L.H.

SN: 60001-UP

1шт.

|1

10G-30-21140

FRAME,TRACK¤ R.H.

SN: 60001-UP

1шт.

2

103-30-21130

PLATE (WELDED)

SN: 60001-UP

2шт.

3

07049-01418

PLUG

SN: 60001-UP

16шт.

4

104-30-22111

GUARD,L.H. OUTER¤ R.H. INNER

SN: 60001-UP

2шт.

|4

104-30-22121

GUARD,L.H. INNER¤ R.H. OUTER

SN: 60001-UP

2шт.

5

10G-30-22210

GUARD,L.H. INNER¤ R.H. OUTER

SN: 60001-UP

2шт.

|5

10G-30-22220

GUARD,L.H. OUTER¤ R.H. INNER

SN: 60001-UP

2шт.

6

102-30-21190

GUARD

SN: 60001-UP

4шт.

7

01010-51425

BOLT

SN: 60001-UP

24шт.

8

01010-51435

BOLT

SN: 60001-UP

16шт.

9

01602-21442

WASHER,SPRING

SN: 60001-UP

40шт.

10

10G-30-27110

COVER,L.H.

SN: 60001-UP

1шт.

|10

103-30-37110

COVER,R.H.

SN: 60001-UP

1шт.

11

01010-51025

BOLT

SN: 60001-UP

8шт.

12

01602-21030

WASHER,SPRING

SN: 60001-UP

8шт.

13

01643-31032

WASHER

SN: 60001-UP

8шт.

Выбрано товаров: 17