Запчасти Komatsu D21P-6A КАБИНА ROPS (/) (ЭЛЕКТРИКА) ЧАСТИ КОРПУСА

Схема запчастей Komatsu D21P-6A - КАБИНА ROPS (/) (ЭЛЕКТРИКА) ЧАСТИ КОРПУСА
FIT
1:1
100%

Артикул

Название

Примечание

Количество

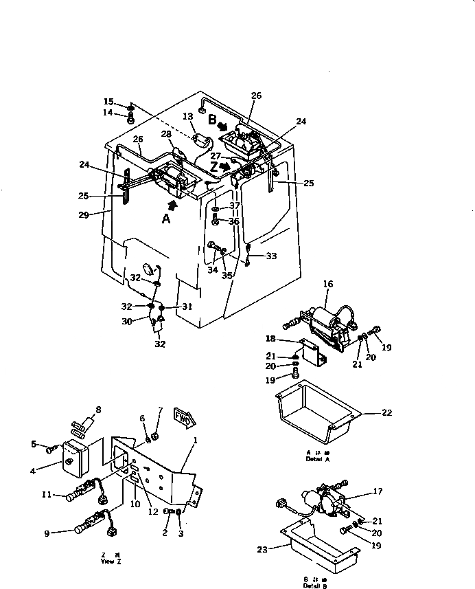
1

113-X79-2460

PANEL

SN: 60001-UP

1шт.

2

01220-40612

SCREW

SN: 60001-UP

4шт.

3

01602-20619

WASHER,SPRING

SN: 60001-UP

4шт.

4

08043-04000

BOX,FUSE

SN: 60001-UP

1шт.

5

01220-40520

SCREW

SN: 60001-UP

2шт.

6

01601-20513

WASHER,SPRING

SN: 60001-UP

2шт.

7

01580-10504

NUT

SN: 60001-UP

2шт.

8

08040-02000

FUSE, 20A

SN: 60001-UP

2шт.

8

08040-01000

FUSE, 10A

SN: 60001-UP

2шт.

9

205-06-61160

SWITCH,WIPER, FRONT

SN: 60001-UP

1шт.

10

131-915-3380

PLATE, OPERATING,WIPER SWITCH, FRONT

SN: 60001-UP

1шт.

11

205-06-61160

SWITCH,WIPER, REAR

SN: 60001-UP

1шт.

12

131-915-3370

PLATE, OPERATING,WIPER SWITCH, REAR

SN: 60001-UP

1шт.

13

08141-02400

LAMP,ROOM

SN: 60001-UP

1шт.

14

01220-40616

SCREW

SN: 60001-UP

2шт.

15

01601-20410

WASHER,SPRING

SN: 60001-UP

2шт.

16

113-Y79-2320

WIPER,FRONT

SN: 60001-UP

1шт.

17

113-Y79-2330

WIPER,REAR

SN: 60001-UP

1шт.

18

113-Y79-2360

BRACKET

SN: 60001-UP

1шт.

19

01010-50616

BOLT

SN: 60001-UP

8шт.

20

01602-20619

WASHER,SPRING

SN: 60001-UP

8шт.

21

01642-20608

WASHER

SN: 60001-UP

6шт.

22

113-Y79-2470

COVER,FRONT

SN: 60001-UP

1шт.

23

113-Y79-2480

COVER,REAR

SN: 60001-UP

1шт.

24

08184-10550

ARM

SN: 60001-UP

2шт.

25

08185-00400

BLADE

SN: 60001-UP

2шт.

26

113-X79-2410

WIRE ASS'Y

SN: 60001-UP

1шт.

27

113-Y79-2420

WIRE ASS'Y

SN: 60001-UP

1шт.

28

113-Y79-2430

WIRE ASS'Y

SN: 60001-UP

1шт.

29

113-Y79-2440

WIRE

SN: 60001-UP

1шт.

30

113-Z79-1730

WIRE

SN: 60001-UP

1шт.

31

08037-01008

GROMMET

SN: 60001-UP

1шт.

32

08034-00414

BAND

SN: 60001-UP

7шт.

33

08029-05020

WIRE

SN: 60001-UP

1шт.

34

01220-40512

SCREW

SN: 60001-UP

1шт.

35

01601-20513

WASHER,SPRING

SN: 60001-UP

1шт.

36

01220-40610

SCREW

SN: 60001-UP

1шт.

37

01602-20619

WASHER,SPRING

SN: 60001-UP

1шт.

Выбрано товаров: 38