Запчасти Komatsu D21P-6A ГУСЕНИЧНАЯ РАМА (С SEPARATE ТИП ЗАЩИТА ОПОРНЫХ КАТКОВ) ГУСЕНИЦЫ

Схема запчастей Komatsu D21P-6A - ГУСЕНИЧНАЯ РАМА (С SEPARATE ТИП ЗАЩИТА ОПОРНЫХ КАТКОВ) ГУСЕНИЦЫ
FIT
1:1
100%

Артикул

Название

Примечание

Количество

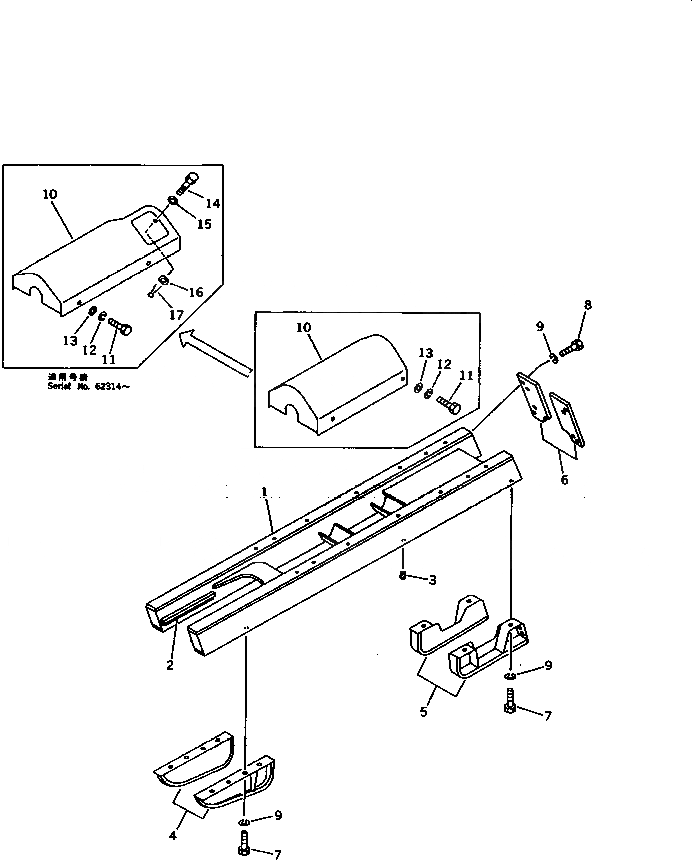
1

103-30-31110

FRAME,TRACK, L.H.

SN: 60001-UP

1шт.

1

103-30-31120

FRAME,TRACK, R.H.

SN: 60001-UP

1шт.

2

103-30-21130

PLATE (WELDED)

SN: 60001-UP

2шт.

3

07049-01418

PLUG

SN: 60001-UP

12шт.

4

104-30-22111

GUARD,L.H. OUTER, R.H. INNER

SN: 60001-UP

2шт.

4

104-30-22121

GUARD,L.H. INNER, R.H. OUTER

SN: 60001-UP

2шт.

5

104-30-22142

GUARD,L.H. INNER, R.H. OUTER

SN: 60001-UP

2шт.

5

104-30-22132

GUARD,L.H. OUTER, R.H. INNER

SN: 60001-UP

2шт.

6

102-30-21190

GUARD

SN: 60001-UP

4шт.

7

01010-51425

BOLT

SN: 60001-UP

24шт.

8

01010-51435

BOLT

SN: 60001-UP

16шт.

9

01602-21442

WASHER,SPRING

SN: 60001-UP

40шт.

10

103-30-37180

COVER,L.H.

SN: 62314-UP

1шт.

10

103-30-37110

COVER,L.H.

SN: 60001-62313

1шт.

10

103-30-37190

COVER,R.H.

SN: 62314-UP

1шт.

10

103-30-37110

COVER,R.H.

SN: 60001-62313

1шт.

11

01010-51025

BOLT

SN: 62314-UP

10шт.

11

01010-51025

BOLT

SN: 60001-62313

8шт.

12

01602-21030

WASHER,SPRING

SN: 62314-UP

10шт.

12

01602-21030

WASHER,SPRING

SN: 60001-62313

8шт.

13

01643-31032

WASHER

SN: 62314-UP

10шт.

13

01643-31032

WASHER

SN: 60001-62313

8шт.

14

141-30-17160

BOLT

SN: 62314-UP

2шт.

15

01640-21016

WASHER

SN: 62314-UP

2шт.

16

01641-21016

WASHER

SN: 62314-UP

2шт.

17

04050-13015

PIN,COTTER

SN: 62314-UP

2шт.

Выбрано товаров: 26