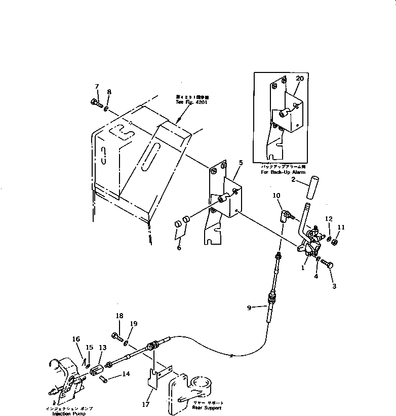
Запчасти Komatsu D21P-6A РЫЧАГ УПРАВЛ-Я ПОДАЧЕЙ ТОПЛИВА (ДЛЯ F-R ТРАНСМИССИЯ) СИСТЕМА УПРАВЛЕНИЯ

Схема запчастей Komatsu D21P-6A - РЫЧАГ УПРАВЛ-Я ПОДАЧЕЙ ТОПЛИВА (ДЛЯ F-R ТРАНСМИССИЯ) СИСТЕМА УПРАВЛЕНИЯ
FIT
1:1
100%

Артикул

Название

Примечание

Количество

1

103-43-35120

LEVER ASS'Y

SN: 60001-UP

1шт.

2

203-43-44360

KNOB

SN: 60001-UP

1шт.

3

07372-21030

BOLT

SN: 60001-UP

2шт.

4

01602-21030

WASHER,SPRING

SN: 60001-UP

2шт.

|$4

103-43-00350

BRACKET ASS'Y

SN: 60001-UP

1шт.

5

0

BRACKET

SN: 60001-UP

1шт.

6

203-43-31420

BUSHING

SN: 60001-UP

2шт.

7

01010-51030

BOLT

SN: 60001-UP

4шт.

8

01602-21030

WASHER,SPRING

SN: 60001-UP

4шт.

9

103-43-35270

CABLE

SN: 60001-UP

1шт.

10

103-43-25160

END,ROD

SN: 60001-UP

1шт.

11

01580-10504

NUT

SN: 60001-UP

1шт.

12

01601-20513

WASHER,SPRING

SN: 60001-UP

1шт.

13

04211-20500

YOKE

SN: 60001-UP

1шт.

14

04205-10516

PIN

SN: 60001-UP

1шт.

15

01641-20508

WASHER

SN: 60001-UP

1шт.

16

04050-11208

PIN,COTTER

SN: 60001-UP

1шт.

17

103-43-35180

BRACKET

SN: 60001-UP

1шт.

18

01010-51020

BOLT

SN: 60001-UP

2шт.

19

01602-21030

WASHER,SPRING

SN: 60001-UP

2шт.

20

103-43-39130

BRACKET,(FOR BACK-UP ALARM)

SN: 60001-UP

1шт.

Выбрано товаров: 21