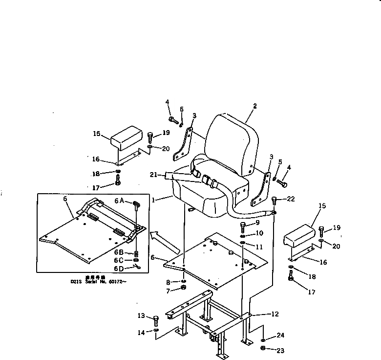
Запчасти Komatsu D21P-6B СИДЕНЬЕ ОПЕРАТОРА (ЖЕСТК.) (ДЛЯ РЫЧАГ РУЛЕВ. УПРАВЛЕНИЕ) ЧАСТИ КОРПУСА

Схема запчастей Komatsu D21P-6B - СИДЕНЬЕ ОПЕРАТОРА (ЖЕСТК.) (ДЛЯ РЫЧАГ РУЛЕВ. УПРАВЛЕНИЕ) ЧАСТИ КОРПУСА
FIT
1:1
100%

Артикул

Название

Примечание

Количество

|$0

103-57-00110

SEAT ASS'Y

SN: 60001-UP

1шт.

1

103-57-31310

CUSHION,SEAT

SN: 60001-UP

1шт.

2

103-57-31320

CUSHION,BACK

SN: 60001-UP

1шт.

3

09403-00090

PLATE

SN: 60001-UP

2шт.

4

01010-51020

BOLT

SN: 60001-UP

8шт.

5

01602-21030

WASHER,SPRING

SN: 60001-UP

8шт.

6

103-57-31113

PLATE

SN: 65861-UP

1шт.

6

103-57-31112

PLATE

SN: 62748-65860

1шт.

6

113-54-24190

HINGE (WELDED)

SN: 62748-UP

2шт.

6

103-57-31111

PLATE

SN: 61151-62747

1шт.

6

0

PLATE

SN: 60001-61150

1шт.

6A

09459-11033

LOCK

SN: 62748-UP

1шт.

6B

09459-01614

SPRING

SN: 62748-UP

1шт.

6C

01642-01016

WASHER

SN: 62748-UP

1шт.

6D

04050-13015

PIN,COTTER

SN: 62748-UP

1шт.

7

01580-11210

NUT

SN: 60001-UP

4шт.

8

01602-21236

WASHER,SPRING

SN: 60001-UP

4шт.

9

01010-51025

BOLT

SN: 60001-UP

4шт.

10

01602-21030

WASHER,SPRING

SN: 60001-UP

4шт.

11

01643-31032

WASHER

SN: 60001-UP

4шт.

12

103-57-31150

FRAME

SN: 60001-UP

1шт.

13

01010-51435

BOLT

SN: 60001-UP

4шт.

14

01602-21442

WASHER,SPRING

SN: 60001-UP

4шт.

15

09402-00000

REST,ARM

SN: 60001-UP

2шт.

16

103-57-31131

PLATE

SN: 65861-UP

2шт.

16

103-57-31130

PLATE

SN: 60001-65860

2шт.

17

01010-50825

BOLT

SN: 60001-UP

4шт.

18

01602-20825

WASHER,SPRING

SN: 60001-UP

4шт.

19

01010-51020

BOLT

SN: 60001-UP

2шт.

20

01602-21030

WASHER,SPRING

SN: 60001-UP

2шт.

21

09409-10001

BELT, LAP

SN: 60001-UP

1шт.

22

09409-00001

BOLT

SN: 60001-UP

2шт.

23

09409-00003

NUT

SN: 60001-UP

2шт.

24

09409-00002

WASHER,SPRING

SN: 60001-UP

2шт.

Выбрано товаров: 34