Запчасти Komatsu D21P-7A-M ОТВАЛ РАБОЧЕЕ ОБОРУДОВАНИЕ

Схема запчастей Komatsu D21P-7A-M - ОТВАЛ РАБОЧЕЕ ОБОРУДОВАНИЕ
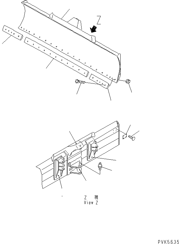
1
2
3
4
5
6
7
7
8
9
10
11
12
FIT
1:1
100%

Артикул

Название

Примечание

Количество

1

10G-72-21201

BLADE

SN: 78604-UP

1шт.

2

104-72-32120

BRACKET (WELDED)

SN: 78604-UP

1шт.

3

104-72-32130

BRACKET (WELDED)

SN: 78604-UP

1шт.

4

104-72-32140

BRACKET (WELDED)

SN: 78604-UP

1шт.

5

104-72-32151

BRACKET (WELDED)

SN: 78604-UP

1шт.

6

10G-72-21260

EDGE,CUTTING

SN: 78604-UP

1шт.

7

10G-72-21270

BIT,END

SN: 78604-UP

2шт.

8

02090-10840

BOLT

SN: 78604-UP

21шт.

9

02290-10813

NUT

SN: 78604-UP

21шт.

10

07020-00900

FITTING,GREASE

SN: 78604-UP

1шт.

11

09601-00835

PLATE¤ NAME,(LIMITED SUPPLY)

SN: 78604-UP

1шт.

12

04418-13060

SCREW

SN: 78604-UP

4шт.

Выбрано товаров: 12