Запчасти Komatsu D21P-7A КЛАПАН ТРАНСМИССИИ (F-R) (MODULATION) (ДЛЯ MONO РЫЧАГ РУЛЕВ. УПРАВЛЕНИЕ) ОСНОВН. МУФТА¤ ДЕМПФЕР¤ ТРАНСМИССИЯ¤ РУЛЕВ. УПРАВЛЕНИЕ И КОНЕЧНАЯ ПЕРЕДАЧА

Схема запчастей Komatsu D21P-7A - КЛАПАН ТРАНСМИССИИ (F-R) (MODULATION) (ДЛЯ MONO РЫЧАГ РУЛЕВ. УПРАВЛЕНИЕ) ОСНОВН. МУФТА¤ ДЕМПФЕР¤ ТРАНСМИССИЯ¤ РУЛЕВ. УПРАВЛЕНИЕ И КОНЕЧНАЯ ПЕРЕДАЧА
FIT
1:1
100%

Артикул

Название

Примечание

Количество

|1

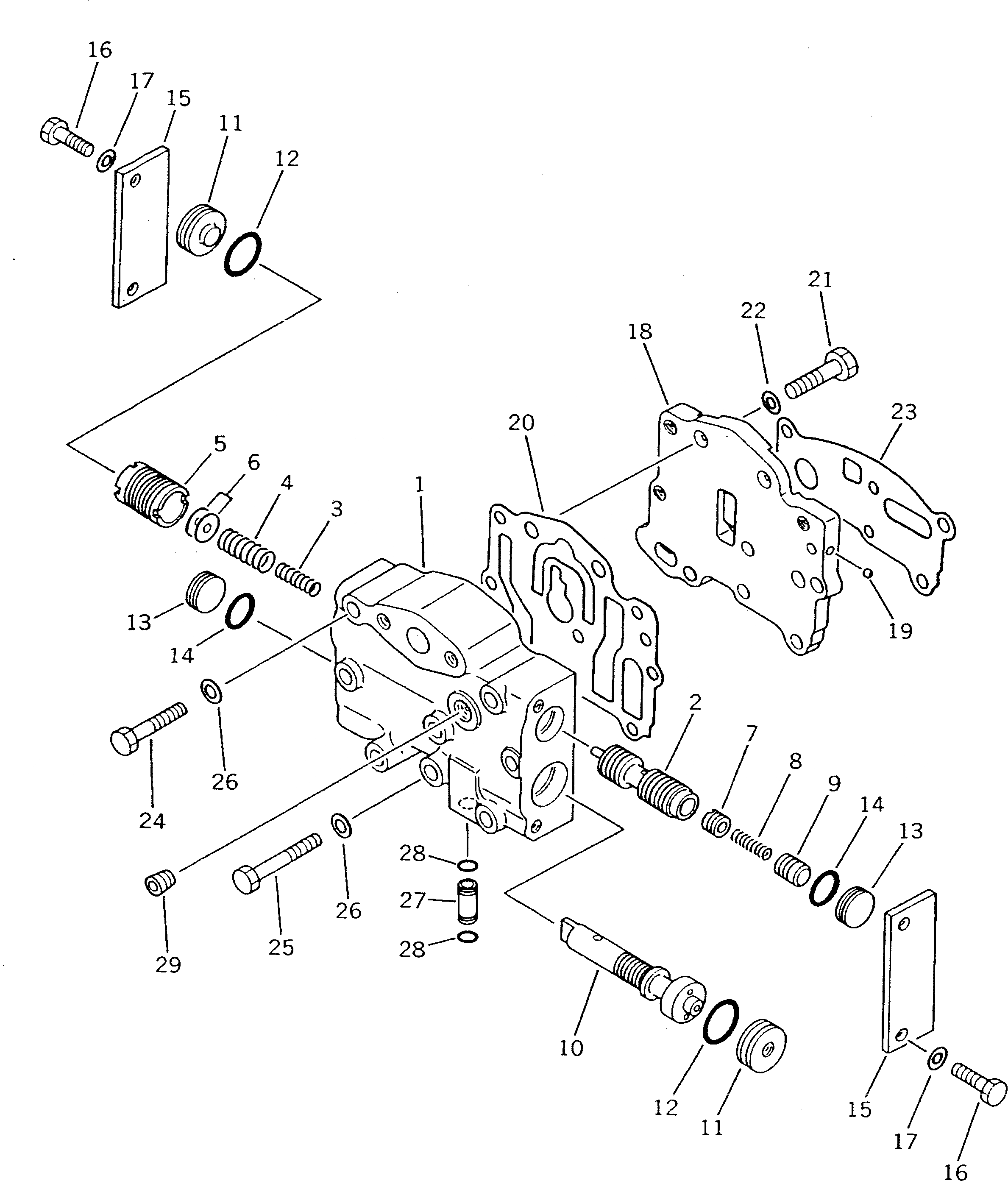
103-15-00602

TRANSMISSION ASS'Y

SN: 75001-UP

1шт.

|$$2

THIS ASSEMBLY CONSISTS OF ALL PARTS SHOWN IN FIGS.2501 TO 2508.

-1шт.

|1

103-15-00612

TRANSMISSION ASS'Y

SN: 75001-UP

1шт.

|$$4

THIS ASSEMBLY CONSISTS OF ALL PARTS SHOWN IN FIGS.2501 TO 2504 AND 2506 TO 2508.

-1шт.

|1

103-15-00710

VALVE ASS'Y,MODULATION

SN: 75001-UP

1шт.

1

104-15-25110

BODY

SN: 75001-UP

1шт.

2

104-15-25210

SPOOL,MODULATING

SN: 75001-UP

1шт.

3

103-15-35251

SPRING

SN: 75001-UP

1шт.

4

103-15-35260

SPRING

SN: 75001-UP

1шт.

5

103-15-35220

VALVE

SN: 75001-UP

1шт.

6

113-15-25270

SHIM¤ 0.2MM (K2)

SN: 75001-UP

2шт.

|6

113-15-25260

SHIM¤ 0.5MM (K2)

SN: 75001-UP

3шт.

7

104-15-25490

VALVE

SN: 75001-UP

1шт.

8

125-15-15290

SPRING

SN: 75001-UP

1шт.

9

104-15-25480

VALVE

SN: 75001-UP

1шт.

10

361-15-15320

SPOOL,QUICK RETURN

SN: 75001-UP

1шт.

11

104-15-25330

STOPPER

SN: 75001-UP

2шт.

12

07000-73025

O-RING (K2)

SN: 75001-UP

2шт.

13

104-15-25340

STOPPER

SN: 75001-UP

2шт.

14

07000-72020

O-RING (K2)

SN: 75001-UP

2шт.

15

103-15-25350

PLATE

SN: 75001-UP

2шт.

16

01010-50820

BOLT

SN: 75001-UP

4шт.

17

01643-30823

WASHER

SN: 75001-UP

4шт.

|18

103-15-00740

SEAT ASS'Y

SN: 75001-UP

1шт.

18

0

SEAT

SN: 75001-UP

1шт.

19

04260-00635

BALL

SN: 75001-UP

1шт.

20

103-15-35140

GASKET (K2)

SN: 75001-UP

1шт.

21

01010-51025

BOLT

SN: 75001-UP

2шт.

22

01643-31032

WASHER

SN: 75001-UP

2шт.

23

103-15-35910

GASKET (K2)

SN: 75001-UP

1шт.

24

01010-50860

BOLT

SN: 75001-UP

2шт.

25

01010-50870

BOLT

SN: 75001-UP

6шт.

26

01643-30823

WASHER

SN: 75001-UP

8шт.

27

103-15-31770

SLEEVE

SN: 75001-UP

1шт.

28

07000-72014

O-RING (K2)

SN: 75001-UP

2шт.

29

07043-00211

PLUG

SN: 75001-UP

1шт.

Выбрано товаров: 36