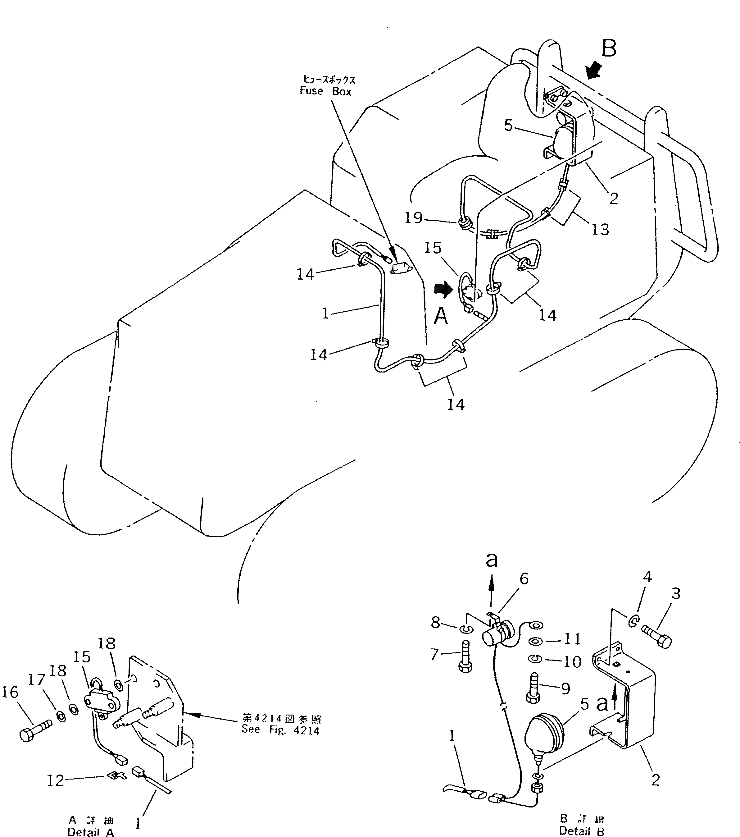
Запчасти Komatsu D21P-7T СИГНАЛ ЗАДНЕГО ХОДА КОМПОНЕНТЫ ДВИГАТЕЛЯ И ЭЛЕКТРИКА

Схема запчастей Komatsu D21P-7T - СИГНАЛ ЗАДНЕГО ХОДА КОМПОНЕНТЫ ДВИГАТЕЛЯ И ЭЛЕКТРИКА
FIT
1:1
100%

Артикул

Название

Примечание

Количество

1

104-Y16-4110

WIRE

SN: 78604-UP

1шт.

|1

104-Y16-3570

WIRE

SN: 75001-78603

1шт.

2

114-X16-3360

COVER

SN: 75001-UP

1шт.

3

01010-51020

BOLT

SN: 75001-UP

4шт.

4

01602-21030

WASHER,SPRING

SN: 75001-UP

4шт.

5

08138-01210

LAMP ASS'Y

SN: 78604-UP

1шт.

|5

08138-12410

LAMP ASS'Y

SN: 75001-78603

1шт.

|5

08105-11220

BULB¤ 27W

SN: 78604-UP

1шт.

|5

08105-12420

BULB¤ 25W

SN: 75001-78603

1шт.

|5

08138-00106

LENS¤RED,RED

SN: 75001-UP

1шт.

6

114-X16-3350

BUZZER

SN: 75001-UP

1шт.

7

01010-51025

BOLT

SN: 75001-UP

1шт.

8

01602-21030

WASHER,SPRING

SN: 75001-UP

1шт.

9

01010-50616

BOLT

SN: 75001-UP

1шт.

10

01602-20619

WASHER,SPRING

SN: 75001-UP

1шт.

11

01643-30608

WASHER

SN: 75001-UP

1шт.

12

08053-01512

CLIP

SN: 75001-UP

1шт.

13

08051-00801

CLIP

SN: 75001-UP

5шт.

14

08034-00414

BAND

SN: 75001-UP

8шт.

15

08076-50350

SWITCH,BACK-UP ALARM

SN: 75001-UP

1шт.

16

01010-51035

BOLT

SN: 75001-UP

2шт.

17

01643-31032

WASHER

SN: 75001-UP

2шт.

18

134-06-22130

WASHER

SN: 75001-UP

4шт.

19

08037-01008

GROMMET

SN: 75001-UP

1шт.

Выбрано товаров: 24