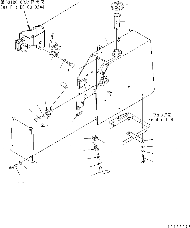
Запчасти Komatsu D21P-8 ТОПЛИВН. БАК. (ДЛЯ КАБИНА ROPS) ТОПЛИВН. БАК. AND КОМПОНЕНТЫ

Схема запчастей Komatsu D21P-8 - ТОПЛИВН. БАК. (ДЛЯ КАБИНА ROPS) ТОПЛИВН. БАК. AND КОМПОНЕНТЫ
1
2
3
4
5
6
7
8
9
10
11
12
13
14
15
16
17
18
19
20
21
22
FIT
1:1
100%

Артикул

Название

Примечание

Количество

1

104-04-51230

TANK

SN: 83001-UP

1шт.

2

07050-20900

CAP

SN: 83001-UP

1шт.

3

11Y-06-11351

SENSOR

SN: 83036-UP

1шт.

3

20T-06-71381

SENSOR

SN: 83001-83035

1шт.

4

01220-40510

SCREW

SN: 83001-UP

5шт.

5

01601-20513

WASHER

SN: 83001-UP

5шт.

6

104-04-51610

SEAL

SN: 83001-UP

1шт.

7

07056-16415

STRAINER

SN: 83001-UP

1шт.

8

01010-81240

BOLT

SN: 83001-UP

4шт.

9

01602-21236

WASHER

SN: 83001-UP

4шт.

10

01643-31232

WASHER

SN: 83001-UP

4шт.

11

103-54-34450

PLATE

SN: 83001-UP

2шт.

12

07700-40240

VALVE

SN: 83001-UP

1шт.

13

565-44-13270

ELBOW

SN: 83001-UP

1шт.

14

113-04-22150

NIPPLE

SN: 83001-UP

1шт.

15

07270-01235

TUBE

SN: 83001-UP

1шт.

16

07285-00150

CLIP

SN: 83001-UP

1шт.

17

104-54-59240

COVER

SN: 83140-UP

1шт.

17

104-54-39240

COVER

SN: 83001-83139

1шт.

18

01252-30825

BOLT

SN: 83001-UP

4шт.

19

01643-30823

WASHER

SN: 83001-UP

4шт.

20

114-43-48220

LEVER ASS'Y

SN: 83001-UP

1шт.

21

07372-21030

BOLT

SN: 83001-UP

2шт.

22

01602-21030

WASHER

SN: 83001-UP

2шт.

Выбрано товаров: 24