Запчасти Komatsu D21P-8 БЛОК РУЛЕВ. УПРАВЛЕНИЯ (ДЛЯ PAT DOZER) (ДЛЯ РЫЧАГИ РУЛЕВ. УПРАВЛЕНИЕ) (ДЛЯ ЯПОН. DYNAMIC NOISE) ОСНОВН. РАМА И КОМПОНЕНТЫ

Схема запчастей Komatsu D21P-8 - БЛОК РУЛЕВ. УПРАВЛЕНИЯ (ДЛЯ PAT DOZER) (ДЛЯ РЫЧАГИ РУЛЕВ. УПРАВЛЕНИЕ) (ДЛЯ ЯПОН. DYNAMIC NOISE) ОСНОВН. РАМА И КОМПОНЕНТЫ
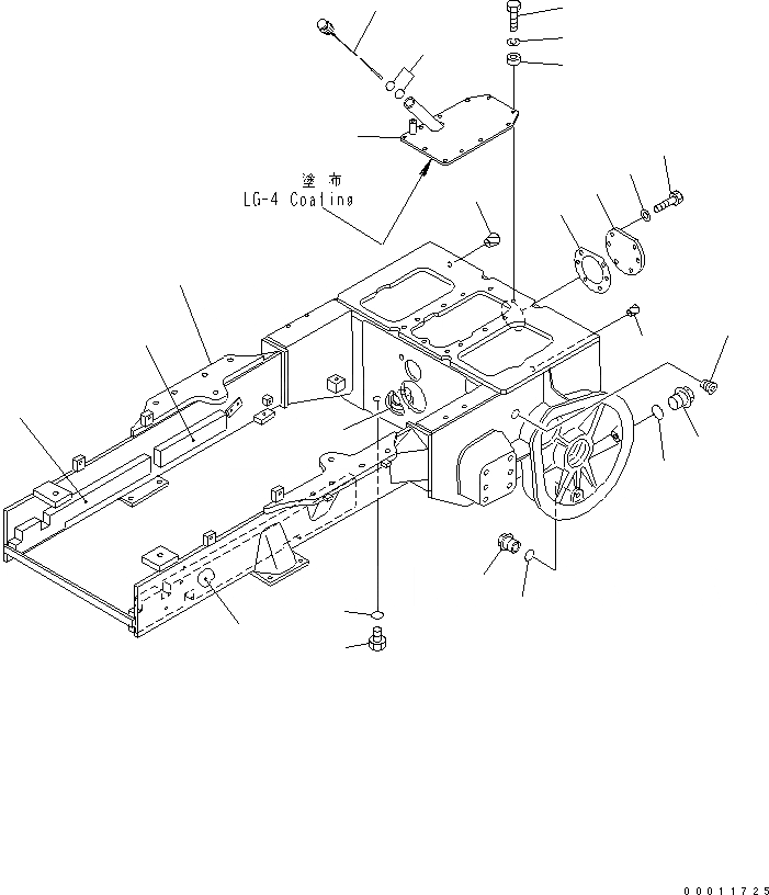
1
2
3
4
5
6
7
8
9
10
11
11
12
13
14
15
16
17
18
19
20
21
22
23
FIT
1:1
100%

Артикул

Название

Примечание

Количество

1

104-21-51200

CASE FRAME ASS'Y

SN: 83001-UP

1шт.

2

104-54-41910

SHEET,L.H.

SN: 83001-UP

1шт.

3

104-54-41920

SHEET,R.H.

SN: 83001-UP

1шт.

4

104-54-41930

GUARD

SN: 83001-UP

1шт.

5

103-21-21181

BOSS

SN: 83001-UP

2шт.

6

104-21-31140

PLUG

SN: 83001-UP

18шт.

7

07049-01012

PLUG

SN: 83001-UP

4шт.

8

07043-01019

PLUG

SN: 83001-UP

2шт.

9

07044-12412

PLUG

SN: 83001-UP

3шт.

10

07040-12414

PLUG

SN: 83001-UP

2шт.

11

07002-02434

O-RING

SN: 83001-UP

5шт.

12

07040-13016

PLUG

SN: 83001-UP

2шт.

13

07002-03034

O-RING

SN: 83001-UP

2шт.

14

101-21-11170

PLATE

SN: 83001-UP

1шт.

15

101-21-11161

GASKET

SN: 83001-UP

1шт.

16

01010-81020

BOLT

SN: 83001-UP

6шт.

17

01643-31032

WASHER

SN: 83001-UP

6шт.

18

103-21-51210

COVER

SN: 83001-UP

1шт.

19

103-21-51230

GAUGE

SN: 83001-UP

1шт.

20

07002-02434

O-RING

SN: 83001-UP

2шт.

21

01010-81045

BOLT

SN: 83001-UP

11шт.

22

01602-21030

WASHER

SN: 83001-UP

11шт.

23

103-21-31260

BOSS

SN: 83001-UP

11шт.

Выбрано товаров: 23