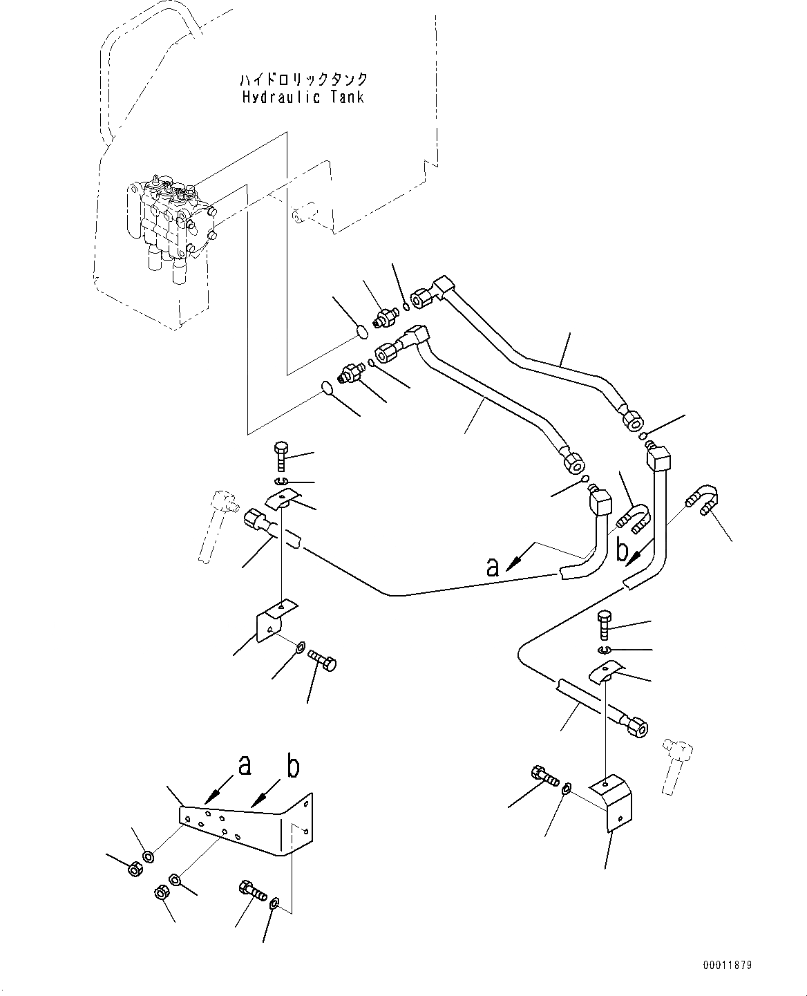
Запчасти Komatsu D21P-8E0 DOZER ЦИЛИНДР ПЕРЕКОСА ОТВАЛА ТРУБЫ (№9-) DOZER ЦИЛИНДР ПЕРЕКОСА ОТВАЛА ТРУБЫ

Схема запчастей Komatsu D21P-8E0 - DOZER ЦИЛИНДР ПЕРЕКОСА ОТВАЛА ТРУБЫ (№9-) DOZER ЦИЛИНДР ПЕРЕКОСА ОТВАЛА ТРУБЫ
4
20
21
1
8
3
1
13
5
16
19
19
11
16
18
13
20
21
18
17
6
15
14
14
15
7
17
9
2
2
3
10
12
FIT
1:1
100%

Артикул

Название

Примечание

Количество

1

02781-00420

Union

SN: 90210-UP

2шт.

2

02896-11012

O-ring

SN: 90210-UP

2шт.

3

07002-11823

O-ring

SN: 90210-UP

2шт.

4

103-62-53111

Tube

SN: 90210-UP

1шт.

5

103-62-53121

Tube

SN: 90210-UP

1шт.

6

104-62-33250

Bracket

SN: 90210-UP

1шт.

7

01010-81025

Bolt

SN: 90210-UP

2шт.

8

01643-31032

Washer

SN: 90210-UP

2шт.

9

104-62-53111

Tube

SN: 90210-UP

1шт.

10

02896-11012

O-ring

SN: 90210-UP

1шт.

11

104-62-53131

Tube

SN: 90210-UP

1шт.

12

02896-11012

O-ring

SN: 90210-UP

1шт.

13

07283-21529

Clip, Pipe

SN: 90210-UP

3шт.

14

01598-00809

Nut

SN: 90210-UP

6шт.

15

01643-30823

Washer

SN: 90210-UP

6шт.

16

104-62-33171

Bracket

SN: 90210-UP

2шт.

17

01010-81020

Bolt

SN: 90210-UP

2шт.

18

01643-31032

Washer

SN: 90210-UP

2шт.

19

104-62-22350

Clamp

SN: 90210-UP

2шт.

20

01010-81030

Bolt

SN: 90210-UP

2шт.

21

01602-21030

Washer

SN: 90210-UP

2шт.

Выбрано товаров: 21