Запчасти Komatsu D21P-8T ДВИГАТЕЛЬ ЭЛЕКТР. (ДЛЯ TОБОД КОЛЕСАMING DOZER)(№8-8) КОМПОНЕНТЫ ДВИГАТЕЛЯ

Схема запчастей Komatsu D21P-8T - ДВИГАТЕЛЬ ЭЛЕКТР. (ДЛЯ TОБОД КОЛЕСАMING DOZER)(№8-8) КОМПОНЕНТЫ ДВИГАТЕЛЯ
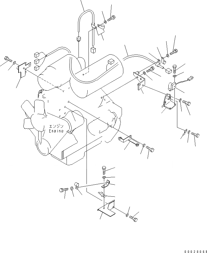
1
2
3
4
5
6
7
8
9
10
11
12
13
14
15
16
17
18
19
20
21
22
23
24
25
26
27
28
29
30
31
32
33
34
35
36
37
FIT
1:1
100%

Артикул

Название

Примечание

Количество

1

104-06-51870

BRACKET

SN: 83001-@

1шт.

2

01010-81020

BOLT

SN: 83001-@

1шт.

3

01643-31032

WASHER

SN: 83001-@

1шт.

4

104-06-51841

BRACKET

SN: 83001-@

1шт.

5

01010-81030

BOLT

SN: 83001-@

2шт.

6

01643-31032

WASHER

SN: 83001-@

2шт.

7

104-06-51831

BRACKET

SN: 83001-@

1шт.

8

01010-81030

BOLT

SN: 83001-@

2шт.

9

01643-31032

WASHER

SN: 83001-@

2шт.

10

01010-80616

BOLT

SN: 83001-@

2шт.

11

01643-30623

WASHER

SN: 83001-@

2шт.

12

08193-20010

CLIP

SN: 83036-@

1шт.

13

01010-81016

BOLT

SN: 83036-@

1шт.

14

01643-31032

WASHER

SN: 83036-@

1шт.

15

104-06-51880

BRACKET

SN: 83001-@

1шт.

16

01010-80820

BOLT

SN: 83001-@

2шт.

17

01643-30823

WASHER

SN: 83001-@

2шт.

18

104-06-51661

WIRING HARNESS

SN: 83001-84301

1шт.

19

04434-51010

CLIP

SN: 83001-@

2шт.

20

01010-81020

BOLT

SN: 83001-84301

1шт.

21

01643-31032

WASHER

SN: 83001-84301

1шт.

22

04434-51010

CLIP

SN: 83001-84301

1шт.

23

04434-51710

CLIP

SN: 83001-84301

1шт.

24

01010-81020

BOLT

SN: 83001-@

1шт.

25

01643-31032

WASHER

SN: 83001-@

1шт.

26

104-06-51920

INDICATOR

SN: 83001-@

1шт.

27

104-06-51931

RELAY

SN: 83001-@

1шт.

28

104-01-52232

COVER

SN: 83429-@

1шт.

28

104-01-52231

COVER

SN: 83001-83428

1шт.

29

01010-80820

BOLT

SN: 83429-@

2шт.

29

01010-80825

BOLT

SN: 83001-83428

2шт.

30

01643-30823

WASHER

SN: 83429-@

4шт.

30

01643-30823

WASHER

SN: 83001-83428

2шт.

31

08193-20010

CLIP

SN: 83001-@

1шт.

32

01010-80820

BOLT

SN: 83001-@

1шт.

33

01643-30823

WASHER

SN: 83001-@

1шт.

34

104-06-51810

BRACKET

SN: 83001-@

1шт.

35

04434-51010

CLIP

SN: 83001-@

1шт.

36

01010-81020

BOLT

SN: 83001-@

1шт.

37

01643-31032

WASHER

SN: 83001-@

1шт.

Выбрано товаров: 40