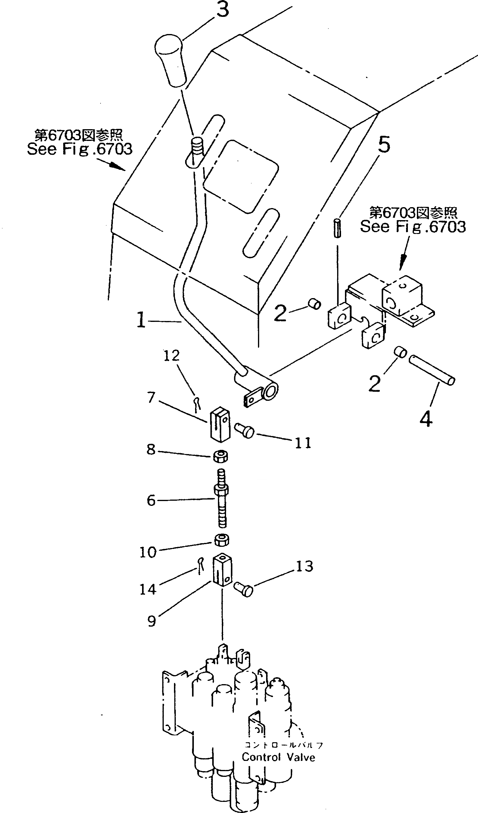
Запчасти Komatsu D21PG-7A РЫЧАГ УПРАВЛЕНИЯ РАБОЧИМ ОБОРУДОВАНИЕМ (/) (ДЛЯ LIFTҐНАКЛОН. РЫЧАГ + ANGLE РЫЧАГ) УПРАВЛ-Е РАБОЧИМ ОБОРУДОВАНИЕМ

Схема запчастей Komatsu D21PG-7A - РЫЧАГ УПРАВЛЕНИЯ РАБОЧИМ ОБОРУДОВАНИЕМ (/) (ДЛЯ LIFTҐНАКЛОН. РЫЧАГ + ANGLE РЫЧАГ) УПРАВЛ-Е РАБОЧИМ ОБОРУДОВАНИЕМ
FIT
1:1
100%

Артикул

Название

Примечание

Количество

1

104-43-36141

LEVER

SN: 78604-UP

1шт.

|1

104-43-36140

LEVER

SN: 75001-78603

1шт.

2

203-43-31420

BUSHING

SN: 75001-UP

2шт.

3

113-43-23420

KNOB

SN: 75001-UP

1шт.

4

113-43-31280

SHAFT

SN: 75001-UP

1шт.

5

04025-00324

PIN,SPRING

SN: 75001-UP

1шт.

6

04248-30809

ROD

SN: 75001-UP

1шт.

7

04210-20832

YOKE

SN: 75001-UP

1шт.

8

01580-10806

NUT

SN: 75001-UP

1шт.

9

1B0-43-16130

YOKE,L.H. THREAD

SN: 75001-UP

1шт.

10

01508-40805

NUT,L.H. THREAD

SN: 75001-UP

1шт.

11

04205-10822

PIN

SN: 75001-UP

1шт.

12

04050-12015

PIN,COTTER

SN: 75001-UP

1шт.

13

04205-10622

PIN

SN: 75001-UP

1шт.

14

04050-11612

PIN,COTTER

SN: 75001-UP

1шт.

Выбрано товаров: 15