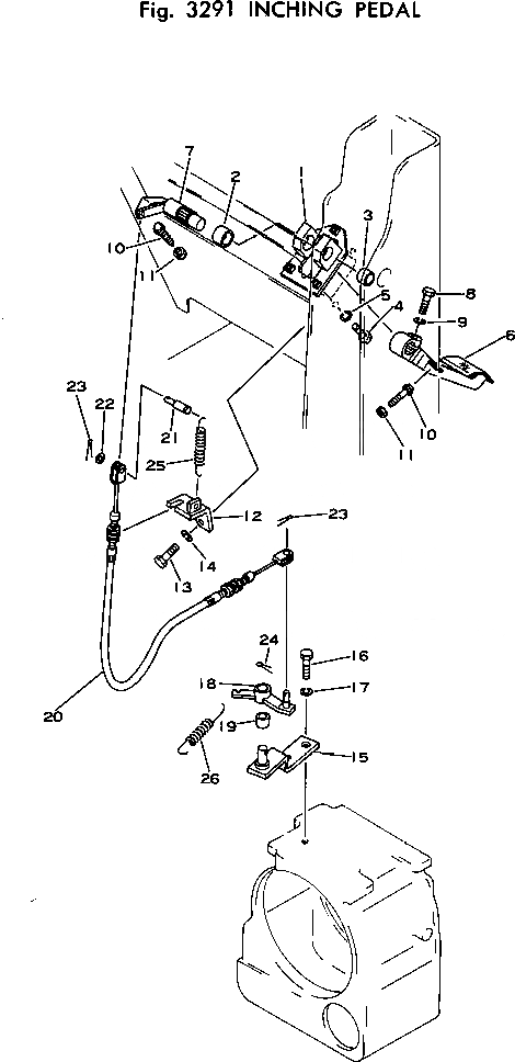
Запчасти Komatsu D21PL-5 ПЕДАЛЬ ТОЛЧКОВОГО РЕГУЛИР-Я ДЕМПФЕР И ТРАНСМИССИЯ

Схема запчастей Komatsu D21PL-5 - ПЕДАЛЬ ТОЛЧКОВОГО РЕГУЛИР-Я ДЕМПФЕР И ТРАНСМИССИЯ
FIT
1:1
100%

Артикул

Название

Примечание

Количество

|$0

103-43-00050

BRACKET ASS'Y

SN: 45013-UP

1шт.

1

0

BRACKET

SN: 45013-UP

1шт.

2

09350-03020

BUSHING

SN: 45013-UP

1шт.

3

09350-02520

BUSHING

SN: 45013-UP

1шт.

4

01010-31030

BOLT

SN: 45013-UP

2шт.

5

01602-01030

WASHER

SN: 45013-UP

2шт.

6

103-43-23122

PEDAL

SN: 45013-UP

1шт.

7

103-43-23210

LEVER

SN: 50690-UP

1шт.

7

0

LEVER

SN: 45013-50689

1шт.

8

01010-31030

BOLT

SN: 45013-UP

1шт.

9

01602-01030

WASHER

SN: 45013-UP

1шт.

10

113-43-21340

BUMPER

SN: 45013-UP

2шт.

11

01580-01008

NUT

SN: 45013-UP

2шт.

12

103-43-23141

BRACKET

SN: 45013-UP

1шт.

13

01010-31020

BOLT

SN: 45013-UP

2шт.

14

01602-01030

WASHER

SN: 45013-UP

2шт.

15

103-43-23162

BRACKET

SN: 50690-UP

1шт.

15

0

BRACKET

SN: 45013-50689

1шт.

16

01010-31025

BOLT

SN: 45013-UP

2шт.

17

01602-01030

WASHER

SN: 45013-UP

2шт.

|$20

103-43-00110

BRACKET ASS'Y

SN: 45013-UP

1шт.

18

0

LEVER

SN: 45013-UP

1шт.

19

09350-01420

BUSHING

SN: 45013-UP

1шт.

20

103-43-23350

CABLE

SN: 50490-UP

1шт.

20

0

CABLE

SN: 45013-50489

1шт.

21

103-43-23190

PIN

SN: 45013-UP

1шт.

22

01641-20608

WASHER

SN: 45013-UP

1шт.

23

04050-01610

PIN

SN: 45013-UP

2шт.

24

04050-04025

PIN

SN: 45013-UP

1шт.

25

135-43-21480

SPRING

SN: 45013-UP

1шт.

26

113-43-11291

SPRING

SN: 45013-UP

1шт.

Выбрано товаров: 31