Запчасти Komatsu D21PL-5 ПЕДАЛЬ ТОРМОЗА И МЕХАНИЗМ (ДЛЯ РЫЧАГ РУЛЕВ. УПРАВЛЕНИЕ)(№-) СИСТЕМАУПРАВЛЕНИЯ ПОВОРОТОМ И КОНЕЧНАЯ ПЕРЕДАЧА

Схема запчастей Komatsu D21PL-5 - ПЕДАЛЬ ТОРМОЗА И МЕХАНИЗМ (ДЛЯ РЫЧАГ РУЛЕВ. УПРАВЛЕНИЕ)(№-) СИСТЕМАУПРАВЛЕНИЯ ПОВОРОТОМ И КОНЕЧНАЯ ПЕРЕДАЧА
FIT
1:1
100%

Артикул

Название

Примечание

Количество

|$0

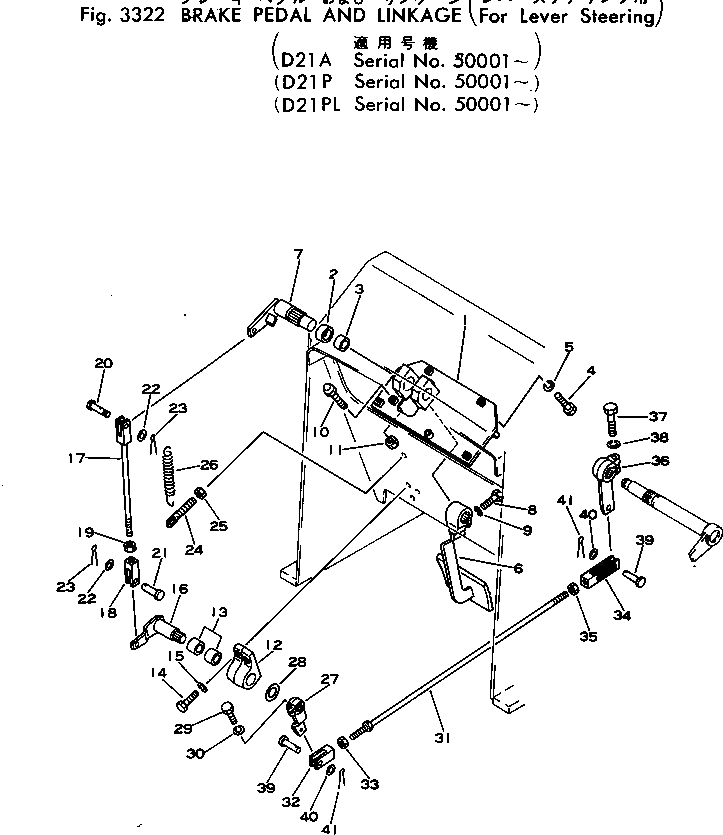
102-43-00010

BRACKET ASS'Y

SN: 50001-UP

1шт.

1

0

BRACKET

SN: 50001-UP

1шт.

2

09350-03020

BUSHING

SN: 50001-UP

1шт.

3

09350-02520

BUSHING

SN: 50001-UP

1шт.

4

01010-31030

BOLT

SN: 45013-UP

2шт.

5

01602-01030

WASHER

SN: 45013-UP

2шт.

6

102-43-48120

PEDAL

SN: 50001-UP

1шт.

7

102-43-48161

LEVER

SN: 50690-UP

1шт.

7

0

LEVER

SN: 50001-50689

1шт.

8

01010-31030

BOLT

SN: 50001-UP

1шт.

9

01602-01030

WASHER

SN: 50001-UP

1шт.

10

113-43-21340

BUMPER

SN: 50001-UP

1шт.

11

01580-01008

NUT

SN: 50001-UP

1шт.

|$13

103-43-00020

BRACKET ASS'Y

SN: 50001-UP

1шт.

12

0

BRACKET

SN: 50001-UP

1шт.

13

09350-02520

BUSHING

SN: 50001-UP

2шт.

14

01010-31020

BOLT

SN: 50001-UP

3шт.

15

01602-01030

WASHER

SN: 50001-UP

3шт.

16

102-43-48131

LEVER

SN: 50690-UP

1шт.

16

0

LEVER

SN: 50001-50689

1шт.

17

04244-41030

ROD

SN: 50001-UP

1шт.

18

04210-21040

YOKE

SN: 50001-UP

1шт.

19

01582-01008

NUT

SN: 50001-UP

1шт.

20

103-43-21170

PIN

SN: 50001-UP

1шт.

21

04205-11030

PIN

SN: 50001-UP

1шт.

22

01641-21016

WASHER

SN: 50001-UP

2шт.

23

04050-03015

PIN

SN: 50001-UP

2шт.

24

103-43-21260

BOLT

SN: 50001-UP

1шт.

25

01580-01008

NUT

SN: 50001-UP

1шт.

26

113-890-6170

SPRING

SN: 50001-UP

1шт.

27

102-43-48140

LEVER

SN: 50001-UP

1шт.

28

01640-22032

WASHER

SN: 50001-UP

1шт.

29

01010-30830

BOLT

SN: 50001-UP

1шт.

30

01602-00825

WASHER

SN: 50001-UP

1шт.

31

102-43-48150

ROD

SN: 50001-UP

1шт.

32

04210-21040

YOKE

SN: 50001-UP

1шт.

33

01582-01008

NUT

SN: 50001-UP

1шт.

34

113-43-21280

YOKE

SN: 50001-UP

1шт.

35

01508-11006

NUT, L.H. THREAD

SN: 50001-UP

1шт.

36

102-43-48220

LEVER

SN: 50001-UP

1шт.

37

01010-31245

BOLT

SN: 50001-UP

1шт.

38

01602-01236

WASHER

SN: 50001-UP

1шт.

39

04205-11030

PIN

SN: 50001-UP

2шт.

40

01641-21016

WASHER

SN: 50001-UP

2шт.

41

04050-03015

PIN

SN: 50001-UP

2шт.

Выбрано товаров: 45