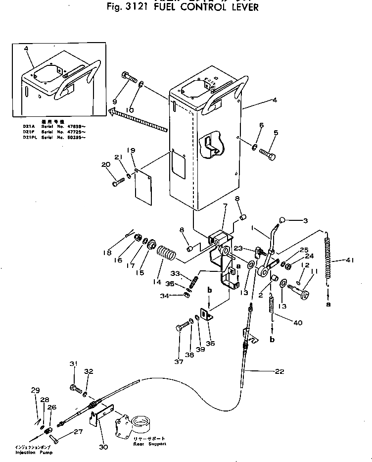
Запчасти Komatsu D21PL-5 РЫЧАГ УПРАВЛ-Я ПОДАЧЕЙ ТОПЛИВА КОМПОНЕНТЫ ДВИГАТЕЛЯ И ЭЛЕКТРИКА

Схема запчастей Komatsu D21PL-5 - РЫЧАГ УПРАВЛ-Я ПОДАЧЕЙ ТОПЛИВА КОМПОНЕНТЫ ДВИГАТЕЛЯ И ЭЛЕКТРИКА
FIT
1:1
100%

Артикул

Название

Примечание

Количество

|$0

103-43-00062

LEVER ASS'Y

SN: 50102-UP

1шт.

|$1

0

LEVER ASS'Y

SN: 45375-50101

1шт.

|$2

0

LEVER ASS'Y

SN: 45013-45374

1шт.

1

0

LEVER

SN: 50102-UP

1шт.

1

0

LEVER

SN: 45375-50101

1шт.

1

0

LEVER

SN: 45013-45374

1шт.

2

09350-01420

BUSHING

SN: 45013-UP

1шт.

3

09304-00835

KNOB

SN: 45013-UP

1шт.

4

103-43-25211

COVER

SN: 50295-UP

1шт.

4

0

COVER

SN: 45013-50294

1шт.

|$$11

(103-43-25211,113-06-23131)

-1шт.

5

01010-31020

BOLT

SN: 45013-UP

5шт.

6

01602-01030

WASHER

SN: 45013-UP

5шт.

|$13

103-43-00120

BRACKET ASS'Y

SN: 45013-UP

1шт.

7

0

BRACKET

SN: 45013-UP

1шт.

8

09350-01420

BUSHING

SN: 45013-UP

2шт.

9

01010-31020

BOLT

SN: 45013-UP

3шт.

10

01602-01030

WASHER

SN: 45013-UP

3шт.

11

103-43-25220

SHAFT

SN: 50690-UP

1шт.

11

0

SHAFT

SN: 50102-50689

1шт.

11

0

SHAFT

SN: 45013-50101

1шт.

12

04010-00516

KEY

SN: 45013-UP

1шт.

13

10E-43-11160

FACING

SN: 45013-UP

2шт.

14

10E-43-11190

SPRING

SN: 45013-UP

1шт.

15

10E-43-11180

RETAINER

SN: 45013-UP

1шт.

16

01590-01215

NUT

SN: 45013-UP

1шт.

17

01641-21223

WASHER

SN: 45013-UP

1шт.

18

04050-03022

PIN

SN: 45013-UP

1шт.

19

103-43-12241

PLATE

SN: 45013-UP

1шт.

20

01220-40816

SCREW

SN: 45013-UP

2шт.

21

01602-00825

WASHER

SN: 45013-UP

2шт.

22

103-43-25270

CABLE

SN: 50396-UP

1шт.

22

0

CABLE

SN: 45013-50395

1шт.

23

103-43-25160

END

SN: 45013-UP

1шт.

24

01580-00504

NUT

SN: 45013-UP

1шт.

25

01602-00513

WASHER

SN: 45013-UP

1шт.

26

04211-20500

YOKE

SN: 45013-UP

1шт.

27

04205-00516

PIN

SN: 45013-UP

1шт.

28

01641-20508

WASHER

SN: 45013-UP

1шт.

29

04050-01208

PIN

SN: 45013-UP

1шт.

30

103-43-25180

BRACKET

SN: 45013-UP

1шт.

31

01010-31020

BOLT

SN: 45013-UP

2шт.

32

01602-01030

WASHER

SN: 45013-UP

2шт.

33

103-43-25150

SCREW

SN: 45013-UP

1шт.

34

01580-01008

NUT

SN: 45013-UP

1шт.

35

01602-01030

WASHER

SN: 45013-UP

1шт.

36

103-43-25140

PLATE

SN: 45013-UP

1шт.

37

01010-31025

BOLT

SN: 45013-UP

1шт.

38

01602-01030

WASHER

SN: 45013-UP

1шт.

39

01643-31032

WASHER

SN: 45013-UP

1шт.

40

10E-43-11330

SPRING

SN: 45013-UP

1шт.

41

113-43-11180

SPRING

SN: 45013-UP

1шт.

Выбрано товаров: 52