Запчасти Komatsu D21PL-5 ГУСЕНИЧНАЯ РАМА(№-9) ГУСЕНИЦЫ

Схема запчастей Komatsu D21PL-5 - ГУСЕНИЧНАЯ РАМА(№-9) ГУСЕНИЦЫ
FIT
1:1
100%

Артикул

Название

Примечание

Количество

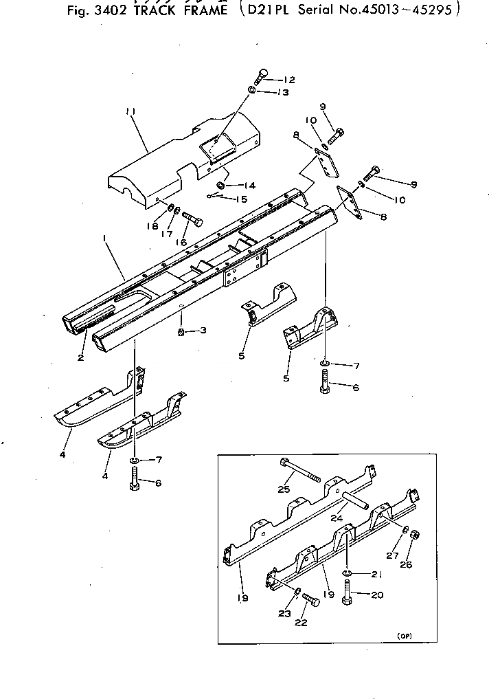
1

10G-A70-4110

FRAME,TRACK, L.H.

SN: 45013-@

1шт.

1

10G-A70-4120

FRAME,TRACK, R.H.

SN: 45013-@

1шт.

2

103-30-21130

PLATE (WELDED)

SN: 45013-@

2шт.

3

07049-01418

PLUG

SN: 45013-45295

12шт.

4

0

GUARD,OUTER, L.H. AND INNER, R.H.

SN: 45013-45295

2шт.

|$$6

(104-30-22111,104-30-22121,

-1шт.

|$$7

104-30-22131,104-30-22141)

-1шт.

4

0

GUARD,INNER, L.H. AND OUTER, R.H.

SN: 45013-45295

2шт.

|$$9

(104-30-22121,104-30-22111,

-1шт.

|$$10

104-30-22131,104-30-22141)

-1шт.

5

0

GUARD,OUTER, L.H. AND INNER, R.H.

SN: 45013-45295

2шт.

|$$12

(104-30-22131,104-30-22141,

-1шт.

|$$13

104-30-22111,104-30-22121)

-1шт.

5

0

GUARD,INNER, L.H. AND OUTER, R.H.

SN: 45013-45295

2шт.

|$$15

(104-30-22141,104-30-22131,

-1шт.

|$$16

104-30-22111,104-30-22121)

-1шт.

6

01010-31425

BOLT

SN: 45013-45295

28шт.

7

01602-01442

WASHER

SN: 45013-45295

28шт.

8

103-30-22130

GUARD

SN: 45013-@

4шт.

9

01010-31025

BOLT

SN: 45013-@

16шт.

10

01602-01030

WASHER

SN: 45013-@

16шт.

11

10G-A70-4310

COVER,L.H.

SN: 45013-@

1шт.

11

10G-A70-4320

COVER,R.H.

SN: 45013-@

1шт.

12

141-30-17160

BOLT

SN: 45013-@

2шт.

13

01640-21016

WASHER

SN: 45013-@

2шт.

14

01641-21016

WASHER

SN: 45013-@

2шт.

15

04050-03015

PIN

SN: 45013-@

2шт.

16

01010-31025

BOLT

SN: 45013-@

10шт.

17

01602-01030

WASHER

SN: 45013-@

10шт.

18

01643-31032

WASHER

SN: 45013-@

10шт.

19

10G-A70-4140

GUARD,OUTER, L.H. AND INNER, R.H. (OP)

SN: 45013-45295

2шт.

19

10G-A70-4140

GUARD,INNER, L.H. AND OUTER, R.H. (OP)

SN: 45013-45295

2шт.

20

01010-31425

BOLT

SN: 45013-@

12шт.

21

01602-01442

WASHER

SN: 45013-@

12шт.

22

01010-31020

BOLT

SN: 45013-45295

16шт.

23

01602-01030

WASHER

SN: 45013-45295

16шт.

24

102-30-21161

COLLAR

SN: 45013-45295

4шт.

25

01011-31485

BOLT

SN: 45013-45295

4шт.

26

01580-01411

NUT

SN: 45013-45295

4шт.

27

01602-01442

WASHER

SN: 45013-45295

4шт.

Выбрано товаров: 0