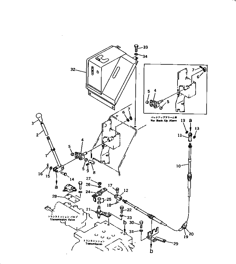
Запчасти Komatsu D21PL-6 РЫЧАГ УПРАВЛ-Я ТРАНСМИССИЕЙ (ДЛЯ F-R ТРАНСМИССИЯ) СИСТЕМА УПРАВЛЕНИЯ

Схема запчастей Komatsu D21PL-6 - РЫЧАГ УПРАВЛ-Я ТРАНСМИССИЕЙ (ДЛЯ F-R ТРАНСМИССИЯ) СИСТЕМА УПРАВЛЕНИЯ
FIT
1:1
100%

Артикул

Название

Примечание

Количество

1

103-43-34110

LEVER

SN: 60001-UP

1шт.

2

104-43-24130

BUSHING

SN: 60001-UP

1шт.

3

113-43-23420

KNOB

SN: 60001-UP

1шт.

|$3

103-43-00390

YOKE ASS'Y

SN: 60001-UP

1шт.

|$4

103-43-00490

YOKE ASS'Y,(FOR BACK-UP ALARM)

SN: 60001-UP

1шт.

4

0

YOKE

SN: 60001-UP

1шт.

4

0

YOKE,(FOR BACK-UP ALARM)

SN: 60001-UP

1шт.

5

203-43-31420

BUSHING

SN: 60001-UP

2шт.

6

01641-21423

WASHER

SN: 60001-UP

1шт.

6

103-43-34550

LEVER,(FOR BACK-UP ALARM)

SN: 60001-UP

1шт.

7

04064-01410

RING,SNAP

SN: 60001-UP

1шт.

7

04025-00320

PIN,SPRING (FOR BACK-UP ALARM)

SN: 60001-UP

1шт.

8

103-43-36140

PIN

SN: 60001-UP

1шт.

9

04025-00324

PIN,SPRING

SN: 60001-UP

1шт.

10

103-43-34310

CABLE

SN: 60001-UP

1шт.

11

04250-80847

END,ROD

SN: 60001-UP

1шт.

12

04210-20832

YOKE

SN: 60001-UP

1шт.

13

04254-00823

SPACER

SN: 60001-UP

2шт.

14

04205-10835

PIN

SN: 60001-UP

1шт.

15

01641-20812

WASHER

SN: 60001-UP

1шт.

16

04050-12015

PIN,COTTER

SN: 60001-UP

1шт.

17

04205-30825

PIN

SN: 60001-UP

1шт.

18

04052-10833

PIN,SNAP

SN: 60001-UP

1шт.

19

201-43-22190

BUSHING

SN: 60001-UP

1шт.

20

08034-00310

BAND

SN: 60001-UP

1шт.

21

103-43-34170

SHAFT

SN: 60001-UP

1шт.

22

01010-51025

BOLT

SN: 60001-UP

2шт.

23

01602-21030

WASHER,SPRING

SN: 60001-UP

2шт.

|$28

103-43-00360

LEVER ASS'Y

SN: 60001-UP

1шт.

24

0

LEVER

SN: 60001-UP

1шт.

25

203-43-31420

BUSHING

SN: 60001-UP

2шт.

26

175-61-23220

WASHER

SN: 60001-UP

1шт.

27

01598-00809

NUT

SN: 60001-UP

1шт.

28

103-43-34340

PLATE

SN: 60001-UP

1шт.

29

103-43-34331

BRACKET

SN: .-UP

1шт.

29

0

BRACKET

SN: 60001-.

1шт.

|$$37

(103-43-34331,103-43-00371)

-1шт.

30

01010-51025

BOLT

SN: 60001-UP

2шт.

31

01602-21030

WASHER,SPRING

SN: 60001-UP

2шт.

32

103-43-35220

COVER

SN: 60001-UP

1шт.

33

01010-51025

BOLT

SN: 60001-UP

2шт.

34

01643-31032

WASHER

SN: 60001-UP

2шт.

Выбрано товаров: 42