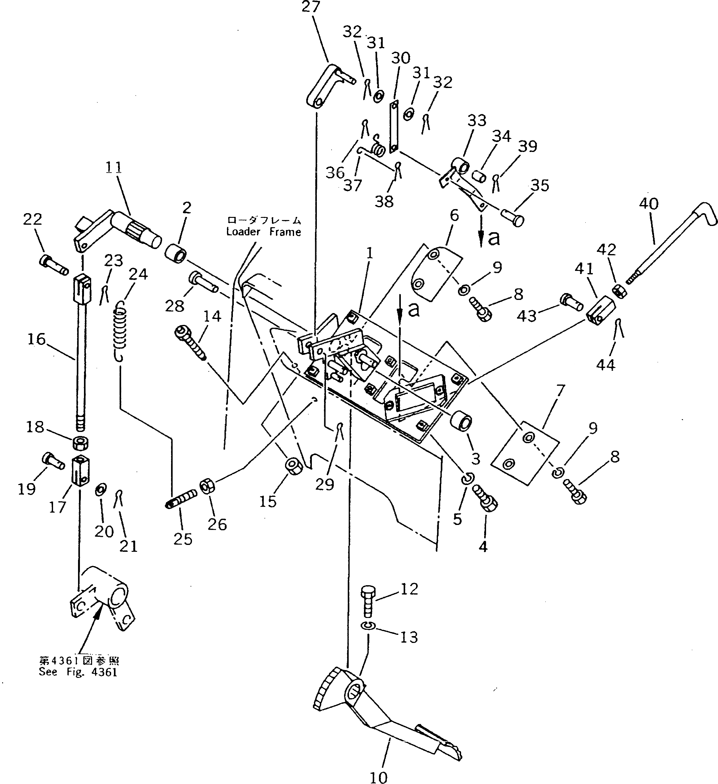
Запчасти Komatsu D21PL-7 ПЕДАЛЬ ТОРМОЗА (С КАБИНОЙ) (ДЛЯ MONO РЫЧАГ РУЛЕВ. УПРАВЛЕНИЕ) СИСТЕМА УПРАВЛЕНИЯ

Схема запчастей Komatsu D21PL-7 - ПЕДАЛЬ ТОРМОЗА (С КАБИНОЙ) (ДЛЯ MONO РЫЧАГ РУЛЕВ. УПРАВЛЕНИЕ) СИСТЕМА УПРАВЛЕНИЯ
FIT
1:1
100%

Артикул

Название

Примечание

Количество

1

114-43-49150

BRACKET

SN: 62001-UP

1шт.

2

09350-03020

BUSHING

SN: 62001-UP

1шт.

3

09350-02520

BUSHING

SN: 62001-UP

1шт.

4

01010-51030

BOLT

SN: 62001-UP

2шт.

5

01602-21030

WASHER,SPRING

SN: 62001-UP

2шт.

6

103-B62-1310

COVER

SN: 62001-UP

1шт.

7

103-B62-1320

COVER

SN: 62001-UP

1шт.

8

01010-51020

BOLT

SN: 62001-UP

4шт.

9

01602-21030

WASHER,SPRING

SN: 62001-UP

4шт.

10

103-43-31213

PEDAL

SN: 62001-UP

1шт.

11

103-43-33210

LEVER \

SN: 62001-UP

1шт.

12

01010-51030

BOLT

SN: 62001-UP

1шт.

13

01602-21030

WASHER,SPRING

SN: 62001-UP

1шт.

14

113-43-21340

BUMPER

SN: 62001-UP

1шт.

15

01580-11008

NUT

SN: 62001-UP

1шт.

16

04244-41031

ROD

SN: 62001-UP

1шт.

17

04210-21040

YOKE

SN: 62001-UP

1шт.

18

01582-11008

NUT

SN: 62001-UP

1шт.

19

04205-11028

PIN

SN: 62001-UP

1шт.

20

01641-21016

WASHER

SN: 62001-UP

1шт.

21

04050-13020

PIN,COTTER

SN: 62001-UP

1шт.

22

103-43-21170

PIN

SN: 62001-UP

1шт.

23

04050-13020

PIN,COTTER

SN: 62001-UP

1шт.

24

113-890-6170

SPRING

SN: 62001-UP

1шт.

25

103-43-21260

BOLT

SN: 62001-UP

1шт.

26

01580-11008

NUT

SN: 62001-UP

1шт.

27

103-43-32310

PLATE \

SN: 62001-UP

1шт.

28

04205-11445

PIN

SN: 62001-UP

1шт.

29

04050-14028

PIN,COTTER

SN: 62001-UP

1шт.

30

103-43-32320

PLATE

SN: 62001-UP

1шт.

31

01643-50823

WASHER

SN: 62001-UP

2шт.

32

04050-13015

PIN,COTTER

SN: 62001-UP

2шт.

33

103-43-32331

LEVER

SN: 62001-UP

1шт.

34

09350-01420

BUSHING

SN: 62001-UP

1шт.

35

04205-10622

PIN

SN: 62001-UP

1шт.

36

04050-11612

PIN,COTTER

SN: 62001-UP

1шт.

37

09463-00006

SPRING

SN: 62001-UP

1шт.

38

04050-11610

PIN,COTTER

SN: 62001-UP

1шт.

39

04050-14028

PIN,COTTER

SN: 62001-UP

1шт.

40

114-43-48351

HANDLE

SN: 62001-UP

1шт.

41

04210-20832

YOKE

SN: 62001-UP

1шт.

42

01580-10806

NUT

SN: 62001-UP

1шт.

43

04205-10822

PIN

SN: 62001-UP

1шт.

44

04050-12015

PIN,COTTER

SN: 62001-UP

1шт.

Выбрано товаров: 44