Запчасти Komatsu D21PL-7 ГУСЕНИЦЫ (СМАЗЫВ. ТИПА) КАТАЛОГИ ЗЧ

Схема запчастей Komatsu D21PL-7 - ГУСЕНИЦЫ (СМАЗЫВ. ТИПА) КАТАЛОГИ ЗЧ
FIT
1:1
100%

Артикул

Название

Примечание

Количество

|$$1

SWAMP TYPE

-1шт.

|$$2

700MM WIDE

-1шт.

|1

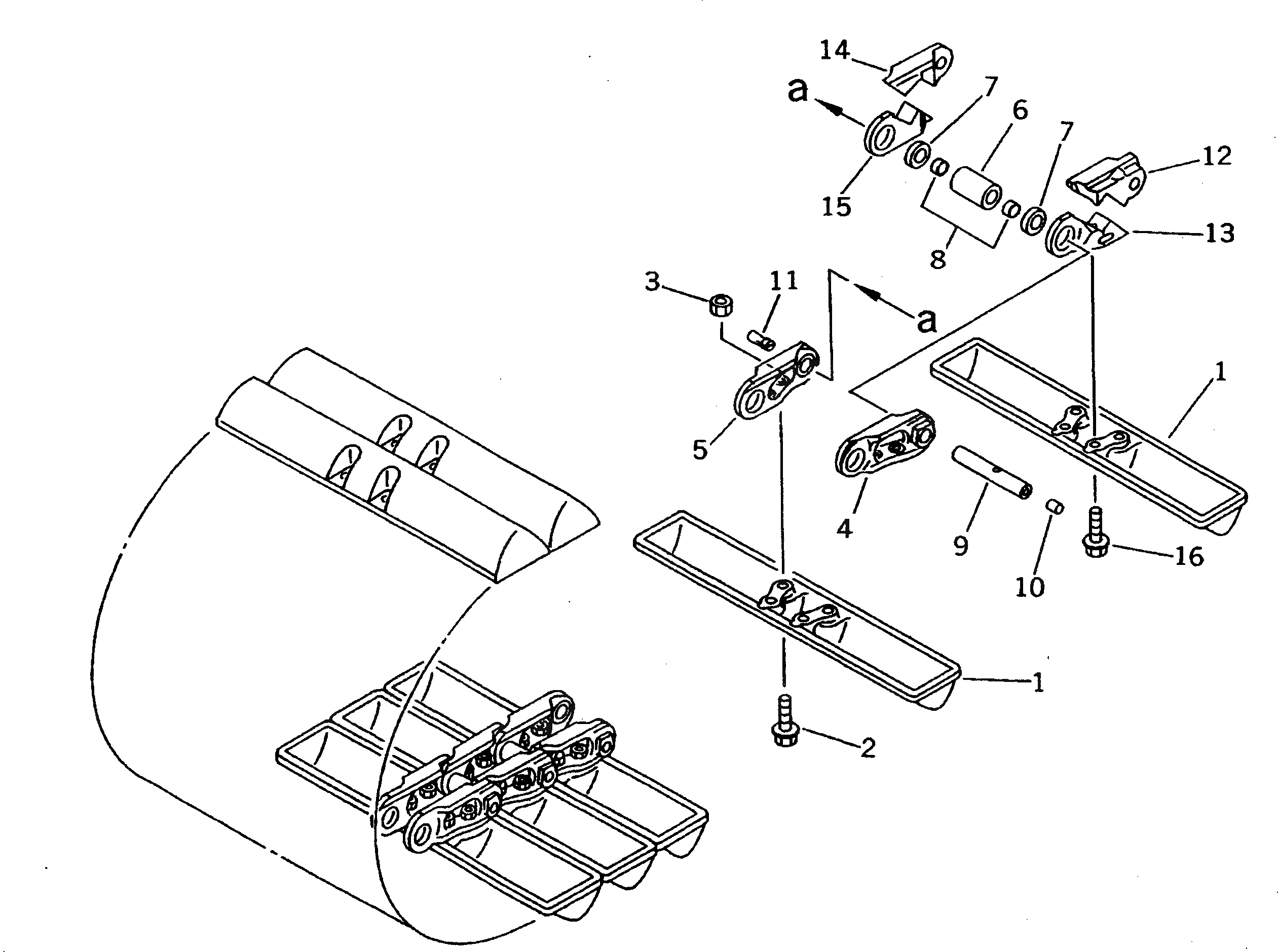
10G-A70-0103

TRACK SHOE ASS'Y

SN: 62001-UP

1шт.

1

10G-A70-4710

SHOE,TRACK

SN: 62001-UP

78шт.

2

10G-32-11212

BOLT¤ SHOE (KIT)

SN: 62001-UP

312шт.

3

201-32-11220

NUT¤ SHOE (KIT)

SN: 62001-UP

312шт.

|4

103-32-00012

TRACK LINK ASS'Y,(GREASE)

SN: 62001-UP

1шт.

4

101-32-11121

LINK,TRACK¤ L.H.

SN: 62001-UP

78шт.

5

101-32-11131

LINK,TRACK¤ R.H.

SN: 62001-UP

78шт.

6

101-32-11144

BUSHING,REGULAR

SN: 62001-UP

76шт.

7

101-32-11271

SEAL,DUST¤ REGULAR

SN: 62001-UP

152шт.

8

201-32-11151

PIN,REGULAR

SN: 62001-UP

76шт.

9

101-32-11173

BUSHING,MASTER

SN: 62001-UP

2шт.

10

101-32-11281

SEAL,DUST¤ MASTER

SN: 62001-UP

4шт.

11

201-32-11191

PIN,MASTER

SN: 62001-UP

2шт.

12

101-32-21220

LINK,MASTER¤ L.H.¤ PIN SIDE

SN: 62001-UP

4шт.

13

101-32-21230

LINK,MASTER¤ L.H.¤ BUSHING SIDE

SN: 62001-UP

4шт.

14

101-32-21320

LINK,MASTER¤ R.H.¤ PIN SIDE

SN: 62001-UP

4шт.

15

101-32-21330

LINK,MASTER¤ R.H.¤ BUSHING SIDE

SN: 62001-UP

4шт.

16

101-32-21260

BOLT,MASTER

SN: 62001-UP

16шт.

|$$21

SERVICE KIT

-1шт.

|2

10G-32-05001

SHOE BOLT AND NUT K.

SN: 62001-UP

1шт.

2

10G-32-11212

BOLT¤ SHOE

SN: 62001-UP

50шт.

3

201-32-11220

NUT¤ SHOE

SN: 62001-UP

50шт.

Выбрано товаров: 24