Запчасти Komatsu D21PL-7 РУЛЕВ. УПРАВЛЕНИЕ КОРПУС КРЫШКА(ДЛЯ MONO РЫЧАГ РУЛЕВ. УПРАВЛЕНИЕ) ОСНОВН. МУФТА¤ ДЕМПФЕР¤ ТРАНСМИССИЯ¤ РУЛЕВ. УПРАВЛЕНИЕ И КОНЕЧНАЯ ПЕРЕДАЧА

Схема запчастей Komatsu D21PL-7 - РУЛЕВ. УПРАВЛЕНИЕ КОРПУС КРЫШКА(ДЛЯ MONO РЫЧАГ РУЛЕВ. УПРАВЛЕНИЕ) ОСНОВН. МУФТА¤ ДЕМПФЕР¤ ТРАНСМИССИЯ¤ РУЛЕВ. УПРАВЛЕНИЕ И КОНЕЧНАЯ ПЕРЕДАЧА
FIT
1:1
100%

Артикул

Название

Примечание

Количество

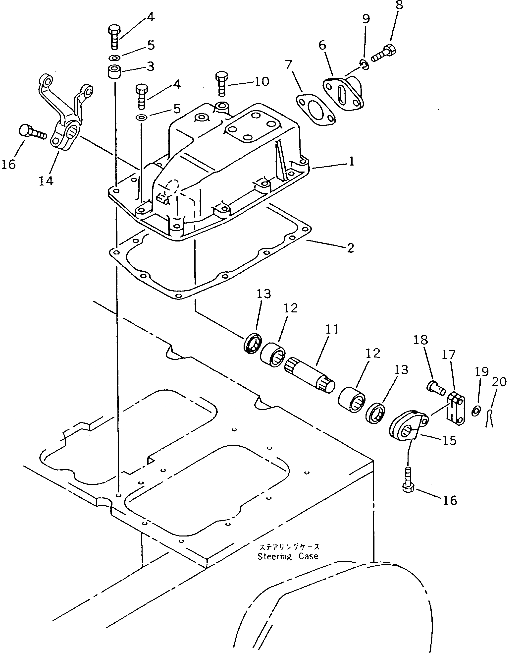
1

103-33-32112

COVER,L.H.

SN: 62001-UP

1шт.

|1

103-33-32122

COVER,R.H.

SN: 62001-UP

1шт.

2

103-33-32132

GASKET

SN: 62122-UP

2шт.

|2

0

GASKET

SN: 62001-62121

2шт.

3

103-21-31260

BOSS

SN: 62001-UP

6шт.

4

01010-51050

BOLT

SN: 62001-UP

18шт.

5

01643-51032

WASHER

SN: 62001-UP

18шт.

6

113-33-32290

CAP

SN: 62001-UP

2шт.

7

113-33-22171

GASKET

SN: 62122-UP

2шт.

|7

0

GASKET

SN: 62001-62121

2шт.

8

01010-51025

BOLT

SN: 62001-UP

4шт.

9

01602-21030

WASHER,SPRING

SN: 62001-UP

4шт.

10

01010-51016

BOLT

SN: 62001-UP

4шт.

11

103-33-32210

SHAFT

SN: 62001-UP

2шт.

12

06120-02216

BEARING

SN: 62001-UP

4шт.

13

06122-02204

SEAL,BEARING

SN: 62001-UP

4шт.

14

104-43-38592

LEVER,L.H.

SN: 62001-UP

1шт.

|14

104-43-38582

LEVER,R.H.

SN: 62001-UP

1шт.

|14

06600-01008

BUSHING

SN: 62001-62453

1шт.

15

103-33-32250

LEVER

SN: 62001-UP

2шт.

16

01010-51030

BOLT

SN: 62001-UP

4шт.

17

103-33-32240

YOKE

SN: 62001-UP

2шт.

18

04205-11032

PIN

SN: 62001-UP

4шт.

19

01641-21016

WASHER

SN: 62001-UP

4шт.

20

04050-13015

PIN,COTTER

SN: 62001-UP

4шт.

Выбрано товаров: 25