Запчасти Komatsu D21PL-7 РЫЧАГ УПРАВЛ-Я ТРАНСМИССИЕЙ (ДЛЯ F-R ТРАНСМИССИЯ) (/)(ДЛЯ TWO РЫЧАГИ РУЛЕВ. УПРАВЛЕНИЕ) СИСТЕМА УПРАВЛЕНИЯ

Схема запчастей Komatsu D21PL-7 - РЫЧАГ УПРАВЛ-Я ТРАНСМИССИЕЙ (ДЛЯ F-R ТРАНСМИССИЯ) (/)    (ДЛЯ TWO РЫЧАГИ РУЛЕВ. УПРАВЛЕНИЕ) СИСТЕМА УПРАВЛЕНИЯ
FIT
1:1
100%

Артикул

Название

Примечание

Количество

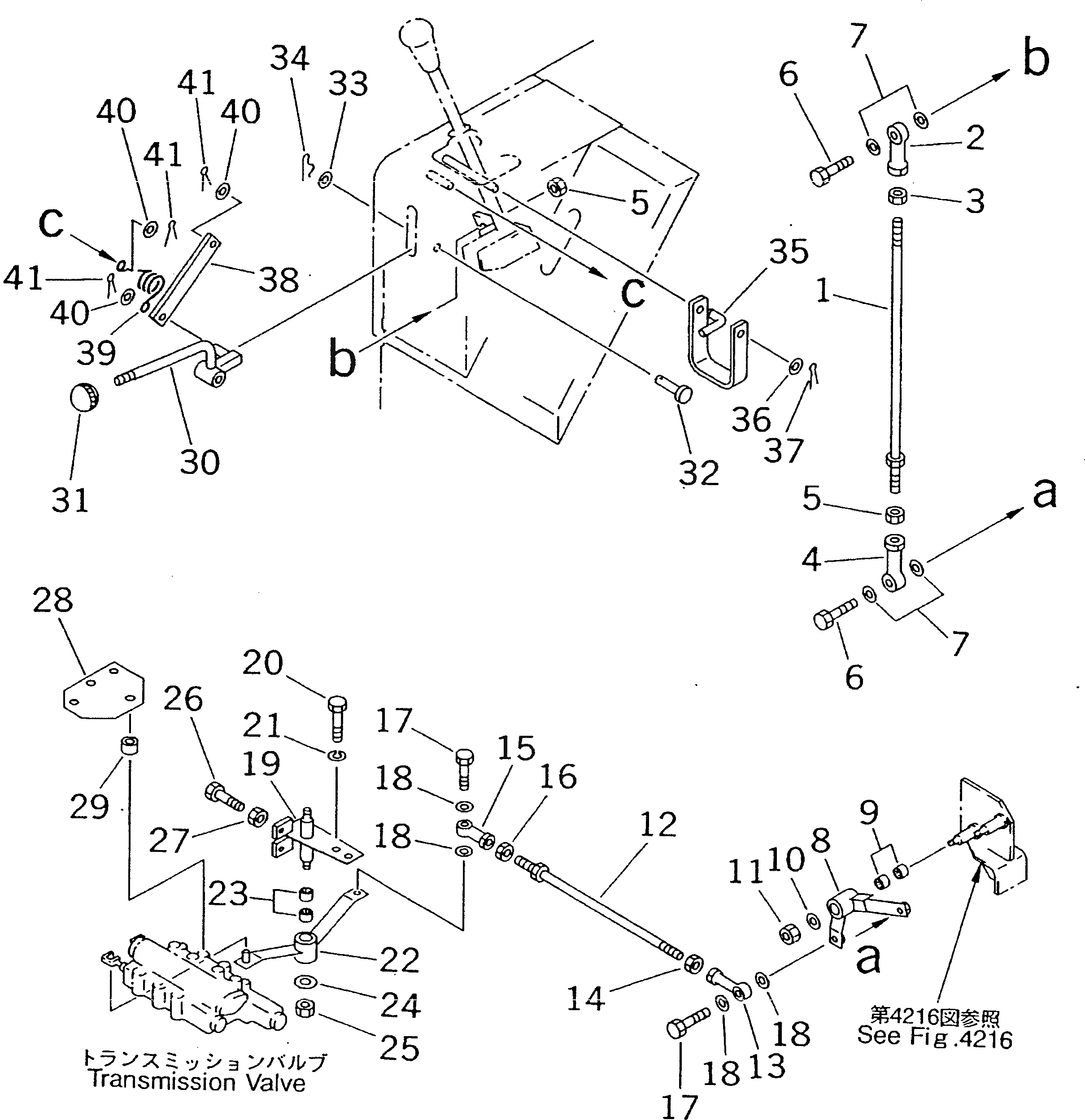
1

04248-30838

ROD

SN: 62001-UP

1шт.

2

04250-90847

END,ROD¤ L.H. THREAD

SN: 62001-UP

1шт.

3

01508-40805

NUT,L.H. THREAD

SN: 62001-UP

1шт.

4

04250-80847

END,ROD

SN: 62001-UP

1шт.

5

01580-10806

NUT

SN: 62001-UP

2шт.

6

01010-50830

BOLT

SN: 62001-UP

2шт.

7

01643-30823

WASHER

SN: 62001-UP

4шт.

8

104-43-38831

LEVER

SN: 62454-UP

1шт.

|8

104-43-38830

LEVER

SN: 62001-62453

1шт.

9

363-43-27250

BEARING

SN: 62001-UP

2шт.

10

113-43-23230

WASHER

SN: 62001-UP

1шт.

11

01598-00809

NUT

SN: 62001-UP

1шт.

12

04248-30831

ROD

SN: 62001-UP

1шт.

13

04250-90847

END,ROD¤ L.H. THREAD

SN: 62001-UP

1шт.

14

01508-40805

NUT,L.H. THREAD

SN: 62001-UP

1шт.

15

04250-80847

END,ROD

SN: 62001-UP

1шт.

16

01580-10806

NUT

SN: 62001-UP

1шт.

17

01010-50830

BOLT

SN: 62001-UP

2шт.

18

01643-30823

WASHER

SN: 62001-UP

4шт.

19

104-43-38991

BRACKET

SN: 62137-UP

1шт.

|19

104-43-38990

BRACKET

SN: 62001-62136

1шт.

20

01010-51025

BOLT

SN: 62001-UP

2шт.

21

01602-21030

WASHER,SPRING

SN: 62001-UP

2шт.

22

104-43-38140

LEVER

SN: 62001-UP

1шт.

23

363-43-27250

BEARING

SN: 62001-UP

2шт.

24

113-43-23230

WASHER

SN: 62001-UP

1шт.

25

01598-00809

NUT

SN: 62001-UP

1шт.

26

01010-50825

BOLT

SN: 62001-UP

2шт.

27

01580-10806

NUT

SN: 62001-UP

2шт.

28

104-43-38980

PLATE

SN: 62001-UP

1шт.

29

144-62-21270

SPACER

SN: 62001-UP

1шт.

30

104-43-41260

LEVER

SN: 62454-UP

1шт.

|30

104-43-38910

LEVER

SN: 62001-62453

1шт.

31

09304-10835

KNOB

SN: 62001-UP

1шт.

32

04205-11445

PIN

SN: 62001-UP

1шт.

33

01641-21423

WASHER

SN: 62001-62142

1шт.

34

04052-01453

PIN,SNAP

SN: 62001-UP

1шт.

35

103-43-34230

LEVER

SN: 62001-UP

1шт.

36

01641-21016

WASHER

SN: 62001-UP

1шт.

37

04050-12015

PIN,COTTER

SN: 62001-UP

1шт.

38

113-43-23330

LINK

SN: 62001-UP

1шт.

39

09463-00002

SPRING

SN: 62001-UP

1шт.

40

01641-20608

WASHER

SN: 62001-UP

3шт.

41

04050-11610

PIN,COTTER

SN: 62001-UP

3шт.

Выбрано товаров: 44