Запчасти Komatsu D21Q-5 КЛАПАН РУЛЕВОГО УПРАВЛЕНИЯ И ТРУБЫ СИСТЕМАУПРАВЛЕНИЯ ПОВОРОТОМ И КОНЕЧНАЯ ПЕРЕДАЧА

Схема запчастей Komatsu D21Q-5 - КЛАПАН РУЛЕВОГО УПРАВЛЕНИЯ И ТРУБЫ СИСТЕМАУПРАВЛЕНИЯ ПОВОРОТОМ И КОНЕЧНАЯ ПЕРЕДАЧА
FIT
1:1
100%

Артикул

Название

Примечание

Количество

|$0

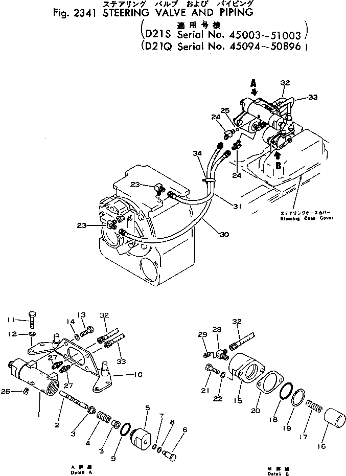
113-40-00011

VALVE ASS'Y

SN: .-50896

1шт.

|$1

0

VALVE ASS'Y

SN: 45094-.

1шт.

1

113-40-21210

BODY

SN: .-50896

1шт.

1

0

BODY

SN: 45094-.

1шт.

2

113-40-21120

SPOOL

SN: 45094-50896

1шт.

3

113-40-21130

CAP

SN: 45094-50896

4шт.

4

113-40-21140

SPRING

SN: 45094-50896

2шт.

5

113-40-21160

CAP

SN: 45094-50896

2шт.

6

113-50-21150

STEM

SN: 45094-50896

2шт.

7

07000-02012

O-RING

SN: 45094-50896

2шт.

8

07001-02012

RING,BACK-UP

SN: 45094-50896

2шт.

9

07000-03040

O-RING

SN: 45094-50896

2шт.

10

103-43-21251

BRACKET

SN: 45094-50896

1шт.

11

01010-31025

BOLT

SN: 45094-50896

4шт.

12

01602-01030

WASHER,SPRING

SN: 45094-@

4шт.

13

01010-31025

BOLT

SN: .-50896

4шт.

13

01010-31020

BOLT

SN: 45094-.

4шт.

14

01602-01030

WASHER,SPRING

SN: 45094-50896

4шт.

15

103-40-22113

CYLINDER

SN: 45094-50896

2шт.

16

113-40-22130

PISTON

SN: 45094-@

2шт.

17

234-15-15230

SPRING

SN: 45094-@

2шт.

18

07000-05055

O-RING

SN: 45094-@

2шт.

19

07001-05055

RING,BACK-UP

SN: 45094-@

2шт.

20

103-40-22121

GASKET

SN: 45094-@

2шт.

21

01010-31030

BOLT

SN: 45094-@

4шт.

22

01602-01030

WASHER,SPRING

SN: 45094-@

4шт.

23

113-40-23130

ELBOW

SN: 45094-50896

2шт.

24

113-40-23140

ADAPTER

SN: 45094-50896

2шт.

25

04260-00952

BALL

SN: 45094-50896

1шт.

26

07043-00211

PLUG

SN: 45094-50896

1шт.

27

102-49-41140

ADAPTER

SN: 45094-50896

2шт.

28

113-40-23180

ADAPTER

SN: 45094-50896

2шт.

29

07042-20108

PLUG

SN: 45094-50896

2шт.

30

103-40-23152

HOSE

SN: .-@

1шт.

30

0

HOSE

SN: 45094-.

1шт.

|$$36

(103-40-23152,101-04-12250)

-1шт.

31

103-40-23162

HOSE

SN: .-50896

1шт.

31

0

HOSE

SN: 45094-.

1шт.

|$$39

(103-40-23162,101-04-12250)

-1шт.

32

103-40-23182

HOSE

SN: .-50896

1шт.

32

0

HOSE

SN: 45094-.

1шт.

33

103-40-23172

HOSE

SN: .-50896

1шт.

33

0

HOSE

SN: 45094-.

1шт.

34

101-04-12250

CLIP ASS'Y

SN: .-@

1шт.

34

140-06-18310

CLIP

SN: 45094-.

1шт.

Выбрано товаров: 45