Запчасти Komatsu D21Q-5 МАРКИРОВКА (КРОМЕ ЯПОН.) (ДЛЯ АНГЛ.) ЧАСТИ КОРПУСА

Схема запчастей Komatsu D21Q-5 - МАРКИРОВКА (КРОМЕ ЯПОН.) (ДЛЯ АНГЛ.) ЧАСТИ КОРПУСА
FIT
1:1
100%

Артикул

Название

Примечание

Количество

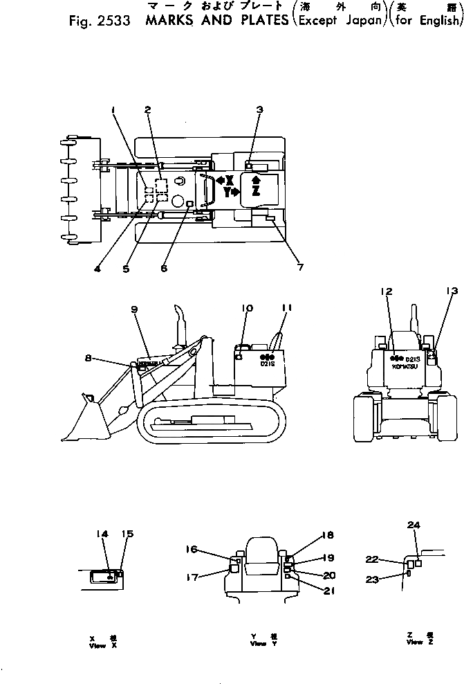
1

09650-30103

PLATE, INSTRUCTION,RADIATOR

SN: 45094-UP

1шт.

2

103-98-21340

CHART, OIL,OIL

SN: 45094-UP

1шт.

3

09674-38070

PLATE, OPERATING,BUCKET LEVER

SN: 45094-UP

1шт.

4

09668-03000

PLATE, SAFETY,RADIATOR WARNING

SN: 45094-UP

1шт.

5

09637-30160

PLATE, INSTRUCTION,AIR CLEANER

SN: 45094-UP

1шт.

6

09663-03000

PLATE, SAFETY,ENGINE WARNING

SN: 45094-UP

1шт.

7

09652-30101

PLATE, CAUTION,FUEL TANK

SN: 45094-UP

1шт.

8

09667-03000

PLATE, SAFETY,ENGINE ROOM

SN: 45094-UP

1шт.

9

09690-00355

PLATE, MARK,KOMATSU

SN: 45094-UP

2шт.

10

09601-00835

PLATE, NAME,(LIMITED SUPPLY)

SN: 45094-UP

1шт.

10

04418-13060

SCREW

SN: 45094-UP

4шт.

11

09691-02213

PLATE, MARK,D21S

SN: 45000-45000

2шт.

11

09691-02216

PLATE, MARK,D21Q

SN: 45094-UP

2шт.

12

09692-02213

PLATE, MARK,D21S

SN: 45000-45000

1шт.

12

09691-02216

PLATE, MARK,D21Q

SN: 45094-UP

1шт.

13

09653-03000

PLATE, SAFETY,HYDRAULIC TANK

SN: 45094-UP

1шт.

14

09683-30060

PLATE, OPERATING,STARTING SWITCH

SN: 45094-UP

1шт.

15

09651-03000

PLATE, SAFETY,BEFORE OPERATING

SN: 45094-UP

1шт.

16

09685-30116

PLATE, OPERATING,BUCKET LEVER LOCK

SN: 45094-UP

1шт.

17

103-98-21350

PLATE, CAUTION,OIL FILTER

SN: 45094-UP

1шт.

18

09685-30116

PLATE, OPERATING,MISSION LEVER LOCK

SN: 45094-UP

1шт.

19

09657-03010

PLATE, SAFETY,TRACK ADJUSTING

SN: 45094-UP

1шт.

20

113-98-21380

PLATE, CAUTION,ENGINE STOP

SN: 45094-UP

1шт.

21

09656-30080

PLATE, INSTRUCTION,STRAINER

SN: 45094-UP

1шт.

22

09654-03000

PLATE, SAFETY,WARNING

SN: 45094-UP

1шт.

23

09685-30016

PLATE, OPERATING,PARKING BRAKE

SN: 45094-UP

1шт.

24

09173-03000

PLATE, SAFETY,CAUTION

SN: 45094-UP

1шт.

Выбрано товаров: 27