Запчасти Komatsu D21Q-6 РАДИАТОР И ТРУБЫ КОМПОНЕНТЫ ДВИГАТЕЛЯ И ЭЛЕКТРИКА

Схема запчастей Komatsu D21Q-6 - РАДИАТОР И ТРУБЫ КОМПОНЕНТЫ ДВИГАТЕЛЯ И ЭЛЕКТРИКА
FIT
1:1
100%

Артикул

Название

Примечание

Количество

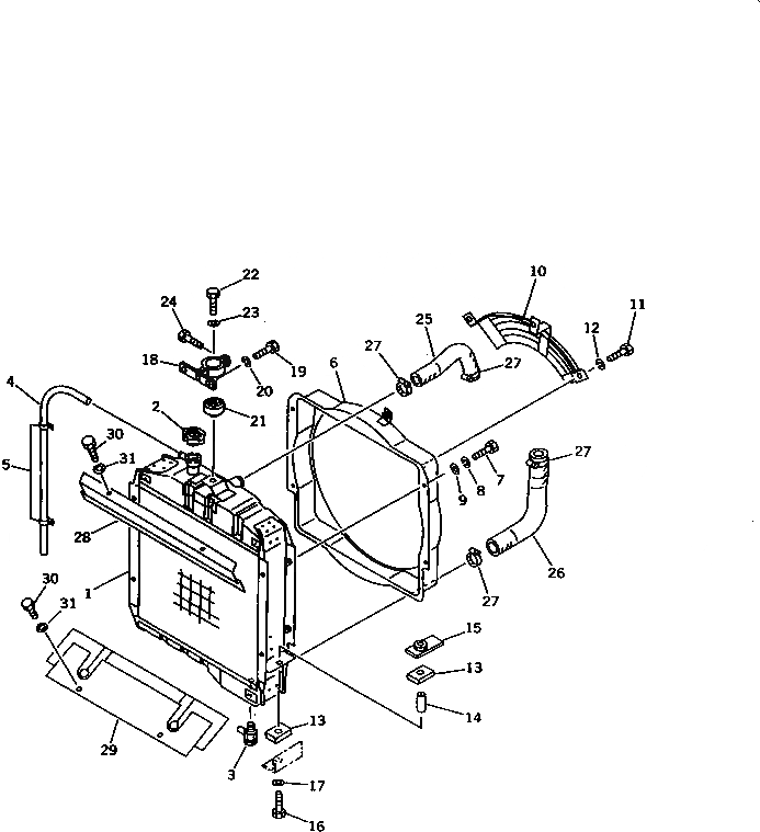
|1

103-03-00110

RADIATOR ASS'Y

SN: 60001-UP

1шт.

|1

103-03-00120

RADIATOR ASS'Y,(FOR LARGE CAPACITY RADIATOR)

SN: 60001-UP

1шт.

1

0

CORE ASS'Y

SN: 60001-UP

1шт.

|1

0

CORE ASS'Y,(FOR LARGE CAPACITY RADIATOR)

SN: 60001-UP

1шт.

2

10E-03-11130

CAP

SN: 60001-UP

1шт.

3

07730-10003

VALVE

SN: 60001-UP

1шт.

4

113-03-21140

TUBE

SN: 60001-UP

1шт.

5

08036-10814

CLIP

SN: 60001-UP

2шт.

6

103-03-31121

SHROUD

SN: 60001-UP

1шт.

|6

103-03-32120

SHROUD,(FOR LARGE CAPACITY RADIATOR)

SN: 60001-UP

1шт.

7

01010-50816

BOLT

SN: 60001-UP

4шт.

8

01602-20825

WASHER,SPRING

SN: 60001-UP

4шт.

9

01643-30823

WASHER

SN: 60001-UP

4шт.

10

103-03-31130

NET,WIRE

SN: 60001-UP

1шт.

11

01010-51020

BOLT

SN: 60001-UP

3шт.

12

01602-21030

WASHER,SPRING

SN: 60001-UP

3шт.

13

100-03-12140

SEAT

SN: 60001-UP

4шт.

14

20T-03-11130

SPACER

SN: 60001-UP

2шт.

15

103-03-21160

PLATE

SN: 60001-UP

2шт.

16

01010-51060

BOLT

SN: 60001-UP

2шт.

17

01602-21030

WASHER,SPRING

SN: 60001-UP

2шт.

18

103-03-31190

BRACKET

SN: 60001-UP

1шт.

19

01010-51025

BOLT

SN: 60001-UP

2шт.

20

01602-21030

WASHER,SPRING

SN: 60001-UP

2шт.

21

135-03-12110

DAMPER

SN: 60001-UP

1шт.

22

01010-51460

BOLT

SN: 60001-UP

1шт.

23

01602-21442

WASHER,SPRING

SN: 60001-UP

1шт.

24

01010-51025

BOLT

SN: 60001-UP

1шт.

25

103-03-31141

HOSE

SN: 60001-UP

1шт.

|25

103-03-32140

HOSE,(FOR LARGE CAPACITY RADIATOR)

SN: 60001-UP

1шт.

26

103-03-31151

HOSE

SN: 60001-UP

1шт.

27

207-09-11110

CLAMP

SN: 60472-UP

4шт.

|27

0

CLAMP

SN: 60001-60471

4шт.

28

103-03-31171

BAFFLE

SN: 60001-UP

1шт.

|28

103-03-32170

BAFFLE,(FOR LARGE CAPACITY RADIATOR)

SN: 60001-UP

1шт.

29

103-03-31180

BAFFLE

SN: 60001-UP

1шт.

30

01010-51020

BOLT

SN: 60001-UP

4шт.

31

01602-21030

WASHER,SPRING

SN: 60001-UP

4шт.

Выбрано товаров: 38